124155 (689871), страница 2
Текст из файла (страница 2)
Nu=
(1.9)
Для воздушного теплоносителя формулы (1.8) и (1.9) соответственно:
Nu=0,018Re0,8; (1.10)
Nu=0,13Re0,33Gr0,1. (1.11)
Для случая движения теплоносителя в межтрубном пространстве кожухотрубных теплообменников:
Nu=С(dеRe)0,6Pr0,33, (1.12)
| где | С – коэффициент, который учитывает присутствие сегментных перегородок в межтрубном пространстве; dе – эквивалентный диаметр межтрубного пространства, (м). |
, (1.13)
| где | f – плоскость поперечного сечения потока, (м2); П – периметр сечения потока, (м); D – внутренний диаметр кожуха, (м); d – внешний диаметр трубы, (м); z – количество ходов по трубному пространству; n – количество труб в одном ходе. |
При поперечном обтекании пучка труб (угол атаки 90о), шахматном и коридорном расположении труб соответственно:
Nu=
(1.14)
Nu=
(1.15)
Среднюю разность температур
, (0С), в случае прямотечения и противотечения определяют как среднелогарифмическую разность:
, (1.16)
| где | tб, tм – большая и меньшая разности температур между теплоносителями на концах теплообменника, (0С). |
Если
2, то среднелогарифмическую разность можно заменить без заметной погрешности среднеарифметической разностью:
. (1.17)
Для аппаратов с перекрестным и смешанным течением теплоносителей средняя разность температур находится путем умножения значения среднелогарифмического температурного напора достигаемого при противотечейной схеме движения теплоносителей на поправочный коэффициент, который определяется по справочникам [4-6].
1.1 Кожухотрубный теплообменник
Для проведения процесса пастеризации продукта выбирается кожухотрубная конструкция теплообменника.
К
Рисунок 1- Кожухотрубный теплообменник
ожухотрубные теплообменники наиболее широко распространены впищевых производствах.
Кожухотрубный вертикальный одноходовой теплообменник
с неподвижными трубными решетками (см. рис. 1) состоит из цилиндрического корпуса-1, который с двух сторон ограничен приваренными к нему трубными решетками-2 с закрепленными в них греющими трубами-3 (см. рис. 2), концы которых закреплены в специальных трубных решетках путем развальцовки, сварки, пайки, а иногда на сальниках. Пучок труб делит весь объем корпуса теплообменника на трубное пространство, заключенное внутри греющих труб, и межтрубное. К корпусу прикреплены с помощью болтового соединения два днища-5. Для ввода и вывода теплоносителей корпус и днища имеют патрубки-4. Один поток теплоносителя, например жидкость, направляется в трубное пространство, проходит по трубкам и выходит из теплообменника через патрубок в верхнем днище. Другой поток теплоносителя, например пар, вводится в межтрубное пространство теплообменника, омывает снаружи греющие трубы и выводится из корпуса теплообменника через патрубок.
Кожухотрубные теплообменники могут быть с неподвижной трубной решеткой или с температурным компенсатором на кожухе, вертикальные или горизонтальные. В соответствии с ГОСТ 15121-79, теплообменники могут быть двух- четырех- и шестиходовыми по трубному пространству.
Греющие трубы в трубных решетках размещают несколькими способами: по сторонам и вершинам правильных шестиугольников(в шахматном порядке), по сторонам и вершинам квадратов (коридорное) и по концентрическим окружностям. Такие способы размещения обеспечивают создание компактной конструкции теплообменника.
Из-за маленькой скорости движения теплоносителей одноходовые теплообменники характеризуются низкими коэффициентами теплоотдачи. С целью интенсификации теплообмена в кожухотрубных теплообменниках пучок труб секционируют, разделяют на несколько секций (ходов), по которым теплоноситель проходит последовательно. Разбивка труб на ряд ходов достигается с помощью перегородок в верхнем и нижнем днищах. Так же секционировать можно и межтрубное пространство за счет установки направляющих перегородок. Благодаря всем этим способам достигается повышение скорости теплоносителя, что приводит к увеличению коэффициента теплоотдачи в трубном пространстве.
При проектировании кожухотрубных теплообменников теплоноситель, который наиболее загрязняет поверхность теплообмена, направляют в трубное пространство, которое легче очищать.
1.2 Ообщие сведения о развальцовке труб теплообменника
Наиболее распространенный способ крепления труб в решетке — развальцовка. Трубы вставляют в отверстия решетки с некоторым зазором, а затем обкатывают изнутри специальным инструментом, снабженным роликами (вальцовкой). При этом в стенках трубы создаются остаточные пластические деформации, а в трубной решетке — упругие деформации, благодаря чему материал решетки после развальцовки плотно сжимает концы труб. Однако при этом материал труб подвергается наклепу (металл упрочняется с частичной потерей пластичности), что может привести к растрескиванию труб. С уменьшением начального зазора между трубой и отверстием в решетке наклеп уменьшается, поэтому обычно принимают зазор 0,25 мм. Кроме этого для обеспечения качественной развальцовки и возможности замены труб необходимо, чтобы твердость материала трубной решетки превышала твердость материала труб.
Развальцовочное соединение должно быть прочным и плотным (герметичным). Прочность соединения оценивают усилием вырыва трубы из гнезда, плотность — максимальным давлением среды, при котором соединение герметично.Развальцовка является наиболее распространенным способом получения прочных и герметичных соединений труб с трубными решетками (коллекторами) теплообменных аппаратов.
Для получения надежного соединения трубы с трубной решеткой (коллектором) необходимо выполнить следующее условие:
D' = Dо +
+ KxS,
где D'- расчетный внутренний диаметр трубы после развальцовки
Dо- внутренний диаметр трубы до развальцовки
- диаметральный зазор между трубой и трубной решеткой
(
= Dотв - Dн)
S-толщина стенки трубы
К- коэффициент, учитывающий тип теплообменного аппарата:
К = 0,1 - для конденсаторов, маслоохладителей, водоподогревателей, испарителей, бойлеров и т.п.
К = 0,2 - для котлов
Для того, чтобы правильно выбрать инструмент для развальцовки труб в трубных решетках, необходимо располагать следующей информацией:
-
материал трубной решетки;
-
диаметр отверстий трубной решетки “Dотв” (см. рис. 3);
-
толщина трубной решетки “H” (см. рис. 3);
-
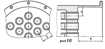
шаг перфорации (расстояние между центрами соседних отверстий) “t” (см. рис. 10);
-
наличие в отверстиях трубной решетки уплотнительного рельефа, формируемого шариковым раскатником (см. рис. 4);
-
наличие в трубной решетки канавок (см. рис. 5);
-
наличие двойных трубных решеток, их толщины “Н1” и “Н2” и расстояние “B” между трубными решетками (см. рис.9);
-
материал трубы;
-
наружный диаметр трубы "Dн" (см. рис.6);
-
толщина стенки трубы "S" (см. рис.6);
-
высота выступания труб "h" над плоскостью трубной решетки (см. рис.6);
-
глубина развальцовки труб "L" (см. рис.6);
-
наличие отбуртовки конца трубы (см. рис.8);
-
наличие сварки в соединении трубы с трубной решеткой (см. рис.7)
2 Расчетно-конструкторская часть.
2.1 Тепловой расчет аппарата.
Исходные данные. Проектируемый кожухотрубный теплообменник предназначен для пастеризации продукта от начальной (на входе в аппарат) температуры t1=12 0С, до конечной (на выходе из аппарата) t2=70 0С. Производительность аппарата G=2,8
. Продукт попадает в трубное пространство принудительно с помощью насоса и двигается по трубам со скоростью w=2,0
. Греющий пар подводится в меж трубное пространство с температурой tп=140 0С. Теплообменные трубы 302,5 мм (внешний диаметр d=30 мм, толщина стенки ст=2,5 мм), длина труб в пучке lТ=2,5 г. Материал труб — медь, толщина слоя загрязнения на поверхности трубок =0,001 г, абсолютная шероховатость внутренней стенки трубки =0,01. Коэффициент полезного действия (к.п.д) насоса
=0,8.
Средняя разность температур теплоносителя и продукта
, 0С (по формуле (1.16)):
,
tб=tп-t1=140-12=128 0С, (2.1)
tм=tп-t2=140-70=70 0С. (2.2)
Так как
=1,8292, то средний температурный напор можно находить с определенной точностью как среднеарифметическую разность (соответственно формуле (1.17)):
0С.
Средняя температура продукта tср, 0С:















