124079 (689806), страница 4
Текст из файла (страница 4)
Расчёт норм времени производим на растачивание. Станок токарно-револьверный 1Е325.
Основное время для обработки поверхности О 70 l=9.2мм определяют по формуле:
Для чернового растачивания.
Tв =tус +Тзо +tуп +tиз,
Где tус-время на установку и снятие детали
Тзо- время на закрепление и открепление
Tуп- время на управление
Tиз-время на измерение
Tв=0,06+0,094+0,02+0,11 = 0,284
Тшт=t o+tв = 0,034+0,284 =0,318
Для чистового растачивания
Тв=Ту.с. +Тз.о +Туп +Тиз
Тв= 0,06 + 0,094 + 0,02 + 0,011 = 0,284 мин
Тшт=Т0 +Тв = 0,043 + 0,284 =0,327 мин
Время для обработки поверхности 70 l = 2,5 мм
Тв = Ту.с +Тз.о. +Туп +Тиз
Тв = 0,06 + 0,094 + 0,01 + 0,09 = 0,272 мин
Тшт =Т0 +Тв
Тшт = 0,01 + 0,272 = 0,282 мин
Время на чистовую обработку
Тв = Ту.с +Тз.о.+Туп +Тиз
Тв = 0,06 + 0,094 + 0,02 + 0,011 = 0,284 мин
Тшт = Т0 +Тв
Тшт = 0,013 + 0,284 = 0,297 мин
11. Проектирование станочного приспособления
Станочные приспособления (СП) применяют для установки заготовок на металлорежущие станки. В соответствии с требованиями ЕСТПГ1 различают: три вида СП - специальные (одно-целевые, непереналаживаемые), специализированные (узкоцелевые, ограниченно переналаживаемые), универсальные (многоцелевые, широкопереналаживаемые); семь стандартных систем СП - универсально сборные (УСП), сборно-разборные (СРП), универсальные безналадочные (УБП), неразборные специальные (НСП), универсальные наладочные (УНП), специализированные наладочные (СНП), агрегатные средства механизации зажима (АСМЗ).
Обоснованное применение СП позволяет получать высокие технико-экономические показатели. Трудоемкость и длительность цикла технологической подготовки производства, себестоимость продукции можно уменьшить за счет применения стандартных систем СП, сократив трудоемкость, сроки и затраты на проектирование и изготовление СП. В условиях серийного машиностроения выгодны системы УСП, СРП, УНП, СНП и другие СП многократного применения. Производительность труда значительно возрастает (на десятки - сотни процентов) за счет применения СП: быстродействующих с механизированным приводом, многоместных, автоматизированных, предназначенных для работы в сочетании с автооператором или технологическим роботом.
Точность обработки деталей по параметрам отклонений размеров, формы и расположения поверхностей увеличивается (в среднем 20 - 40 %) за счет применения СП точных, надежных, обладающих достаточной собственной и контактной жесткостью, с уменьшенными деформациями заготовок и стабильными силами их закрепления. Применение СП позволяет обоснованно снизить требования к квалификации станочников основного производства (в среднем на разряд), объективно регламентировать длительность выполняемых операций и расценки, расширить технологические возможности оборудования.
СП состоят из корпуса, опор, установочных устройств, зажимных механизмов (зажимов), привода вспомогательных механизмов, деталей для установки, направления и контроля положения режущего инструмента. Графические обозначения опор и зажимных механизмов регламентированы ГОСТ 3.1107-81
11.1 Расчет режимов обработки отверстий
Для сверления отверстий применим спиральные сверла оснащенные пластинками из твердого сплава ВК6; D = 5,2 мм ГОСТ 22735-77.
Выбор оборудования.
Для сверления отверстий выбираем вертикально сверлильный станок модели 2М-112, который имеет следующие характеристики:
Мощность электродвигателя: 4 кВт;
Частота вращения:
-выдвижного шпинделя: от 20 до 2000 мин-1
Подача:
-шпинделя: 0.056…..2,5 мм/об
Глубина резания
мм
/об
мин
Скорость резания
Частота вращения
Осевая сила
Крутящий момент
Мощность резания
11.2 Разработка принципиальной схемы базирования и закрепления детали. Определение погрешности изготовления в приспособлении
При проектировании процесса технолог выявляет установочные базы детали для каждой операции, а при вычерчивании эскизов обработки намечает принципиальную схему базирования и закрепления детали в приспособлении.
Описание работы приспособления
Корпус перемещения пиноли устанавливается на пальцы в скальчатый кондуктор. Подается давление воздуха в верхнюю часть пневмоцилиндра, соответственно поршень движется вниз, перемещая на штоке верхнюю кондукторную плиту. Происходит зажим детали между кондукторной плитой с кондукторными втулками и нижней подставкой, установленной на нижней плите скальчатого кондуктора. Деталь базируется на установочные пальцы.
11.3 Расчет точности размера 70+0,046
Используя схему базирования, альбом типовых узлов и механизмов приспособлений, альбом силовых приводов и их элементов, альбом конструкций универсальных, групповых и специальных приспособлений для типовых деталей конструируем приспособление и представляем в графическую часть проекта.
Для расчета погрешности изготовления воспользуемся основной формулой погрешности:
где
Т – допуск по чертежу на выполняемый размер;
- сумма систематических погрешностей
k – коэффициент, зависящий от закона рассеивания случайной погрешности равный 1…1,5. если закон распределения случайных величин неизвестен, то при работе на настроенных станках общий коэффициент равен 1,2
ε – погрешность базирования
- погрешность закрепления;
- погрешность установки;
- прочие погрешности.
Проанализируем факторы влияющие на точность размера 70+0,046 в обработанной детали.
1. Погрешность базирования (ε) равна нулю, так как совмещены измерительная и установочная базы.
2. Под влиянием усилия зажима призмой сместится ось отверстия за счет смятия поверхностей. Это является ошибкой закрепления (
), но так как известно направление смещения и по таблицам можно определить его величину, то эту погрешность относим к систематическим (
=
).
К прочим погрешностям относятся: точность размера в кондукторной плите, выраженная допуском Тк на этот размер, Z - зазор между установочным пальцем и отверстием
5,2, зазор Z1 между кондукторной втулкой и сверлом, эксцентриситет е кондукторной втулки, увод сверла
за счет его наклона в кондукторной втулке. Ввиду того, что конкретные величины отмеченных факторов и векторы их направления неизвестны, для обработки определенной детали из партии относим их к случайным факторам, действующим независимо друг от друга.
С учетом вышесказанного запишем формулу для определения погрешности межосевого расстояния:
В кондукторах для обработки отверстий допуск на межцентровое расстояние втулок Тк принимается равным 0,05...0,1 мм. Эксцентриситет кондуктора втулок е практически равен 0,005...0,01 мм.
Величины зазора (Z1,) определяем как разность максимального диаметра втулки и минимального диаметра сверла
Возможный наибольший увод сверла будет (рис. 2):
=Z1 (0,5h + b + a)/h = 0.127(0,5*0.127 +10 + 20) /20 = 0.19мм.
;
;
;
Рис.1.Схема положения сверла для расчета.
Расчет показал, что спроектированный кондуктор обеспечивает требуемую точность. Если бы она не была обеспечена, то следовало бы уменьшить размеры величин, входящих в последнюю формулу, изменяя посадки для уменьшения смещения осей базирующего отверстия и сверла, применяя двухъярусное расположение кондукторных втулок для уменьшения увода сверла
11.4 Расчет усилий зажима приспособления
При установке детали в скальчатый кондуктор должно обеспечиваться надежное закрепление детали от действия крутящего момента способствующего проворачиванию детали при сверлении и сдвига в осевом направлении под действием осевой составляющей силы резания.
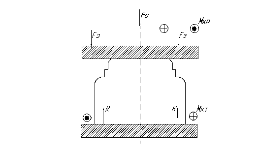
Так как мы обрабатываем отверстие сверлом то в зоне резания возникает момент, который старается повернуть деталь. Чтобы не было проворачивания детали необходимо чтобы сила зажима была выше чем момент резания. Для этого рассчитаем силу зажима: (Рис 2)
где r1 и r2 средний радиус площади трения
;
; Мр = 4Нм
k –поправочный коэффициент запаса
k=k0 * k1 * k2 * k3 * k4 * k5 * k6 =1.8
где
- коэффициент трения равный 0,18
Подставим данные в уравнение
Найдем усилие зажима детали в осевом направлении. Сила зажима должна превышать составляющую силы резания в осевом направлении: Fз =k*P0, где k - коэффициент запаса, Р0 - осевая составляющая силы резания (Р0 = 1333 Н). Подставив эти данные в расчетную формулу, найдем необходимое усилие зажима:
Fз = 1,8*1333 = 2399Н
Осевую силу Р0 не учитываем так как она способствует зажиму, причем при выходе сверла она исчезает.
Рис.3 Схема расположения сил при зажиме детали.
12. Расчет измерительного приспособления
Измерительные приборы – средства измерений, предназначенные для получения значений измеряемой физической величины в установленном диапазоне. Измерительные приборы, как правило, содержат устройства для преобразования измеряемой величины сигнал измерительной информации и его индикации в форме, доступной для восприятия. Устройства для индикации имеет шкалу со стрелкой, диаграмму с пером или цифру указатель, с помощью которых можно отсчитывать или регистрировать значение физической величины. При сопряжении прибора с мини-ЭВМ отсчет можно производить с дисплея.
По степени индикации измеряемой величины измерительные приборы делят на показывающие и регистрирующие.
По действию измерительные приборы делят на интегрирующие, суммирующие, различают приборы прямого действия и приборы сравнения.















