123926 (689715), страница 4
Текст из файла (страница 4)
В соответствии с выбором материалов и методов обработки был произведен подбор оборудования для изготовления формы для младших школьников. Характеристики применяемого оборудования представлены в таблице № 3.
Таблица № 3. Характеристика применяемого оборудования
| Класс машины и завод изготовления | Назначение машины | Толщина стачиваемых материалов, мм | Скорость оборотов главного вала, об/мин | Вид и размер стежка, количество нитей в строчке, способ переплетения | Средства малой механизации | Примечание | ||
| 1022‑М «Орша» | Предназначена для пошива изделий из ткани костюмной и пальтовой групп | До 5 мм | 4500 | Двухниточный челночный стежок. Длина стежка от 2 мм до 5 мм. | Лапка для подгибания среза. Лапка для застрачивания складок и защипов. Лапка для изготовления съемных поясов. | |||
| 51‑А «Подо-льск» | Предназначена для обметывания срезов материалов из деталей пальтовых и костюмных групп. | До 4 мм | 3500 | Трехниточный цепной стежок. Длина стежка 4 мм, ширина обметывания 3 – 5 мм | Для обрезки срезов имеется 2 ножа | Дифференциальный механизм перемещения материалов реечного типа. | ||
| 51–2845 «Агат» | Предназначена для стачивания деталей с одновременным обметыванием среза из тканей легких и костюмных групп | До 5 мм | 6000 | Стачивание – двухниточный цепной стежок, обметывание – трехниточный цепной стежок. Длина стежка 4 мм, | 2 ножа для обрезки срезов. Дифференциальный механизм перемешения материалов реечного типа. | Ширина обметывания 3,2 – 6,3 мм, расстояние между параллельными строчками 3,2 мм, ширина шва от 6,4 до 9,5 | ||
| 302 «Подо-льск» | Предназначена для втачивания рукавов в пройму из тканей пальтовых и костюмных групп. | До 6 мм | 2500 | Двухниточный челночный стежок. Длина стежка до 3 мм | Лапка с двумя направляющими линейками | Дифференциальный механизм перемещения материалов. | ||
| 97‑А «Орша» | Предназначена для пошива изделий из легких и костюмных материалов | До 4 мм | 5500 | Двухниточный челночный стежок. Длина стежка до 4 мм | Лапка с откидной линейкой. | |||
| 852x38 «Подо-льск» | Предназначена для стачивания поясов двумя параллельными строчками. | До 4 мм | 2000 | Двухниточный челночный стежок. Длина стежка до 3 мм | Лапка для обработки цельнокройных поясов | Расстояние между строчками 38 мм | ||
| 2222‑М «Орша» | Предназначена для выметывания бортов, лацканов, воротников в верхней одежде. | До 6 мм | 3000 | Однониточный цепной стежок. Длина стежка 2 – 12 мм | Лапка с откидной линейкой. | Строчка является временного назначения. | ||
| 62761‑Р‑3 «Мине-рва» | Предназначена для изготовления прямых петель и петель с глазком | До 4 мм | 600 | Двехниточный челночный зигзагообразный стежок | Приспособление для обметывания петель без разметки их места расположения | |||
| Сs‑600 «Пан-нония» | Предназначена для пришивания плоских пуговиц с 4 отверстиями на нитяной ножке. | - | 1000 | Однониточный цепной стежок | Пуговицедержатель. | Механизм обвивки нитяной ножки | ||
| 745 «Дюркопп» | Предназначена для обработки прорезных карманов. | До 6 мм | Приспособление для сборки прорезных карманов. Лапка для притачивания обтачек. | Машина выполняет притачивание деталей кармана, прорезание входа в карман, обрезку ниток и насекание уголков. | ||||
1.3.3 Режимы обработки материалов на машинах
На основание выбранных материалов и оборудования для проектируемых моделей формы для младших школьников составляются режимы обработки на машинах (таблица № 4).
Таблица № 4. Режимы обработки материалов на машинах
| Наименование материалов | Класс машины | Номер иглы | Толщина швейных ниток, текс | Ширина шва, мм | Количество стежков в см |
| Материал верха | 1022‑М «Орша» | 0203 – № 100 | 43,6 | 10 | 4–5 |
| 51–2845 «Агат» | АZ 8032 Н – № 13 | 43,6 | 9,5 | 4 | |
| Подкладочный материал | 97‑А «Орша» | 0052–02 – № 75 | 40 | 10 | 4–5 |
1.3.4 Режимы влажно-тепловой обработки
В соответствии с выбранными материалами для моделей формы для младших школьников выбираются режимы влажно-тепловой обработки (Таблица № 5).
Таблица № 5. Режимы влажно-тепловой обработки
| Узел обработки | Вид материала | Марка оборудования | Температура гладильной поверхности пресса | Время выдержки пресса, с | Давление пресса, кг/см2 | Увлажнение, % |
| Заутюживание швов, Приутюживание изделий | Материал верха | Cs -371 | 160 | 15 | 3*104 Па | 20 |
| Приутюживание подкладки | Подкладочный материал | Cs -371 | 145 | 10 | 3*104 Па | 20 |
1.3.5 Схемы методов обработки узлов, с учетом выбранного оборудования
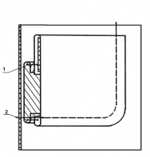
| Рисунок 8 Основной шов соединения деталей в моделях: А, Б, В, Г, Д. | Рисунок 9 Основной шов соединения деталей в моделях: А, Б, В, Г, Д. | ||
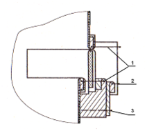
| Рисунок 10 Обработка борта в моделях: А, Б, В, Г, Д. | Рисунок 11 Обработка воротника в моделях: А, Б, В, Г, Д. | ||
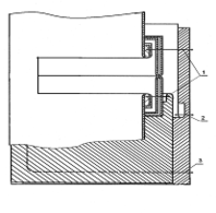
| Рисунок 12 Втачивание рукава в пройму в моделях: А, Б, В, Г, Д. | Рисунок 13 Обработка притачного пояса в моделях: Б, В, Г, Д. | ||
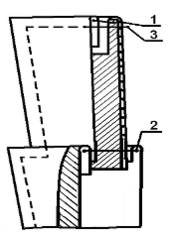
| Рисунок 14 Обработка кармана в рамку в модели В. | Рисунок 15 Обработка кармана с листочкой в модели Б. | ||
| Рисунок 16 Обработка боковых кармана в брюках, в моделях: В и Д. | Рисунок 17 Обработка накладного кармана в моделях: А, Г, Д. | ||
| Рисунок 18 Обработка манжеты брюк в модели Д. | Рисунок 19 Обработка низа жакета и низа рукавов в моделях: А, Б, В, Г, Д. | ||
| Рисунок 20 Обработка тесьмы-молнии в поясных изделиях, в моделях: А, Б, В, Г, Д. | Рисунок 21 Обработка низа в поясных изделиях в моделях: Б, В, Г, Д. | ||
1.3.6 Эффективность выбранных методов обработки
Эффективность методов обработки определяется путем обработки однородных узлов разными методами и на различном оборудование. Расчет производительности труда (РПТ) определяется по формуле:















