123620 (689536), страница 2
Текст из файла (страница 2)
Машины применяются в кондитерских цехах предприятий общественного питания для взбивания сливок, яиц, кремов и других продуктов.
Взбивание осуществляется энергичным и довольно длительным воздействием рабочих органов на продукты. В результате происходит перемешивание частичек продуктов с воздухом, который равномерно распределяется по всей смеси в виде отдельных мелких пузырьков, придавая ей пышность. Насьщение жидкой смеси воздухом осуществляется главным образом, за счет сложного движения месильных лопастей, имеющих сил развитую поверхность и обтекаемую форму.
Классификация взбивальных машин
Для взбивания продуктов применяются различные типы взби вальных машин, которые по своему устройству можно классу фицировать следующим образом.
С несъемными взбивателями (МВД-60) предназначаются для замеса высоковязких смесей. К достоинствам этих машин относятся:
-
жесткость и прочность рабочих органов;
-
сравнительная простота конструкции и возможность применения стандартных редукторов и передач;
-
безопасность обслуживания.
К недостаткам этих машин следует отнести;
-
малую частоту вращения взбивателей;
-
наличие одной скорости вращения;
-
затруднение санитарной обработки при переходе от одного вида полуфабриката к другому.
Конструкция машин с горизонтальным расположением рабочего вала и съемными рабочими органами, также проста и технологична. Преимущества и недостатки этих машин аналогичны Вписанным выше.
Машины с вертикальным расположением рабочего вала обладают рядом преимуществ по сравнению с машинами, имеющими горизонтальное расположение вала. Так, упрощают обслуживание наличие сменных бачков разной емкости и возможность их быстрой замены, а также возможность регулирования скоростей и взаимозаменяемость взбивателей различной конструкции.
Эти машины делятся на две большие группы: машины с вращением взбивателя вокруг неподвижной оси и машины с планетарным вращением взбивателя, т. е. совершающие одновременное вращение вокруг оси бачка и вокруг собственной оси.
Устройство взбивальных машин
На предприятиях общественного питания применяются кремо- взбивательные машины МВ-6; МВ-35М; МВ-60 с индивидуальным электродвигателем и сменные механизмы МС4-7-8-20', МВП-П-I; в стадии освоения находится машина МВУ-100.
Перечисленные машины имеют аналогичное устройство и различаются лишь габаритными размерами и передаточным механизмом. Для изменения скорости движения лопастей используется вариатор скоростей или коробка передач.
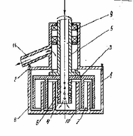
Камерой для обработки служит цилиндрический месильный бачок со сферическим днищем. Рабочими инструментами являются различные виды взбивателей (плоскорешетчатые, венчики, крюкообразные), которые крепятся к рабочему валу, расположенному эксцентрично по отношению к оси приводного валаНа конце рабочего вала насажена шестерня, которая входит в зацепление с неподвижным «солнечным» колесом, ось которого Совпадает с осью приводного вала. Вращение взбивателю передается от приводного вала с помощью «водила», выполненного в виде крышки. За счет планетарной передачи взбиватель совершает сложное движение вокруг собственной оси и вокруг оси приводного вала.
Машина МВУ-60.
Рис. 2. Общий вид МВУ-60
Корпус редуктора взбивального механизма вставляют цилиндрическим хвостовиком в горловину соответствующего универсального привода и надежно закрепляют.
Бачок взбивального механизма или машины устанавливают на кронштейне, предварительно поместив в него соответствующий взбиватель, который подсоединяют к рабочему валу. Между взбивателем и дном бачка оставляют зазор не более 5 мм. Перед включением крышку планетарного редуктора поворачивают вручную, чтобы убедиться, что взбиватель не касается стенок и дна бачка. В машинах МВУ-60 бачок с продуктами, помещенный на тележку, закатывают на литое основание, при этом цапфы бачка располагаются выше кронштейна. На бачок устанавливают надставку с загрузочным лотком и нажимают на кнопку «Вниз», при этом кронштейн, двигаясь вверх, подхватывает бачок за цапфу я снимает его с тележки, а приводная головка с закрепленным на ней взбивателем опускается вниз. Когда взбиватель полностью погрузится в бачок, концевой выключатель отключает электродвигатель и включает тормоз. Тележку скатывают с основания, а бачок закрепляют зажимами.
Перед взбиванием продукты охлаждают и загружают ими бачок на V2 или 2/3, так как в процессе взбивания объем продуктов значительно увеличивается.
Необходимую частоту вращения взбивателя устанавливают до включения его в работу поворотом рукоятки, так как в противном случае кулачки муфт быстро срабатываются. Если до окончания процесса взбивания необходимо перейти на другую частоту вращения, механизм или машину останавливают и, переключив рукоятку, включают их вновь.
В машинах МВУ-60 (освобождают зажимы бачка и подкатывают под него тележку. Затем нажимают на кнопку «Вверх». Бачок, опускаясь, опирается на тележку, и его цапфы выходят из зацепления с кронштейном; при крайнем верхнем положении приводной головки концевой выключатель отключает электродвигатель и включает тормоз.
Не снимая взбивателя с вала, счищают с него налипшую массу в бачок. Бачок можно опорожнить непосредственно на машине.
После окончания работы взбиватель и бачок снимают, промывают горячей водой и просушивают; наружную поверхность машины протирают влажной тканью.
Хорошую работу взбивательных машин в значительней степени обусловливает своевременная и качественная смазка деталей. Смазку обновляют один раз в шесть месяцев. Подшипники валов смазывают солидолом из колпачковых масленок. Ежедневно перед началом работы крышку масленки поворачивают на пол-оборота.
Эксплуатацию машин производят в строгом соответствии с инструкциями, предусмотренными для каждой машины
Перед началом эксплуатации машину подготавливают к работе
Перед пуском проверяют заземление корпуса, исправность отдельных ее узлов и машине в целом
Машину проверяют на холостом ходу
Загрузку производят при включенном двигателе
Запрещается проталкивать или поправлять застрявшие продукты руками, так как это может быть причиной травматизма
Категорически запрещается устранять неполадки при включенном электродвигателе
После окончания работы необходимо выключить электродвигатель, машину разбирают, очищают, тщательно вытирают
При промывке следует избегать попадания воды на кнопочную станцию и электродвигатель, так как это может привести к короткому замыканию
Корпус снаружи протирают фланелью
Хорошую работу машин обеспечивает смазка деталей. Смазку обновляют один раз в шесть месяцев
39. Сравните механизмы для измельчения орехов и растирания мака МДП 11-1 и кофемолку МКК-120. Опишите их общие и отличительные особенности
Машины предназначены для измельчения орехов и растирания мака, зерен кофе.
На предприятиях общественного питания применяют машины МДП 11-1 и МКК-120. Машины отличаются объемом дежи, различной производительностью.
Мельница для доизмельчения промпродуктов (МДП) состоит из корпуса 1 (рис. 4) с крышкой 2 и рабочего органа 3 с центральной втулкой 4. Рабочий орган 3 с центральной втулкой 4 закреплены на полом валу 5, ось которого расположена эксцентрично относительно оси корпуса 1 с образованием зон измельчения. Центральная втулка имеет вид усеченного конуса, установленного большим основанием книзу, и перфорирована совместно с полым валом 5. Отверстия расположены под углом 45-75 град. к оси вала. Вал 5 вращается в подшипниках 9 привода. В корпусе 1 соответственно с ним установлен полый цилиндр 10.3
Разгрузка мельницы происходит через загрузочный патрубок 11.
При вращении рабочего органа 3 исходный материал в виде пульпы, проходя по полому валу 5 через отверстия в его нижней части и центральной втулки 4, поступает в корпус 1 и равномерно распределяется по объему зоны 6. Это достигается за счет формы втулки 4 и направления отверстий, выполненных в этой втулке и нижней части полого вала. За счет создания в нижней части зоны 6 повышенного давления пульпа поступает в зону 7 измельчения, а затем в зону 8.
Измельченный материал удаляется через разгрузочный патрубок 11.4
Рис. 4. Машина МДП 11-1
47. Контрольно-регистрирующая машина «Самсунг». Назначение, устройство. Изобразите клавишное поле машины с указанием и назначением клавиш
Торгово-оперативный процесс является главным фактором, от которого зависит выбор типа контрольно - кассовой машины. Технический процесс в торговле – это совершение всего торгового процесса внедрения современной техники, в том числе и контрольно-кассовое оборудование, ускоряющее процесс расчета контроллера – кассира с покупателями, следовательно, повышающего производительность труда торговых работников, культуру обслуживания.
Невозможно представить современные торговые предприятия без новой контрольно – кассовой техники. После принятия закона РФ («по применению» контрольно – кассовой машины при осуществлении денежных расчетов с населением №5215 – 1 от 18.06.1993г.) в стране начата работа по совершенствованию конструкции контрольно – кассовой машины находящейся в эксплуатации. В крупных торговых предприятиях применяют кассовые терминалы, которые представляют собой собранные в одном корпусе компьютер, клавиатуру, сканер, принтер чековых и контрольных лент, монитор, дисплей покупателя и кассовый ящик.
Она предназначена для осуществления денежных расчетов с населением на малых и средних предприятиях торговли всех форм собственности, для выездной торговли как средство механизации и автоматизации ввода и обработки данных о кассовых операциях: учета, контроля, первичной обработки данных, формирование и вывода печатаемых документов, хранение итоговой информации необходимых для правового исчисления налогов.5 Операционные кассы обслуживаются кассирами- операционистами, которые получают наличные средства за проданные ценности. Оформляются данные расчеты с применением кассовых аппаратов.
Показания суммирующих денежных и контрольных счетчиков записываются в «Книгу кассира- операциониста», причем данные на начало и по окончании рабочего дня заверяются подписями представителя администрации кассира - операциониста. Таким образом разница между показателями счетчиков на начало и конец дня, которая должна совпадать с показаниями секционных счетчиков, является дневной выручкой; оприходование ее подтверждается главной кассой в кассовом отчете. Данная сумма должна совпадать с суммой, сданной кассиром – операционистом старшему кассиру и уложенной в инкассаторскую сумку с итоговым чеком контрольно – кассовой машины.
При расхождении фактическая сумма выручки определяется путем сложения сумм, напечатанных на контрольной ленте с выручкой, определенной по счетчикам (регистрам), представитель администрации с кассиром должен выяснить причину расхождений.6
Выявленные недостачи или излишки заносятся в соответствующие графы «Книги кассира – операциониста».
В конце рабочего дня сдает (обычно старшему кассиру либо сразу в банк через инкассацию) выручку под расписку, при этом деньги должны быть подобраны по купюрам. Старшему кассиру передаются также акты и необходимые документы по расчету выучки для составления сводного отчета по форме №25, который передается вместе с кассовыми ордерами в бухгалтерию.
В процессе эксплуатации кассового аппарата следует помнить, что перевод показаний суммирующих денежных счетчиков на нули (гашение) может производиться согласно Правилам эксплуатации контрольно – кассовых машин приводе в эксплуатацию новой машины и при инвентаризации.
58. Работая на импортной хлеборезке АХМ-300Т замечено, что уменьшилась производительность хлеборезки. Проанализируйте причину и объясните неисправность
















