185804 (689373)
Текст из файла
Министерство образования Российской Федерации
Уфимский государственный авиационный технический университет
Кафедра “Стандартизация и сертификация”
Курсовая работа
по дисциплине
«Метрология, нормирование точности, стандартизация и сертификация»
«Зубчатые колеса и их изготовление»
Содержание
Введение
1. Расчет и выбор посадки с зазором для гладкого цилиндрического соединения
2. Расчет посадок подшипника качения
3. Расчет предельных размеров и построение схемы расположения полей допусков деталей резьбового соединения
4. Назначение комплекса контролируемых параметров зубчатого колеса и выбор средств контроля
5. Расчет размерной цепи А-А
6. Совершенствование ГСС и перспективы вступления России в ВТО
Список используемой литературы
Введение
Данный узел является фрагментом коробки подач металлорежущего станка SUI-40. Универсальный токарно-винторезный станок SUI-40 предназначен для выполнения различных токарных работ, в том числе для нарезания метрической, дюймовой, резьбы повышенной точности.
1. Расчет и выбор посадки с зазором для гладкого цилиндрического соединения 7-13
Существующий метод расчета посадок с зазором сводится к определению наименьшего функционального зазора SminF , при котором обеспечивается жидкостное трение и наибольшего функционального зазора SmaxF, при котором еще сохранилось жидкостное трение и работоспособность соединения.
Найдем среднее давление для определения SminF и SmахF
где Fr- радиальная нагрузка;
l- длина соединения;
d- диаметр посадочной поверхности.
Определим толщину масляного слоя, при котором осуществляется жидкостное трение.
где Кжт- коэффициент запаса надежности по толщине масляного слоя (Кжт≥2);
Ra1, Ra2 –высоты неровностей поверхностей, которые после приработки соответственно равны 1-3 и 1-4, мкм;
Δg- добавка, учитывающая отклонения нагрузки, скорости, температуры от расчетных и др. факторов 2-3, мкм.
Определим величину наименьшего зазора, при котором обеспечивается жидкостное трение.
где k и m- коэффициенты, постоянные для заданного значения l/d;
µ1- динамическая вязкость смазки, Па·С;
ω- угловая скорость, равная π·n/30 рад/с.
l/d =55/35= 1,6 k=0,937 m=0,937 µ1= 0,016 ω=3,14·1400/30= 147 рад/с
По величине Smin выбирается посадка, ближайшая посадка Н9/d10 c Smin = 34 мкм.
Произведем проверку выбранной посадки на наличие жидкостного трения при наименьшем зазоре Smin.
где ψ- относительный зазор, равный Smin/d (Smin - наименьший зазор посадки выбранный по стандарту).
По таблице 2 при l/d=1,6 и CR=0,04 величина относительного эксцентриситета χ= 0,4.
+0,062
H9
+ 0 +
- -
d10
-0,080
-0,180
Smin T SmaxT
0 S,мкм
0,034 0,062 0,180 0,228
Smin F Smax F
Рисунок 2.1 Схема поля допуска посадки Ø35 Н9/d10
Данная посадка подходит, но при недолговременной эксплуатации этот узел выйдет из строя, тогда подбираем другую посадку Н8/d9 c Smin = 34 мкм, чтобы повысить ресурс.
Наименьшая толщина масляного слоя при этом.
Запас прочности по толщине масляного слоя.
+0,039
H8
+ 0 +
- -
d9
-0,080
-0,142
Smin T SmaxT
0 S,мкм
0,034 0,039 0,180 0,228
Smin F Smax F
Рисунок 2.2 Схема поля допуска посадки Ø35 Н8/d9
Расчет показывает, что посадка по наименьшему зазору выбрана правильно, так как при Smin=34 мкм обеспечивается жидкостное трение и создается запас надежности по толщине масляного слоя. Следовательно, Smin можно принять SminF.
Определим величину наибольшего функционального зазора SmaxF
Для наибольшего зазора принимается tраб=50ОС и µ2=0,04 тогда:
Коэффициент нагруженности подшипника СR= (Ψ=0,228/35).
По таблице при l/d=1,6 и CR=0,9; χ= 0,4.
Наименьшая толщина масляного слоя при SmaxF.
Запас надежности по толщине масляного слоя при этом:
Таким образом, при SmaxF = 228 обеспечивается жидкостное трение.
2. Расчет посадок подшипника качения
Задан подшипник 6-308 по ГОСТ 8336-75. Данный шариковый радиальный подшипник основного конструкторского исполнения предназначен для восприятия радиальных и ограниченных осевых сил любого направления, он обеспечивает осевое фиксирование вала в двух направлениях. Не являясь самоустанавливающимся, допускает небольшие углы взаимного перекоса внутреннего и наружного колец, значения которых зависят от радиальных зазоров в подшипнике.
При одинаковых габаритных размерах подшипники этого типа работают с меньшими потерями на трение при большей частоте вращения вала, чем подшипники всех других конструкций.
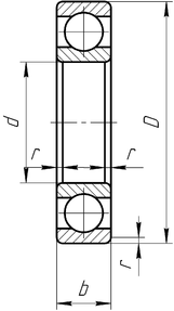
Размеры подшипника 6-308:
d =40мм- номинальный диаметр отверстия внутреннего кольца;
D = 90 мм - номинальный диаметр наружной цилиндрической поверхности наружного кольца;
b = 23 мм - номинальная ширина подшипника;
r = 2,5 мм - номинальная координата монтажной фаски.
Посадки подшипников качения на вал и в корпус выбирают в зависимости от типа подшипника, условий его эксплуатации, величины и характера, действующих на него нагрузок и вида нагружении колец по ГОСТ 3325-85.
Так как в коробке передач подшипник находится на промежуточном валу и фиксируется в корпусе, тип нагружения – местное.
Выбираем посадку:
- для внутреннего кольца
Ø40
;
- для наружного кольца
Ø90
.
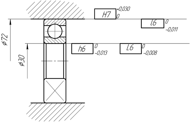
По ГОСТ 3325-85 определяем предельные отклонения разменов посадочных диаметров внутреннего и наружного колец подшипника
Для диаметра d = 40 мм, класса точности 6:
верхнее отклонение ES= 0
нижнее отклонение EI = -0,00 8
Для диаметра D= 90, класса точности 6:
верхнее отклонение es= 0
нижнее отклонение ei = -0,011
Определим предельные отклонения размеров посадочных поверхностей вала и отверстий в корпусе.
По СТ СЭВ 144-75 определим допуски посадочных поверхностей вала и отверстия в корпусе.
Для вала диаметром d = 40 мм, и полем допуска h6
верхнее отклонение es= 0
нижнее отклонение ei = -0,013
Для отверстия в корпусе диаметром D= 90, и полем допуска H7
верхнее отклонение ES= +0,030
нижнее отклонение EI = 0
Определим наибольший и наименьший натяги в соединении внутреннего кольца и подшипника с валом.
Nmax = es-EI = 0- 0=0 = ei-ES= -0,013-0,030= 0,0 43
Определим наибольший и наименьший зазоры в соединении наружного кольца подшипника с корпусом.
Smax =ЕS- ei =0,030 –(-0,013)=0,043 S min = EI - es = 0-0= 0
Таким образом, схема расположения полей допусков колец подшипника и посадочных поверхностей вала Ø40
и отверстия в корпусе Ø90
представлена на рисунке 3.1
Рисунок 3.1
Исполнительные размеры:
Ø90
, Ø40
3. Расчет предельных размеров и построение схемы расположения полей допусков деталей резьбового соединения
Задана резьба М36х1,5
Данное резьбовое соединение находится на главном валу, значит, данная резьба испытывает толчки и вибрацию. Из-за небольшого расстояния вал закреплен гайкой без применения, каких видов стопорения-шайбы или второй гайки. Следовательно, существует опасность самосвинчивания резьбы. Поэтому, придется подобрать резьбу с натягом.
Параметры резьбового соединения
Таблица 1. Параметры резьбы
| d(D) | D1(D1) | D2(D2) | P | α | H | H/8 | H/6 | H/4 |
| 24 | 34,376 | 35,026 | 1,5 | 60o | 1,299 | 0,162 | 0,217 | 0,325 |
Рисунок. Элементы резьбы
d- наружный диаметр наружной резьбы (болта); D- наружный диаметр внутренней резьбы (гайки); d2- средний диаметр болта; D2- средний диаметр гайки; d1- внутренний диаметр болта; D1-внутренний диаметр гайки; Н-высота исходного треугольника; Р- шаг резьбы; R-номинальный радиус закругления впадины болта; Н1- рабочая высота профиля.
Для обеспечения надежности крепления принимаем посадку М36
(поле допуска резьбы вала 6h, поле допуска резьбы гайки 6Н)
Определение предельных отклонений для выбранных посадок
Предельные отклонения для выбранных посадок определяем по СТ СЭВ 640-77
Таблица 2. Предельные отклонения
| Диаметры | Отклонения | ||
| Наружная резьба | Внутренняя резьба | ||
| Наружный (d) | es=0 ei=-0,236 | - EJ=0 | |
| Средний (d2) | es=0 ei=-0,150 | ES=+0,200 EI=0 | |
| Внутренний(d1) | es=0 - | ES=+0,300 EI=0 | |
Определение предельных размеров
Предельные значения диаметров наружной резьбы
d2max=d2+es=35,026+0=35,026(мм)
d2min=d2+ei=35,026-0,150=34,876(мм)
d1max=d1+es=34,376+0=34,376(мм)
Характеристики
Тип файла документ
Документы такого типа открываются такими программами, как Microsoft Office Word на компьютерах Windows, Apple Pages на компьютерах Mac, Open Office - бесплатная альтернатива на различных платформах, в том числе Linux. Наиболее простым и современным решением будут Google документы, так как открываются онлайн без скачивания прямо в браузере на любой платформе. Существуют российские качественные аналоги, например от Яндекса.
Будьте внимательны на мобильных устройствах, так как там используются упрощённый функционал даже в официальном приложении от Microsoft, поэтому для просмотра скачивайте PDF-версию. А если нужно редактировать файл, то используйте оригинальный файл.
Файлы такого типа обычно разбиты на страницы, а текст может быть форматированным (жирный, курсив, выбор шрифта, таблицы и т.п.), а также в него можно добавлять изображения. Формат идеально подходит для рефератов, докладов и РПЗ курсовых проектов, которые необходимо распечатать. Кстати перед печатью также сохраняйте файл в PDF, так как принтер может начудить со шрифтами.















