122894 (689289), страница 2
Текст из файла (страница 2)
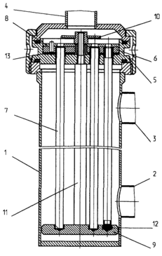
Рис. 5. Мембранный аппарат
3.4 Мембранный аппарат (2)
Изобретение относится к разделению смесей с помощью полупроницаемых мембран и может быть использовано в химической, микробиологической, электронной, пищевой и других отраслях промышленности для осуществления ультрафильтрации, обратного осмоса и других мембранных процессов. Целью изобретения является исключение застойных зон в аппарате и упрощение его конструкции. Аппарат для проведения мембранного процесса разделения содержит несущие фланцы со штуцерами и отверстиями для ввода исходной смеси и вывода концентрата и фильтрата, пакет мембранных элементов. Каждый мембранный элемент имеет каркасную пластину с углублением на одной плоскости для образования камеры прохода исходного раствора.
В результате интенсивного осаждения различных загрязнений происходит снижение производительности и увеличение гидравлического сопротивления аппарата. В рассматриваемом аппарате загрязнения удаляются с помощью ультразвука, который от генератора поступает по волноводу на отражатель. Ультразвук возбуждает в разделяемом растворе кавитацию, в результате которой в потоке возникают пульсирующие пузырьки, часть которых потоком вносится внутрь каппиляра волокна. Пузырьки, оказывая силовое воздействие на осевшие частицы загрязнений, отрывают их от стенок на входе и внутри капилляра, после чего эти частицы уносятся с разделяемой жидкостью. Таким образом, все каналы очищаются от загрязнений, что приводит к воостановлению первоначального гидравлического сопротивления и производительности.
Отличительной особенностью аппарата является то, что форма излучателя ультразвуковых колебаний выполняется в соответствии с контуром, ограничиваемым крайними входными каналами пучка полых волокон (рис. 6).
4. Описание разработанного объекта
4.1 Назначение, область применения и принцип действия разработанного объекта
Мембранный аппарат ( КП-ТО-02068108-260602-2007-АПЛ-01.00.000 СБ) предназначен для концентрирования методом микрофильтрации лагерного осадка, остающегося в бродильном танке после проведения процесса брожения и дображивания пива. Также аппарат может применяться в химической, электронной, микробиологической, медицинской и пищевой (для осветления соков и вин, холодной стерилизации пива и т.д.) промышленности для разделения и концентрирования растворов различных веществ.
Мембранный аппарат содержит корпус поз. 4, внутри которого с помощью прижимов поз. 3 закреплён половолоконный модуль поз. 1, который и выполняет функцию разделяющего элемента. Размер пор волокна порядка 3 мкм. Концентрируемая смесь подаётся внутрь корпуса по штуцеру I, а затем – внутрь полых волокон. Концентрат выводится из аппарата через штуцер II, а так называемый пермеат – через штуцер III. Для присоединения аппарата к цеховым трубопроводам на патрубке II имеется гильза с резьбой поз. 5, а на патрубках I и III – присоединены приварные штуцера поз. 21.
Уплотнение аппарата производится с помощью эластичных прокладок поз. 16 и 17, установленные соответственно на излучателе ультразвука поз. 8 и фланцами 20.
Ультразвук передаётся на излучатель по волноводу поз. 6 от генератора. Ультразвук возбуждает в разделяемом растворе кавитацию, в результате которой в потоке возникают пульсирующие пузырьки, часть которых проникает внутрь капилляра волокна. Эти пузырьки оказывают силовое воздействие на осевшие частицы загрязнений, отрывая их от стенок капилляра волокон. Это приводит к тому, что производительность аппарата восстанавливается до первоначального значения, а гидравлическое сопротивление при этом не увеличивается.
Ультразвук на разделяемый поток действует не постоянно, а периодически, что не приводит к дополнительным энергозатратам на питание генератора ультразвука.
Излучатель подпирается с помощью пружины поз .15, которая располагается в опорной крышке поз. 7.
Разработанный аппарат имеет следующую техническую характеристику:
| Производительность по исходному раствору, л/ч | 200 |
| Рабочий объём, | 0,057 |
| Площадь фильтрующей поверхности, | 1,8 |
| Рабочее давление, МПа | 0,1 |
| Габаритные размеры | 965 |
4.2 Выбор схемы проведения процесса разделения
Принципиально существуют два способа проведения процессов мембранного разделения – тупиковый и проточный.
Тупиковый используют редко, в основном на патронных мембранных элементах, хотя при введении регенерации мембран с помощью гидравлического удара обратным током пермеата со сбросом порции загрязнений из аппарата такой способ возможен и в других случаях.
При организации проточного процесса необходимо учитывать следующие обстоятельства:
1 – по длине аппарата объемный расход разделяемого потока уменьшается за счет оттока пермеата. Пропорционально уменьшается линейная скорость жидкости вдоль мембраны и усиливается влияние КП;
2 – по длине аппарата концентрация задерживаемых мембраной компонентов растет, пропорционально повышается и концентрация их в пермеате;
3 – по длине аппарата давление над мембраной падает из-за гидравлического сопротивления в напорном канале, соответственно снижается движущая сила процесса;
4 – глубокое концентрирование раствора требует каскадной схемы соединения аппаратов;
5 – глубокая очистка раствора требует многоступенчатой схемы соединения аппаратов.
В проточных схемах используют две конфигурации потоков – прямоточную и циркуляционную (рис. 7).
Рис. 7. Принципиальная схема прямоточной (а) и циркуляционной (б) установок.
В прямоточной установке разделяемая смесь однократно проходит через напорный канал мембранного аппарата (или аппаратов, если их несколько), в циркуляционном – многократно, для чего предусмотрен специальный циркуляционный контур с насосом. Циркуляционные установки применяются, когда крайне необходимо обеспечить высокую скорость потока в напорном канале (например, чтобы не происходило образование геля на мембране в процессе ультрафильтрации).
В циркуляционной схеме необходимая скорость потока достигается за счет циркуляционного насоса, установленного на обводной линии. Условно такая схема ближе к аппаратам идеального смешения. Основным для учета здесь является обстоятельство №2 – рост концентрации. Фактически во всем объеме циркуляционного контура находится концентрат, что понижает эффективность очистки пермеата.
В проектируемой мембранной системе будем использовать проточную схему осуществления процесса с циркуляционным контуром. Такая схема позволит обеспечить высокие скорости проведения процесса, что снизит негативное влияние концентрационной поляризации и избежать образования гелевых слоёв.
4.3 Выбор рабочих параметров процесса разделения
Температура. С повышением температуры разделяемого раствора селективность мембран изменяется мало, а удельная производительность увеличивается в первом приближении обратно пропорционально вязкости пермеата (в том диапазоне температур, где мембраны не разрушаются от термических воздействий). Однако с повышением температуры возрастает скорость гидролиза полимерных материалов и сокращается срок службы мембран. Учитывая это, а также то, что использование теплообменников усложняет и удорожает процесс, мембранный процесс целесообразно проводить при температуре окружающей среды (обычно 20 - 25°C). В тех случаях, когда технологический раствор, подвергаемый разделению, уже имеет повышенную температуру, экономически оправдана работа при температурах выше 25°C.
Рабочее давление. С увеличением перепада рабочего давления через мембрану возрастает движущая сила процесса и увеличивается удельная производительность мембран. Однако под действием давления полимерные мембраны подвергаются уплотнению, которое при достижении некоторого уровня, зависящего от структуры мембраны, может нейтрализовать эффект, связанный с повышением движущей силы. Кроме того, при высоких давлениях мембраны быстрее загрязняются находящимися в растворе микрочастицами, поскольку в этих условиях загрязняющим частицам легче внедриться в поры мембраны, а на поверхности мембраны образуется более плотный осадок задержанных микрочастиц, поэтому рекомендуемый перепад давления при проведении процесса микрофильтрации составляет порядка 0,05 – 0,15 МПа. Принимаем значение рабочего перепада давления равным 0,1 МПа.
Уровень pH среды. Значения pH смещаются в сторону кислых или щелочных сред, что ускоряет гидролиз полимерных мембран. Особенно следует обратить внимание на значение pH моющих и дезинфицирующих растворов, т. к. возможно растворение мембран. При ультрафильтрации высокомолекулярных соединений верхний предел концентрации определяется значениями, при которых может начаться образование гелеобразного осадка на поверхности мембраны, или же концентрацией, при которой проницаемость становится неприемлемо низкой из-за чрезмерного возрастания вязкости разделяемого раствора.
В случае использования ацетатцеллюлозных мембран рабочий интервал концентраций часто ограничивается значениями pH, которые не должны выходить за пределы 3 < pH < 8.
4.4 Расчёт мембранной установки
Исходные данные: расход концентрируемого раствора —
; начальная концентрация дрожжевых клеток в пиве —
; концентрация дрожжевых клеток в пиве после концентрирования раствора —
; содержание дрожжевых клеток в пермеате не должно превышать
. Размер дрожжевых клеток: 9-11
2-3 мкм.
4.4.1 Выбор мембраны
При выборе мембраны следует исходить из того что, что она должна обладать максимальной удельной производительностью при селективности, обеспечивающей выполнение требований к качеству пермеата (соответствие санитарным нормам, допустимым потерям растворённого вещества и т.д.). Кроме того, мембрана должна обладать высокой химической стойкостью по отношение к разделяемому раствору.
Определение истинной селективности производится по графику зависимости истинной селективности мембраны от отношения
. График построен для интервала
, в котором селективность имеет большие значения, обычно удовлетворяющее условиям разделения. Примем допущение, что в рабочем диапазоне концентраций разделяемого раствора истинная селективность остаётся постоянной.















