122894 (689289)
Текст из файла
Введение
Бродильная промышленность – одна из старейших отраслей промышленности в России. Анализ современного технического уровня предприятий бродильной промышленности показывает, что его совершенствование осуществляется в направлении повышения единичной мощности, сокращения вспомогательных операций, снижения материало- и энергоемкости, повышения уровня механизации и автоматизации, улучшения санитарной обработки.
Модернизация предприятий бродильной промышленности, строительство наряду с крупными предприятиями минизаводов ведет к расширению заводов и выпускаемому ассортименту бродильной промышленности и требует гибкой организации проектировочных работ с учетом достижений мировой практики, внедрения новых технологических процессов и оборудования, ликвидации диспропорций в цехах, повышения уровня механизации транспортно-складских работ. На солодовенных и пивоваренных заводах устанавливаются поточные механизированные линии.
В последнее время широкое распространение получили прогрессивно развивающиеся минипивоварни и минипивзаводы, на которых применяются новые методы замачивания и сусловарения сырья. Успешно эксплуатируются цилиндрические бродильные аппараты для ускоренного брожения и дображивания пива, диатомные фильтры и гидроциклонные аппараты для осветления горячего сусла и пива. Появился целый ряд дополнительных операций: карбонизация, стабилизация пива, а также утилизация вторичных материальных ресурсов.
В том числе появились новые разработки по технологическому оборудованию, совмещение функций и конструкций некоторых аппаратов, повышению их производительности, уменьшение энергозатрат на проводимые процессы, сокращение производственных площадей на единицу занимаемого оборудования, вырабатываются усовершенствованные пути повышения эффективности обработки сырья.
Перед всей пивоваренной промышленностью, в частности, минипивоваренной промышленностью стоят задачи по внедрению новой, более прогрессивной техники и технологии, обеспечивающих полное и комплексное использование сырья, высокоэффективных машин и аппаратов непрерывного действия, создающих возможность интенсифицировать и автоматизировать процессы и внедрять АСУТП. При этом в условиях рыночной экономики важно обеспечить их конкурентоспособность при борьбе за рынок с зарубежными партнерами.
Особой задачей, стоящей перед минипивоварнями и минипивзаводами, является проблема утилизации отходов производства, в частности, лагерного осадка, представляющего собой остающиеся в лагерном танке дрожжи. Решение проблемы утилизации отходов позволит улучшить экологическую обстановку, а также позволит добиться определённого экономического эффекта, так как утилизируемые дрожжи содержат определённую долю товарного продукта, т.е. позволит сократить потери продукта.
1. Обзор современных объектов аналогичного назначения и выбор технического решения
Под лагерным осадком понимают остающиеся в лагерном танке дрожжи, которые содержат пиво. Около 1% товарного пива может быть получено (после соответствующей обработки дрожжей) в виде пива из дрожжевого осадка. Существуют несколько способов рекуперации этого пива: прессование дрожжей, сепарация дрожжей, мембранное фильтрование дрожжей [1].
1.1 Прессование дрожжей
Дрожжи закачивают в камерный фильтр-пресс и отфильтровывают сквозь полипропиленовые салфетки (рис. 1). Благодаря прессованию под давлением
0,4 – 0,6 МПа, а в конце цикла – в 1,5 – 1,8 МПа, дрожжи по консистенции становятся похожи на пекарские.
Из-за используемого в фильтре высокого давления недостатки этого способа делаются ещё более заметными. Они заключаются в повышении значений pH и повышенном содержании в пиве белка и нуклеиновых соединений, если до прессования дрожжи хранились долго и в тёплых условиях. Поэтому дрожжи необходимо прессовать сразу же после их сбора.
1.2 Сепарация дрожжей
Щадящий метод рекуперации пива из дрожжей – это их сепарация (рис. 2).
В рециркуляционный танк 1 набирается определённое количество доаэрированной воды, которая подаётся насосом 6 к сепаратору 2. По пути вода смешивается с дрожжами, дозируемыми насосом 5. В сепараторе предварительного осветления 2 большая часть дрожжей отделяется, а разбавленное водой отсепарированное пиво возвращается в рециркуляционный танк. Этот процесс повторяется при постоянном разбавлении пива водой и дальнейшем отделении дрожжей. В заключение смесь воды и пива подаётся на сепаратор для полного осветления, где происходит полное удаление дрожжевых клеток из пива.
Недостатком этого способа рекуперации пива из остаточных дрожжей является энергоёмкость процесса, так как для осуществления сепарирования требуется сепаратор, потребляющий большое количество энергии. Кроме этого, сепараторы имеют достаточно высокую стоимость, сложную конструкцию, сложность эксплуатации и монтажа.
1.3 Мембранное фильтрование дрожжей
Мембранный фильтр представляет собой фильтр, в котором поток жидкости движется сквозь фильтрующий слой не под прямым углом, а параллельно фильтрующей мембране, так что пиво диффундирует сквозь неё, а дрожжи уносятся дальше.
Данный способ не требует вспомогательных фильтрующих средств и во все большей степени применяется для рекуперации пива из избыточных дрожжей. При правильно подобранном режиме работы мембранной установки можно обеспечить приемлемые финансовые затраты при хорошем качестве пива, что особенно актуально в условиях малых предприятий. Мембранное фильтрование не требует для проведения процесса высоких температур, что положительно отражается на характеристиках конечного продукта. Мембранная установка не требует значительных энергозатрат, что даёт значительный экономический эффект.
Ввиду очевидного преимущества мембранного фильтрования перед перечисленными выше способами рекуперации пива из остаточных дрожжей для решения поставленной задачи выделения дрожжей из лагерного остатка целесообразно применять именно мембранное фильтрование.
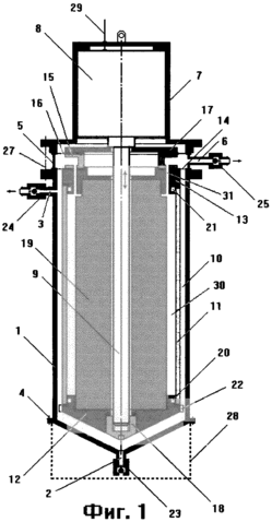
2. Обзор основных конструкций баромембранных аппаратов
Основные требования, предъявляемые к мембранным аппаратам различных конструкций, - эффективное удаление с поверхности мембраны задерживаемых веществ (то есть снижение концентрационной поляризации, гелеобразования и загрязнения мембран) и компактность. Важны при этом простота, удобство сборки и монтажа установки.
Разделение растворов в промышленных баромембранных процессах осуществляют на четырёх основных типах аппаратов: фильтр-пресс (или плоскокамерных), трубчатых, рулонных и на основе полых волокон [2].
Аппараты плоскокамерного типа собирают на основе плоскорамных элементов. Набор мембранных пакетов зажимают с помощью фланцев. Между мембранами по краям пакетов находятся рамки с отверстиями для отвода фильтрата и соответствующие прокладки (как правило, резиновые), предназначенные для герметизации. Схема ввода исходного раствора предусматривает последовательное и равномерное его прохождение над мембранами, расположенными на поверхности камер (рамок) сбора фильтрата, в которых находится дренажный материал. Аппараты данного типа имеют следующие недостатки: они требуют сложной герметизации элементов, невысокая плотность упаковки, неравномерность гидродинамических условий в отдельных зонах аппарата.
В аппаратах трубчатого типа подача исходного раствора осуществляется внутрь трубки, разделительная поверхность (собственно сама мембрана) находится на внутренней её поверхности, оптимальный внутренний диаметр трубки 8 – 25 мм. При сборке аппаратов трубки укладывают в виде блоков, а их концы заливают герметизирующим компаундом. Основным недостатком такого типа аппаратов – очень низкая полезная площадь мембран.
В аппаратах рулонного типа исходный раствор под давлением движется по напорному каналу параллельно оси элемента. Пермеат, проходя через мембрану, попадает в дренажный слой и по спирали через него отводится в трубку-коллектор. Область применения аппаратов с рулонными мембранными элементами – обессоливание минерализованных вод.
Полое волокно представляет собой мембрану, выполненную в виде очень тонкого капилляра, строение которого может быть изотропным или анизотропным по толщине стенок, при этом активный слой может находиться как с внутренней, так и с внешней стороны. Следовательно, существует определённая аналогия между полым волокном и трубчатой мембраной, что обуславливает во многом аналогичные трубчатым конструкции аппаратов на их основе. Вместе с тем малый диаметр полого волокна создаёт принципиально лучшие характеристики этих аппаратов. Прежде всего, в результате малого диаметра волокна самонесущая конструкция мембраны может выдерживать без нарушений структуры воздействие высоких давлений. Вследствие малого диаметра как внутреннего так и внешнего сечения полых волокон, их общая разделяющая поверхность в единице объёма более чем на два порядка превосходит аналогичный показатель трубчатых элементов. Кроме того, при равномерном объёмном расходе линейная скорость во внутреннем канале полого волокна вблизи рабочей поверхности выше, чем в остальных аппаратах, вследствие этого снижается уровень вредного воздействия концентрационной поляризации и, следовательно, тенденция к загрязнению вследствие концентрационной поляризации в случае модулей на основе полых волокон незначительна.
Ввиду очевидного преимущества мембранных модулей на основе полых волокон в баромембранной установке для микрофильтрационной обработки пива будем использовать именно данный тип мембранного модуля.
3. Патентная проработка проекта
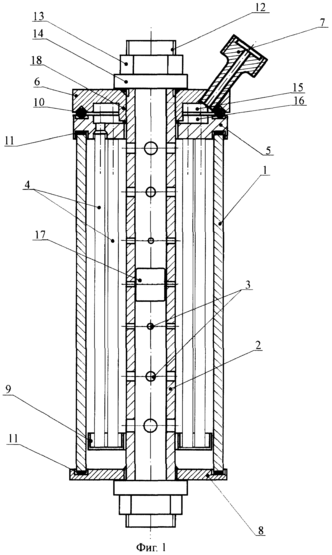
3.1 Аппарат для фильтрации жидкостей [3]
Изобретение относится к средствам очистки жидкостей и газов, например в сельском хозяйстве, медицинской, пищевой и микробиологической отраслях промышленности, а также может быть использовано для разделения и концентрирования технологических растворов, водоподготовки, очистки сточных вод других производств. Аппарат для фильтрации жидкостей (рис. 3) содержит корпус, в котором соосно установлены центральная распределительная труба с рядами отверстий и набор трубчатых мембранных элементов, укрепленный в трубной решетке, крышку с патрубком, днище, кольцевую чашку для заглушки концов мембранных элементов, герметизирующие уплотнения между крышкой и трубной решеткой. Согласно изобретению днище закреплено на центральной распределительной трубе, трубная решетка и днище имеют кольцевые проточки для корпуса, верхний конец центральной распределительной трубы снабжен резьбой для крепления крышки, в крышке и трубной решетке выполнены кольцевые полости, патрубок на крышке расположен параллельно оси центральной распределительной трубы или под углом к ней, меньшем 90o, причем центральная распределительная труба имеет в центре неподвижную перегородку, а суммарное сечение отверстий в каждом ряду увеличивается от перегородки к периферии центральной распределительной трубы. Второй вариант аппарата содержит обечайку между крышкой и трубной решеткой, внутри которой размещен адсорбент между кольцевыми сетками. Технический результат - равномерное распределение жидкости или газа, повышение качества фильтрации, упрощение сборки-разборки, обеспечение замены всего набора мембранных элементов
Рис. 3 Аппарат для фильтрации жидкостей
3.2 Способ и устройство для мембранной фильтрации
Технический результат: фильтрация без забивания мембран во времени, а следовательно без уменьшения их производительности и без изменения их характеристик, что обеспечит их широкое применение при холодной стерилизации напитков и лекарственных средств, осветлении соков, вин и пива, плазмаферезе, концентрировании клеток, обработке сточных вод, получении чистой воды и т. д. В предложенных вариантах способа фильтрация ведется из потока раствора, перпендикулярного направлению транспорта, на жестких полупроницаемых керамических мембранах высокой пористости. Отличительной особенностью этих способов является создание условий фильтрации, при которых предотвращается образование гелевого слоя на поверхности мембраны в течение всего процесса фильтрации, для этого предлагается проводить фильтрацию в сочетании знакопеременного трансмембранного давления (ТМД) с направленными потоками фильтруемой жидкости. При положительном ТМД фильтруемая жидкость движется вдоль поверхности мембраны, а фильтрат удаляется наружу: при отрицательном ТМД часть фильтрата (не более 20%) возвращается обратно через поры мембраны и обеспечивает их очистку от застрявших частиц, при этом последующий поток фильтруемой жидкости, когда вновь создается положительное ТМД, смешивается с этими частицами и фильтрация происходит вновь на чистых мембранах. Заявлены устройства, одно из которых состоит из фильтр-поршня, который совершает возвратно-поступательное перемещение в жестком корпусе, при этом, благодаря использованию трех клапанов однонаправленного потока, двух эластичных непроницаемых мембран, двух дистанционных колец и других конструктивных особенностей. Во втором устройстве мембранный фильтр выполнен (рис. 4) в виде жесткой конструкции, неподвижно закрепленной в корпусе. Фильтр может состоять из одного пористого полупроницаемого цилиндра или кассеты из нескольких небольшого диаметра полупроницаемых трубок. Для создания пульсирующего ТМД используется поршень мембранного типа, который совершает возвратно-поступательное перемещение благодаря использованию соленоида. Соленоид также предлагается использовать для осуществления возвратно-поступательного перемещения фильтр-поршня. Кроме того, для создания необходимого рабочего зазора вдоль поверхности мембраны при использовании жестко закрепленного мембранного фильтра в конструкции предложено использовать плавающие или неподвижные мандрены.
Рис.4 Устройство для мембранной фильтрации
3.3 Мембранный аппарат (1)
Изобретение относится к трубчатым мембранным аппаратам для очистки жидкости, в частности очистки сточных вод промышленных предприятий, природных вод в системах водоснабжения, очистки смазочно-охлаждающих жидкостей в процессах регенерации отработанных масел и моющих растворов и для концентрирования растворов ферментов, осветления соков и т.д. Мембранный аппарат (рис. 5) содержит корпус с патрубками для подвода исходной жидкости, отвода очищенной жидкости и концентрата и трубные решетки с закрепленными в них трубчатыми мембранными элементами. Один конец трубчатых мембранных элементов закрыт пробками из герметика и зажат опорной головкой с глухими отверстиями под каждый мембранный элемент. Другой конец мембранных элементов герметизирован с помощью двух трубных решеток, между которыми налит слой герметика, и через слой герметика зажат перфорированным опорным диском с диаметром отверстий, равным внутреннему диаметру или меньшим внутреннего диаметра трубчатых мембранных элементов. Технический результат: уменьшение металлоемкости и трудоемкости в изготовлении, обеспечение широкого диапазона температурных режимов и возможности проведения импульсной высокоскоростной промывки обратным током очищенной жидкости в течение всего срока службы без замены отдельных мембранных элементов, создание аппарата, противодействующего возникновению колебаний при высоких скоростях потока.
Характеристики
Тип файла документ
Документы такого типа открываются такими программами, как Microsoft Office Word на компьютерах Windows, Apple Pages на компьютерах Mac, Open Office - бесплатная альтернатива на различных платформах, в том числе Linux. Наиболее простым и современным решением будут Google документы, так как открываются онлайн без скачивания прямо в браузере на любой платформе. Существуют российские качественные аналоги, например от Яндекса.
Будьте внимательны на мобильных устройствах, так как там используются упрощённый функционал даже в официальном приложении от Microsoft, поэтому для просмотра скачивайте PDF-версию. А если нужно редактировать файл, то используйте оригинальный файл.
Файлы такого типа обычно разбиты на страницы, а текст может быть форматированным (жирный, курсив, выбор шрифта, таблицы и т.п.), а также в него можно добавлять изображения. Формат идеально подходит для рефератов, докладов и РПЗ курсовых проектов, которые необходимо распечатать. Кстати перед печатью также сохраняйте файл в PDF, так как принтер может начудить со шрифтами.















