122885 (689282), страница 3
Текст из файла (страница 3)
После отделения кристаллов карбоната натрия и других кристаллических солей, например сульфида и сульфата натрия, если варка проводится по крафт-процессу, маточный раствор упаривают, в результате чего получают хлорид натрия В достаточно чистом виде. Карбонат натрия может быть превращен в химические соединения, являющиеся компонентами варочного раствора и возвращен на стадию варки; обычно его превращают в гидроксид натрия путем обработки каустиком.
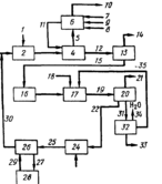
Общая схема процесса представлена на рис. 1. Древесные стружки или другое волокнистое целлюлозное сырье подается на линии / в варочный аппарат 2, где проводится варка в варочном растворе, подаваемым по линии 3, в составе которого, в случае содового процесса, действующим веществом является гидроксид натрия. Образующуюся бумажную массу и отработанный варочный раствор разделяют и бумажную массу промывают в аппарате 4, предназначенном для промывки небеленой массы. "В соответствии с приведенной схемой для промывки используют промывные воды со стадии отбелки, подаваемые по линии //. В другом варианте для промывки можно использовать обычную воду или конденсат, содержащий примеси, а сточные воды процесса отбелки использовать на других стадиях данного процесса, как будет описано ниже, или вывести их из системы.
Промытая небеленая масса по линии 5 подается на установку отбеливания 6, где она подвергается ряду операций отбеливания и очистки с применением одного или нескольких хлорсодержащих отбеливающих веществ. Обычно стадии отбеливания и очистки включают обработку хлором, диоксидом хлора или их смесью, подаваемым по линии 7 и щелочную экстракцию с использованием водного раствора гидроксида натрия, подаваемого по линии 8. Обычно применяют следующую последовательность обработки: хлор — экстракция — диоксид хлора—экстракция—диоксид хлора.
В процессе отбеливания бумажная масса подвергается промывке, обычно после каждой стадии отбеливания или щелочной экстракции, водой, подаваемой по линии 9. Отработанные промывные воды со стадии отбелки вместе с отработанными растворами, образующимися при отбелке и щелочной экстракции, выводятся как сточные воды по линии 11.
Предпочтительно проводить промывку, подавая бумажную массу и воду противотоком. Желательно, чтобы количество гидроксида натрия на стадии экстракции бумажной массы несколько превышало стехиометрическое количество, т. е. один атом натрия на один атом хлора, содержащийся в отбеливающих веществах. При этом сточные воды, выводимые по линии 11, будут иметь щелочную реакцию. Бумажную массу, отделенную и очищенную до получения необходимого качества, выводят из отбеливающей установки 6 по линии 10 и направляют на продажу как таковую или на стадию производства бумаги.
В случае необходимости, сточные воды из линии 11 можно непосредственно добавлять к отработанному варочному раствору, поступающему по линии 12. Последний упаривают в испарителе 13, а затем по линии 15 подают в печь 16, имеющую любую подходящую для данной цели конструкцию. Сточные воды процесса отбеливания в линии // содержат значительные количества хлорида натрия. Вода, удаляемая из испарителя 13 по линии 14, может быть снова использована в системе, например для подачи в отбеливающую систему по линии 9; в случае необходимости эту воду подвергают дополнительной очистке.
При сжигании растворов в печи 16 образуются твердый остаток, содержащий карбонат натрия, а также непрореагировавшие компоненты, главным образом хлорид натрия. Таким образом, после сжигания получают твердый остаток, содержащий карбонат и хлорид натрия. Его растворяют в аппарате 17, в который по линии 18 подается вода.
Подаваемая вода может представлять собой промывные вода процесса отбелки, конденсат из испарителя или промывные воды, образующееся после растворения гидратированного карбоната натрия в аппарате 23. По линии 18 может подаваться часть сточных вод из линии 12, особенно в получаемый горячий водный раствор отводят по линии 19; в нем также содержатся рециркулируемые химические соединения, что будет подробно описано ниже.
В случае необходимости можно в воде, поступающей по линии 18, растворять не весь твердый остаток, а обрабатывать его так, чтобы растворить основное количество хлорида натрия и часть карбоната натрия, оставляя в твердом виде карбонат натрия достаточной степени чистоты. Проведение процесса таким образом позволяет уменьшить потребление воды и сократить выпариваемые объемы. Получаемый твердый карбонат натрия может быть использован для приготовления варочного раствора вместе с карбонатом натрия, который на последующих стадиях процесса выделяется из горячего раствора, полученного при описанном выше частичном растворении.
Горячий водный раствор охлаждают в кристаллизаторе 20 для выделения кристаллогидрата карбоната натрия, предпочтительно в виде Na2CCV 10Н2О; при этом основное количество хлорида натрия остается в растворе. Предпочтительно проводить охлаждение за счет выпаривания воды из горячего раствора в вакууме. Упариваемую воду отводят по линии 21.
Горячий водный раствор, отводимый по линии 19, обычно имеющий температуру 82—99 °С, может быть подвергнут предварительному охлаждению, как с выпариванием воды, так и без него, для того чтобы уменьшить нагрузку на кристаллизатор 20, в котором выделяется карбонат натрия. В случае необходимости предварительное охлаждение можно проводить в несколько стадий. Процесс можно также проводить и без предварительного охлаждения. Как правило, горячий водный раствор, имеющий температуру 93 °С, охлаждают до 49 °С за счет испарения некоторого количества воды, а затем раствор охлаждают при испарении до температуры ниже 21 °С, предпочтительно до 15 °С, в результате чего происходит кристаллизация декагидрата карбоната натрия. Выделение карбоната натрия в виде декагидрата позволяет удалить из раствора большие количества воды.
Охлаждение раствора и кристаллизацию карбоната натрия желательно проводить до получения маточного раствора почти насыщенного хлоридом натрия. Получаемую суспензию для облегчения переработки разбавляют рециркулируемым маточным раствором и карбонат натрия, отделяемый от маточного раствора и практически не содержащий примесей хлорида натрия, выводят по линии 22. На схеме для упрощения показано, что кристаллизация карбоната натрия и его отделение от маточного раствора происходят в одном и том же аппарате. В действительности для этих целей используются два отдельных аппарата.
Карбонат натрия по линии 22 поступает в резервуар 23, где его растворяют в воде или в другом подходящем водном растворе, предпочтительно в промывных водах, подаваемых по линии 24, с образованием водного раствора карбоната натрия. Этот раствор по линии 25 направляют в аппарат для подщелачивания 26. В этот аппарат из печи для обжига извести 28 по линии 29 подается известь, под действием которой карбонат натрия, находящийся в растворе, практически полностью превращается в гидроксид натрия. Шлам карбоната кальция, осаждающийся в аппарате 26, после промывки для удаления щелочных примесей по линии 2т, возвращается для использования в печь для обжига извести 28. Промывные воды, образующиеся при промывке шлама карбоната кальция, могут быть использованы для растворения твердого остатка от сжигания, куда они подаются по линии 18.
Водный раствор гидроксида натрия, получаемый в аппарате 26, возвращается по линии 80 для соединения с варочным раствором, подаваемым в варочный аппарат 2 по линии 3. Маточный раствор, получаемый после отделения карбоната натрия и содержащий хлорид и некоторое количество карбоната натрия, по линии 31 подают в испаритель 32. Там из него при нагревании выпаривают воду и выделяют твердый хлорид натрия, причем присутствующий карбонат натрия остается в растворе. Обычно испарение воды в аппарате 32 проводят путем кипячения раствора при пониженном давлении, предпочтительно до получения насыщенного раствора карбоната натрия. Выделяющаяся в испарителе вода удаляется по линии 34. Температура, до которой нагревается маточный раствор для достижения желаемой степени испарения и кристаллизации хлорида натрия, зависит от температуры, при которой происходит кристаллизация карбоната натрия в аппарате 20 и от относительных концентраций карбоната и хлорида натрия в маточном растворе. Применяемая температура должна быть выше температуры, при которой буди- кристаллизоваться карбонат натрия (можно использовать температуры до 104 °С), что позволяет выделять хлорид натрия в достаточно чистом виде. При этом для кристаллизации гидратированного карбоната натрия горячий водный раствор необходимо охлаждать до весьма низких температур, как правило 0—10 °С. Обычно работают в интервале температур 38—60 °С.
При проведении описанного выше процесса, в котором горячий водный раствор для кристаллизации гидратированного карбоната натрия охлаждают до ~15°С, маточный раствор можно нагревать для кристаллизации хлорида натрия до 49°С. Выпадающие кристаллы хлорида натрия имеют достаточную степень чистоты и выводятся по линии 33. Предпочтительно, чтобы количество удаляемого хлорида натрия в сумме с количеством хлорида, циркулируемого по линии 35, было примерно равно общему количеству хлорида натрия, содержащемуся в горячем водном растворе, который затем подвергается охлаждению для выделения кристаллогидрата карбоната натрия.
Хлорид натрия, выводимый по линии 33, может найти различные применения. Обычно его используют для регенерации химических агентов на стадии отбеливания. Например, водный раствор хлорида натрия можно подвергнуть электролизу для получения гидроксида натрия, подаваемой на стадию отбеливания по линии 8. Его можно также использовать для получения диоксида хлора и хлора путем взаимодействия с хлоратом натрия и серной кислотой. Получаемые диоксид хлора и хлор подаются на стадию отбеливания по линии 7. Кроме того, при электролизе водного раствора хлорида натрия может быть получен хлорат натрия, применяемый для получения диоксида хлора путем восстановления в кислой среде.
На схеме показано, что упаривание маточного раствора, полученного после отделения карбоната натрия, и отделение выпадающих из него кристаллов хлорида натрия проходят в одном и том же аппарате 32. В действительности обычно используют два отдельных аппарата, причем суспензию, образующуюся при выпаривании, переносят во второй аппарат, где и происходит отделение твердого хлорида натрия.
Маточный раствор, получаемый после выделения хлорида натрия, обычно еще содержит некоторые количества хлорида и карбоната натрия. По линии 35 его возвращают в аппарат для растворения остатка 17, либо соединяют с горячим водным раствором, подаваемым по линии 19. В маточном растворе по линии 35 могут содержаться малые количества гидроксида натрия, которые не были удалены с помощью описанного процесса. Присутствие гидроксида натрия может быть связано с использованием промывных вод со стадии промывки шлама карбоната кальция в аппарате для растворения 17, куда они подаются с водой по линии 18. Гидроксид натрия может также образовываться вследствие наличия малых количеств оксидов натрия в остатке от сжигания.
Маточный раствор из линии 35 может быть обработан диоксидом углерода или другими реагентами для превращения присутствующего гидроксида натрия в карбонат натрия до того, как маточный раствор из линии 35 соединяют с горячим водным раствором в линии 19. Таким образом можно предотвратить накопление гидроксида натрия в маточном растворе, рециркулируемом по линии 35. В случае необходимости, после выделения хлорида натрия маточный раствор может быть снова подвергнут охлаждению для осаждения дополнительных количеств гидрата карбоната натрия.
Таким образом, процесс позволяет разделить карбонат натрия и хлорид натрия, содержащиеся в остатке от сжигания и получить их в достаточно чистом виде со степенью извлечения из остатка близкой к количественной.
ЛИТЕРАТУРА
-
Вернадский В.И. Химическое строение биосферы Земли и ее окружения. М.: Мысль, 1967. 374 с.
-
Вронский В.А. Прикладная экология. Ростов н/Д.: Изд-во "Феникс", 1996. 512 с.
-
Винокурова Н.Ф., Трушин В.В. Глобальная экология. М.: Просвещение, 1998. 270 с.
-
Герасимов И.П. Научные основы современного мониторинга окружающей среды // Изв. АН СССР. Сер. географ. 1975. №3. С.13-25.
-
Дажо Р. Основы экологии. М.: Прогресс, 1975. 416 с.
-
Демина Т.А. Экология, природопользование, охрана окружающей среды. М.: Аспект Пресс, 1995. 143 с.
-
Дювиньо П., Танг М. Биосфера и место в ней человека / Пер. с франц. М.: Прогресс, 1973. 267 с.
-
Зеленин К. Н. Оксид азота (II): новые возможности давно известной молекулы // Соросовский образовательный журнал. 1997. № 10. С.105-110.
-
Израэль Ю.А. Экология и контроль состояния природной среды. М.: Гидрометеоиздат, 1984. 560 с.
-
Исидоров В.А. Органическая химия атмосферы. Л.: Химия, 1979. 344 с.
-
Колтун М. Земля. М.: Мирос, 1994. 176 с.
-
Ковда В.А. Биохимия почвенного покрова. М.: Наука, 1985. 263 с.















