122778 (689226), страница 5
Текст из файла (страница 5)
,
,
Из этого уравнения видно, что перемещение колокола зависит только от величины избыточного давления и его геометрических размеров и не зависит от массы колокола.
Для данного прибора его геометрические размеры являются постоянными величинами; постоянна также и плотность затворной жидкости, поэтому уравнение можно записать в форме
.
Рисунок 13 – схема колокольного прибора с уравновешивающим грузом
На рисунке 13 показана принципиальная схема колокольного прибора с уравновешивающим грузом. В этом случае колокол подвешивается к коромыслу, к которому крепится также груз G.
Длину плеча коромысла АВ, к которому подвешен колокол, обозначим через
, расстояние центра тяжести груза G от точки опоры коромысла – через а, площадь сечения колокола – через s. При давлении или разрежении колокол поднимется или опустится на некоторую величину
. При этом коромысло и шток груза G повернутся на некоторый угол φ. Равновесие наступит тогда, когда сравняются моменты от силы давления под колоколом и силы тяжести груза т.е.
,
или
.
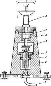
Сила тяжести колокола не входит в уравнение, так как она уравновешена силой тяжести груза. Уравновешивание пружиной применяется в дифференциальных манометрах. На рисунке 14 показана принципиальная схема бесшкального колокольного дифманометра – расходомера (ДК-1) с дифференциально-трансформаторным датчиком.
Прибор предназначен для измерения разности давлений газов. Колокол под воздействием разности давлений р1 – р2 и растянутой пружины, на которой он подвешен, погружается частично в трансформаторное масло. Плотность материала колокола больше плотности рабочей жидкости. Поэтому при р1 = р2 пружина будет растянута (она уравновешивает разность между силой тяжести колокола и силой от гидростатического давления). По мере нарастания разности давлений колокол поднимается, усилие пружины уменьшается (при дальнейшем увеличении перепада пружина уже не растягивается, а сжимается). При перемещении колокола перемещается плунжер дифференциально-трансформаторного датчика.
Рисунок 14 – схема бесшкального колокольного дифманометра: 1 – колокол; 2 – пружина; 3 – плунжер.
Конструкция прибора предусматривает, что газ или пар под избыточным давлением поступает из плюсовой камеры через разделительную жидкость в минусовую камеру. Вытесненная разделительная жидкость в этом случае попадает в запасные камеры, расположенные в основании прибора.
Такое устройство предупреждает повреждение прибора, если перепад давления превышает расчетный. Пределы измерения разности давлений от 98,1 до 981 Па (10–100 мм вод. ст.). При смене пределов измерений меняется сменная пружина. Предельное избыточное давление 0,245 МПа. Основная допустимая погрешность показаний в комплекте с вторичным прибором ±2% от максимального значения измеряемого перепада.
Рисунок 15 – схема электронного дифференциально-трансформаторного прибора: 1 – первичный прибор (дифманометр); 2 – вторичный прибор; 3,5 – сердечники
На рисунке 15 показана принципиальная схема датчика 1 в комплекте со вторичным прибором 2.
Рабочая катушка вторичного прибора совместно с катушкой датчика дифманометра включены в дифференциально-трансформаторную схему.
Каждая из катушек имеет первичную и вторичную обмотки. Вторичные обмотки состоят из секций, включенных навстречу одна другой. Благодаря такому включению э. д. с, индуктируемая в одной из секций, противоположна по знаку э. д. с, индуктируемой в другой секции.
Катушка с сердечником 5, включенная последовательно с катушками сердечников 3 и 4, служит для регулировки нулевого положения шкалы.
Она также имеет первичную обмотку и вторичную обмотку, состоящую из секций. Перемещая сердечник 5 в катушке, можно, не нарушая положения рабочих сердечников 3 и 4, отрегулировать начальное положение стрелки вторичного прибора.
При рассогласовании положений сердечников 3 и 4 возникнет напряжение разбаланса, величина и фаза которого зависят от величины и направления смещения сердечника 3.
Напряжение разбаланса усиливается в электронном усилителе ЭУ до величины, необходимой для управления реверсивным двигателем РД.
Реверсивный двигатель посредством профилированного диска перемещает сердечник 4 в положение, согласованное с сердечником 3, что приводит к равенству э. д. с, наводимых в обеих катушках, а следовательно, к новому состоянию равновесия. Одновременно реверсивный двигатель перемещает стрелку и перо прибора.
Кольцевые приборы предназначены для измерения малых давлений, разрежений и разности давлений.
Рисунок 16 – схема кольцевого прибора: 1-кольцо; 2 – перегородка; 3 – опора; 4,5 – трубка; 6 – груз.
На рисунке 16 показана схема кольцевого прибора. Он состоит из полого замкнутого кольца, разделенного вверху перегородкой. Кольцо подвешено при помощи ножовой опоры в геометрическом центре. С обеих сторон перегородки в кольцо входят трубки, служащие для соединения полостей кольца с полостью, в которой измеряется давление или разрежение. К нижней части кольца прикреплен груз. Полость кольца до половины заполнена жидкостью (водой, маслом, ртутью).
При соединении обеих полостей кольца с пространствами, в которых давление р и р1 (причем р > р1) уровень жидкости в левой половине кольца понизится, а в правой соответственно повысится; разность уровней будет пропорциональна разности давлений
,
В то же время сила от разности давлений, действующая на перегородку, создает вращающий момент
Мвр = (р – р1) sr,
где s – площадь перегородки; r – средний радиус кольца. Под действием этого момента кольцо поворачивается вокруг точки опоры по часовой стрелке. Поворот кольца создает противодействующий момент:
,
где G – сила тяжести груза;
а – расстояние центра тяжести системы от точки опоры; φ – угол поворота кольца.
При уравновешивании обоих моментов кольцо остановится в новом положении равновесия (Мвр = MG):
,
или
.
Так как сила тяжести груза и геометрические размеры кольца являются постоянными величинами, то уравнение можно написать в форме
.
Измеряемое давление (или разность давлений) пропорционально синусу угла поворота кольца. Поэтому шкала прибора неравномерная. Кроме того, по конструктивным соображениям угол поворота кольца нельзя сделать больше 60°, что ограничивает длину шкалы при непосредственном соединении кольца с указывающей стрелкой. Для увеличения длины шкалы между стрелкой прибора и кольцом выводят передачу, увеличивающую перемещение стрелки и одновременно выравнивающую шкалу прибора.
Приборы кольцевого типа изготовляются показывающими, показывающе-самопишущими, с дистанционной передачей показаний, а также в виде бесшкальных датчиков для систем телеизмерения.
Наибольшая возможная величина верхнего предела измерения определяется главным образом размерами кольца и плотностью затворной жидкости и обычно составляет 33,325 кПа (250 мм рт. ст.) для приборов с ртутным заполнением и 2,452 кПа (250 мм вод. ст.) для приборов с водяным или масляным заполнением. Изменение пределов измерения осуществляется сменой уравновешивающего груза.
Приборы с водяным и масляным заполнением предназначаются для работы при избыточном давлении до 49 кПа (0,5 кг/см2); приборы с ртутным заполнением – до 0,98–9,80 кПа (10 – 100 кг/см2). Основная допустимая погрешность кольцевых приборов не превышает 1,1–1,5% от верхнего предела измерения.
В приборах низкого давления кольцо изготовляется из листового металла. Измеряемая среда подводится с помощью резиновых трубок, создающих очень небольшой противодействующий момент, которым можно пренебречь. В приборах среднего давления кольцо изготовляют из цельнотянутой стальной трубы. Измеряемая среда подводится через бронзовые или стальные трубки, витки которых навиты в противоположных направлениях. При повороте кольца в спиралях возникают усилия, действующие в разные стороны и взаимно уравновешивающиеся.
Преимуществами кольцевых приборов перед поплавковыми и колокольными является отсутствие уплотнительных устройств в передаточном механизме (особенно важно для приборов высокого давления) и независимость чувствительности прибора от изменений плотности рабочей жидкости и среды над ней.
К недостаткам кольцевых приборов можно отнести чувствительность к качеству сборки и монтажа и наличие трубок, подводящих давление, которые могут вносить погрешность в измерении.
3.1.2 Поршневые манометры
Поршневые манометры в основном применяются для градуировки и поверки различных видов пружинных манометров, так как отличаются высокой точностью и широким диапазоном измерений, от 0,098 до 980 МПа (1–10 000 кг/см2).
Образцовый поршневой манометр (типа МОП) схематически показан на рисунке 17. Прибор состоит из колонки, укрепленной на станине прибора. В колонке имеется вертикальный цилиндрический канал, в котором движется пришлифованный поршень, несущий на верхнем конце тарелку для накладывания грузов.
Рисунок 17 – Схема образцового поршневого манометра типа МОП:
1 – колонка; 2 – поршень; 3 и 8 – воронки; 4 – бобышки;
5 – канал; 6 – тарелка: 7 – поршень; 9 – 13 – вентили
Верхняя часть колонки снабжена воронкой для сбора масла, просачивающегося через зазор между поршнем и цилиндром.
В станине высверлен горизонтальный канал, в расширенной части которого движется от винтового штока поршень 7, уплотненный манжетами.
Канал в станине соединяется с каналом колонки и каналами двух бобышек, служащих для укрепления поверяемых манометров. Кроме того, с каналом станины соединен канал воронки 8, которая служит для заполнения системы маслом. Каналы снабжены игольчатыми вентилями 9–12 для отъединения их от канала станины. Вентиль 13 служит для спуска масла из прибора.
Максимальное давление, создаваемое грузами, 4900 кПа (50 кг/см2).
Для поверки манометров на большее давление пользуются поршневым прессом, отъединив от прибора поршневую колонку 1 вентилем 10. В качестве прибора сравнения применяют образцовый пружинный манометр, присоединяя его к одной из бобышек 4, а поверяемый прибор – к другой бобышке.
Рисунок 18 – поршневой манометр с гидравлическим мультипликатором: 1 – трубка; 2 – корпус; 3–7 – цилиндры; 4 – поршень высокого давления; 5 – шкив; 6 – поршень низкого давления; 8 – колонка поршневого манометра
Образцовые поршневые манометры МОП с пределом измерений до 4,9 МПа в зависимости от разряда имеют основную относительную допустимую погрешность при температуре 20 ± 5° С: 1-го разряда 0,02%, 2-го разряда 0,05%, 3-го разряда 0,2%.
Приборы 1 и 2-го разрядов применяются для поверки образцовых поршневых и пружинных манометров, а приборы 3-го разряда – для поверки рабочих пружинных манометров.
Для измерения высоких давлений (до 980МПа) применяются поршневые манометры с гидравлическим мультипликатором (системы Жоховского), схема которого показана на рисунке 18. Он состоит из поршневого манометра с пределом измерения 4,9 МПа и двухпоршневого гидравлического мультипликатора.















