122638 (689203)
Текст из файла
Система управления положением бортового прожектора вертолёта
Пояснительная записка к курсовому проекту по дисциплине системы автоматического управления
Выполнил студент гр. 3410 Набиуллин А.Х.
Казанский Государственный Технический Университет им. А. Н. Туполева
Казань, 2006
Задание на курсовой проект
Необходимо разработать двухкоординатную систему дистанционного управления бортовым прожектором вертолёта в соответствии с техническими требованиями.
Технические требования представлены в таблице 1.
Таблица 1.
| Параметры прожектора | Обозначение | Значение |
| Габариты прожектора, мм |
| 150×200 |
| Масса прожектора, кг |
| 2 |
| Размеры органа управления |
| 70×35 |
| Источник питания, В |
| 36(400) |
| Время переходного процесса, сек |
| 0.15 |
| Динамическая ошибка, % |
| 10 |
| Диапазоны регулирования: | ||
| по азимуту, град |
| ±180 |
| по углу места, град |
| +5, -90 |
| Максимальное время перемещения в пределах полного диапазона, сек |
| 2 |
|
| 1.8 |
Задание:
Построить математическую модель объекта (считая прожектор однородным телом).
Выбрать тип приводного двигателя и передаточное число редуктора, тип датчиков для органа управления.
Составить структурную схему каждого канала системы с указанием передаточных функций звеньев.
Синтезировать регулятор для каждого канала.
Разработать электрическую схему системы, включая регуляторы.
Конструкторская часть – по согласованию с преподавателем.
1. Построение математической модели объекта управления.
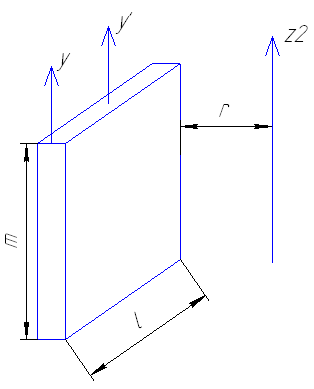
На рис.1 представлена схема бортового прожектора.
Рис.1 Схема бортового прожектора
Построим математическую модель системы методом Лагранжа.
В целях упрощения математической модели накладываем на систему некоторые допущения:
Все тела системы абсолютно жесткие;
Люфты в редукторе отсутствуют.
Запишем уравнения Лагранжа по следующей формуле
.
Здесь:
- сумма кинетических энергий всех тел системы,
- обобщенная координата,
- обобщенная сила инерции,
- обобщенная скорость.
Число степеней свободы рассматриваемой системы равно двум.
За обобщённые координаты принимаем угловые перемещения прожектора вокруг осей x и y. Таким образом,
.
Запишем кинетические энергии системы.
Запишем кинетическую энергию второго двигателя
,
где:
- передаточное отношение второго редуктора;
- момент инерции второго двигателя.
Запишем кинетическую энергию вилки
,
где:
- момент инерции вилки.
Запишем кинетическую энергию первого двигателя.
,
где:
- передаточное отношение первого двигателя;
- момент инерции первого двигателя;
- масса первого двигателя;
- расстояние от центра масс первого двигателя до оси
.
Запишем кинетическую энергию прожектора
,
где:
- момент инерции прожектора вокруг оси
;
- момент инерции прожектора вокруг оси
.
,
где:
- радиус прожектора;
- длина прожектора.
.
.
.
.
Запишем сумму кинетических энергий всех тел системы
.
;
;
;
.
.
Определяем работы при малых приращениях
;
;
;
.
Ниже представлены уравнения Лагранжа для исследуемой системы
.
Проводим линеаризацию полученных уравнений.
Определяемся с номинальным движением
.
Принимем
,
где
,
- бесконечно малые приращения.
.
.
.
.
.
.
.
.
.
Подставляем полученные соотношения в уравнения Лагранжа.
.
Принимаем
;
.
Переписываем уравнения относительно отклонений, оставляя только первый порядок малости
;
.
Получаем окончательные уравнения
;
.
2. Выбор типа приводного двигателя.
Требуемую мощность двигателя определяем по формуле
,
где:
- требуемый вращающий момент на выходном валу двигателя;
- частота вращения объекта, приводимого в движение двигателем.
,
где:
- момент инерции всех тел, приводящихся в движение двигателем;
- угловое ускорение этих тел.
Зададим синусоидальное входное воздействие
;
;
.
Требуемую мощность двигателя будем вычислять по формуле
.
Вычисляем требуемую мощность первого двигателя
.
.
- для первого двигателя равняется половине диапазона регулирования по углу места.
.
.
.
По найденной требуемой мощности двигателя из справочной литературы был выбран двигатель ДПМ-25-Н1-04 со следующими характеристиками:
;
;
;
;
;
;
.
Вычисляем требуемую мощность второго двигателя.
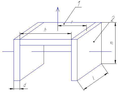
Вычисляем момент инерции вилки. Конструкция вилки упрощённо показана на рис. 2.
Рис. 2 Схема вилки
Примерно определимся с размерами вилки.
Принимаем
;
;
;
;
Вычисляем объём составных частей вилки
,
.
Вычисляем массы составных частей вилки
,
.
Момент инерции вилки найдём как сумму моментов инерции верхней части вилки и боковин.
Верхняя часть вилки показана на рис. 3.
Рис.3 Верхняя часть вилки
Определяем момент инерции верхней части вилки, при этом пользуемся известной теоремой Штейнера-Гюйгенса
.
.
Боковина вилки показана на рис.4.
Рис.4 Боковина вилки
Определяем момент инерции боковины вилки
,
,
.
Определяем момент инерции вилки
.
Масса вилки
.
.
.
.
По найденной требуемой мощности двигателя из справочной литературы был выбран двигатель ДПМ-25-Н1-07 со следующими характеристиками:
;
;
;
;
;
;
.
Вычисляем скорости вращения валов прожектора.
Вычисляем скорость вращения прожектора вокруг оси x.
Вычисляем скорость вращения прожектора вокруг оси z.
.
.
.
.
3. Составление структурных схем каналов системы, синтез регуляторов.
3.1 Составление структурной схемы первого канала, синтез регулятора.
Применим преобразование Лапласа к полученному уравнению Лагранжа
.
.
Структурная схема канала 1 показана на рис. 5.
Рис.5 Структурная схема первого канала
На схеме обозначены:
;
;
;
;
;
;
.
Подставляем найденные значения в структурную схему.
На рис.6 представлена блок-схема первого канала.
Рис.6 Блок-схема первого канала
На рис. 7 представлена упрощённая блок-схема первого канала.
Рис.7 Упрощённая блок-схема первого канала
Ещё более упростим систему, записав единое уравнение для части системы, замкнутой обратной связью с коэффициентом 29,4. Для этого запишем передаточную функцию
по
(
по
).
Уравнение разомкнутой системы
.
.
Уравнение замкнутой системы:
.
Рис.8 Упрощённая блок-схема первого канала
Запишем окончательную передаточную функцию разомкнутой системы.
;
;
.
Так как
, то имеем колебательное звено. Учитывая что
, можно пользоваться асимптотическими ЛЧХ колебательного звена, колебания будут малы.
Находим сопрягающую частоту
;
.
На рис. 9 представлены ЛЧХ нескорректированного первого канала.
Рис.9 Нескорректированные ЛЧХ первого канала
По ЛАЧХ видно, что нескорректированная система первого канала устойчива, но предъявленные к систем требования по качеству не выполняются. Кривая ЛАЧХ пересекает ось абсцисс на очень низкой частоте, вследствие чего система имеет очень высокое время регулирования. Путём моделирования нескорректированной системы в среде Matlab было установлено, что время регулирования составляет порядка 15 секунд.
Введём в исследуемую систему корректирующие звенья. Рассчитаем их методом синтеза последовательной коррекции. Найдём желаемую частоту среза, исходя из заданных времени регулирования и величины перегулирования.
Желаемую ЛАЧХ построим исходя из следующих соображений. Среднечастотный участок желаемой ЛАЧХ образуется асимптотой с наклоном
, проводимый так, чтобы она пересекала ось частот при
. Этот участок проводится влево и вправо до достижения модулей, равных по крайней мере
. Высокочастотную область можно пустить параллельно исходной ЛАХ. Низкочастотная область желаемой ЛАЧХ также должна по возможности повторять нескорректированную ЛАЧХ.
Построенная асимптотическая ЛАЧХ находится в приложении к пояснительной записке.
После построения желаемой ЛАЧХ и ЛФЧХ можно строить ЛАЧХ и ЛФЧХ коррекции, исходя из следующих соотношений:
;
;
;
.
Ниже представлена вычисленная передаточная функция коррекции.
.
На рис. 10 показаны ЛЧХ скорректированного первого канала.
Характеристики
Тип файла документ
Документы такого типа открываются такими программами, как Microsoft Office Word на компьютерах Windows, Apple Pages на компьютерах Mac, Open Office - бесплатная альтернатива на различных платформах, в том числе Linux. Наиболее простым и современным решением будут Google документы, так как открываются онлайн без скачивания прямо в браузере на любой платформе. Существуют российские качественные аналоги, например от Яндекса.
Будьте внимательны на мобильных устройствах, так как там используются упрощённый функционал даже в официальном приложении от Microsoft, поэтому для просмотра скачивайте PDF-версию. А если нужно редактировать файл, то используйте оригинальный файл.
Файлы такого типа обычно разбиты на страницы, а текст может быть форматированным (жирный, курсив, выбор шрифта, таблицы и т.п.), а также в него можно добавлять изображения. Формат идеально подходит для рефератов, докладов и РПЗ курсовых проектов, которые необходимо распечатать. Кстати перед печатью также сохраняйте файл в PDF, так как принтер может начудить со шрифтами.















