25350-1 (689135), страница 3
Текст из файла (страница 3)
Достоинствами ТСПП являются небольшие габариты, малая инерционность, высокий коэффициент
. Однако они имеют и существенные недостатки:
нелинейный характер зависимости сопротивления от температуры;
отсутствие воспроизводимости состава и градуировочной характеристики, что исключает взаимозаменяемость отдельных ТС данного типа. Это приводит к выпуску ТСПП с индивидуальной градуировкой.
Типы и конструкции ТС
Для решения различных задач ТС делятся на эталонные, образцовые и рабочие, которые в свою очередь подразделяются на лабораторные и технические.
Эталонные ТС предназначены для воспроизведения и передачи шкалы МПТШ в интервале 13.81 903.89 К.
Т
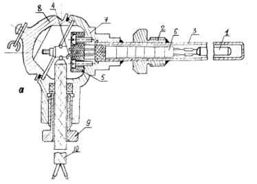
ехнические ТС в зависимости от назначения и конструкции делятся на: погружаемые, поверхностные и комнатные; защищенные и не защищенные от действия агрессивной среды; стационарные и переносные; термометры 1-го, 2-го и 3-го классов точности и т. д. На (рис. 7) представлены конструкции промышленных ТС с неподвижным (а) и подвижным (б) штуцерами. Термометр состоит из чувствительного элемента 1, расположенного в защитном стальном чехле 3, на котором приварен штуцер 2 с резьбой М27х2. Провода 4, армированные фарфоровыми бусами 6, соединяют выводы чувствительного элемента с клеммной колодкой 5, находящейся в корпусе головки 7. Сверху головка закрыта крышкой 8, снизу имеется сальниковый ввод 9, через который осуществляется подвод монтажного кабеля 10. При измерении температуры сред с высоким давлением на чехол ТС устанавливается специальная защитная (монтажная) гильза 12.
Ч
увствительный элемент ТС выполнен из металлической тонкой проволоки с безындукционной каркасной или бескаркасной намоткой.
Значительно реже в металлургической практике встречаются полупроводниковые термометры сопротивления (ТСПП) для измерения температуры (-90)(+180) 0С. Их применяют в термореле, низкотемпературных регуляторах, обеспечивающих высокоточную стабилизацию чувствительных элементов газоанализаторов, хроматографов, корпусов пирометров, электродов термоэлектрических установок для экспресс-анализа состава металла и т. п.
Мостовые схемы измерения сопротивления термометров
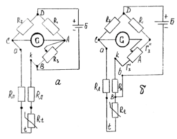
Для измерения сопротивления используют четырехплечие уравновешенные (ручные или автоматические) и неуравновешенные мосты.
Уравновешенный мост
Уравновешенный мост, принципиальная схема которого приведена на (рис. 8а), используется для определения величины сопротивления при градуировке ТС и при измерениях температуры в лабораторных условиях.
Нулевой метод измерения характеризуется высокой точностью, так как исключается влияние окружающей температуры, магнитных полей и изменения напряжения батареи питания Б. Однако значительная погрешность может возникать при изменении сопротивления соединительных проводов Rл, что вызывается значительными сезонными и суточными колебаниями температуры в местах прохождения кабеля, соединяющего ТС и измерительный мост.
На (рис. 8б) представлена трехпроводная схема включения ТС, в которой одна вершина диагонали питания (В) перенесена непосредственно к термометру. Для равновесия можно записать
,
откуда
(2)
Сопротивление проводов Rл оказываются включенными в различные плечи моста, поэтому изменение их величины Rл практически взаимно компенсируются.
Неуравновешенный мост
Неуравновешенный мост исключает необходимость выполнения ручных операций по изменению величины R3. В нем вместо нуль-прибора G в диагональ моста AC устанавливается миллиамперметр. При постоянном напряжении питания и постоянных сопротивлениях R1, R2, R3 через этот прибор протекает ток, величина которого зависит (нелинейно) от изменения RТ. Использование данных мостов для измерения температуры ограниченно. В основном они применяются для преобразования сопротивления термометра в напряжение.
Автоматические уравновешенные мосты
Автоматические уравновешенные мосты широко используются для измерения и регистрации температуры в комплекте с ТС. Их характеризует высокая точность и возможность использования в системах автоматического регулирования. Они выпускаются различных модификаций: одно- и многоточечные, с дисковой или ленточной диаграммой, с сигнальными устройствами и др.
Н
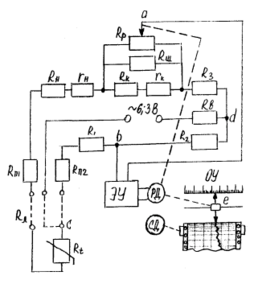
а (рис. 9) приведена принципиальная схема автоматического уравновешенного моста, который, так же как ручной равновесный мост, реализует нулевой метод измерения сопротивления.
Термометр сопротивления Rt подключен к прибору по трехпроводной схеме. В измерительную схему моста входят уравновешивающий реохорд Rр с шунтирующим его резистором Rш (ограничивает ток, текущий по реохорду); резисторы Rн и Rк, определяющие начало и конец шкалы; спирали rн и rк, обеспечивающие точную подгонку диапазона шкалы и являющиеся частью резисторов Rн и Rк; резисторы R1, R2 и R3, образующие постоянные плечи моста; TC Rt, являющийся переменным плечом; балластный резистор Rб, который ограничивает ток в мостовой схеме и обеспечивает минимальный нагрев ТС; подгоночный резисторы Rп1 и Rп2, обеспечивающие сопротивление подводящей линии Rл=5 Ом (каждый из двух соединительных проводов имеет сопротивление 2.5 Ом).
Электронный усилитель переменного тока ЭУ включен в диагональ ab и обеспечивает усиление разбаланса, возникающего в измерительной схеме при изменении сопротивления ТС Rt. Усиленный сигнал поступает на вход реверсивного двигателя РД, который вращением вала заставляет перемещаться подвижную каретку регистрирующего устройства е и движок реохорда Rр. Вращение вала происходит до тех пор, пока не наступит новое равновесие схемы; напряжение разбаланса станет равным 0, сигнал на входе РД также исчезнет и двигатель остановится.
Питание измерительной схемы моста производится через диагональ d с помощью силового трансформатора ЭУ переменным током напряжением 6.3 В и частотой 50 Гц. Синхронный двигатель СД перемещает диаграммную бумагу относительно пера или печатающего устройства с постоянной скоростью.
1.4. Измерение термо-ЭДС компенсационным путем
Измерение термо-ЭДС термопары прямым путем, по силе тока в цепи постоянного сопротивления, с помощью милливольтметра, можно осуществить сравнительно просто. Однако этот метод обладает рядом недостатков, создающих дополнительные погрешности, что в большинстве случаев не позволяет получить высокой точности измерения.
В измерительной технике кроме прямых методов измерения известны компенсационные метода или методы противопоставления (сравнения) неизвестной величины величине известной. Компенсационные методы позволяют провести измерения более точно, хотя и не всегда так просто, как прямое измерение.
Основное преимущество компенсационного измерения термо-ЭДС, по сравнению с прямым, с помощью милливольтметра, состоит в том, что в момент измерения ток в цепи термопары равен 0. Это означает, что величина сопротивления внешней цепи не имеет значения: никакой подгонки сопротивления внешней цепи делать не надо и беспокоиться о влиянии температуры окружающей среды на внешнюю цепь нет необходимости.
1.5. Автоматические потенциометры
Автоматические потенциометры служат для компенсационных измерений термо-ЭДС без ручных манипуляций, свойственных неавтоматическим потенциометрам. У последних ручные манипуляции после стандартизации тока сводятся к следующей необходимости перемещать движок реохорда до тех пор, пока стрелка гальванометра не встанет на ноль. При этом перемещение движка производится во вполне определенном направлении.
И
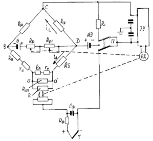
змерительная схема автоматического потенциометра в принципе не отличается от схемы не автоматического потенциометра (рис. 10).
Схема имеет три источника напряжения (батарея Б, нормальный элемент НЭ и термопару Т) и три цепи. Цепь батареи выполнена в виде моста: в диагональ BD включается питание, а в диагональ CA - цепь термопары. Цепь нормального элемента подключается к плечу CD компенсационной цепи. С помощью переключателя П в цепь термопары или в цепь нормального элемента включается электронный усилитель ЭУ (в том числе и вибрационный преобразователь). При включении цепи нормального элемента вводится шунтирующее сопротивление R1, параллельное электронному усилителю, так как в этом случае величина напряжения небаланса бывает много больше, чем при включении цепи термопары.
Электронные автоматические потенциометры называют иногда приборами с непрерывной балансировкой, так как измерение небаланса производится здесь с частотой переменного тока 50 Гц.
Широкое применение имеют многоточечные автоматические потенциометры с самопишущим устройством, предназначенным для записи показаний нескольких термопар. Такие потенциометры имеют автоматически действующие переключатели для поочередного включения в измерительную цепь цепей отдельных термопар. Запись производится либо различным цветом, либо определенными знаками для каждой термопары.
Поверка потенциометров производится путем сравнения их показаний с показаниями образцовых потенциометров более высокого класса точности. Погрешность образцового потенциометра не должна превышать 1/3 К, где К – численное выражение класса точности поверяемого прибора.
1.6. Бесконтактное измерение температуры
Основные понятия и законы излучения
О температуре нагретого тела можно судить на основании измерения параметров его теплового излучения, представляющего собой электромагнитные волны различной длины. Чем выше температура тела, тем больше энергии оно излучает.
Термометры, действие которых основано на измерении теплового излучения, называют пирометрами. Они позволяют контролировать температуру от 100 до 6000 0С и выше. Одним из главных достоинств данных устройств является отсутствие влияния измерителя на температурное поле нагретого тела, так как в процессе измерения они не вступают в непосредственный контакт друг с другом. Поэтому данные методы получили название бесконтактных.
На основании законов излучения разработаны пирометры следующих типов:
пирометр суммарного излучения (ПСИ) – измеряется полная энергия излучения;
пирометр частичного излучения (ПЧИ) – измеряется энергия в ограниченном фильтром (или приемником) участки спектра;
пирометры спектрального отношения (ПСО) – измеряется отношение энергии фиксированных участков спектра.
В зависимости от типа пирометра различаются радиационная, яркостная, цветовая температуры.
Радиационной температурой реального тела Тр называют температуру, при которой полная мощность АЧТ равна полной энергии излучения данного тела при действительной температуре Тд.
Яркостной температурой реального тела Тя называют температуру, при которой плотность потока спектрального излучения АЧТ равна плотности потока спектрального излучения реального тела для той же длины волны (или узкого интервала спектра) при действительной температуре Тд.
Цветовой температурой реального тела Тц называют температуру, при которой отношения плотностей потоков излучения АЧТ для двух длин волн
и
равно отношению плотностей потоков излучений реального тела для тех же длин волн при действительной температуре Тд.
Пирометры частичного излучения
К данному типу пирометров, измеряющих яркостную температуру объекта, относятся монохроматические оптические пирометры и фотоэлектрические пирометры, измеряющие энергию потока в узком диапазоне длин волн.
Оптические пирометры
П
ринцип действия оптических пирометров основан на использовании зависимости плотности потока монохроматического излучения от температуры. На (рис. 11) представлена схема оптического пирометра с "исчезающей" нитью, принцип действия которого основан на сравнении яркости объекта измерения и градуированного источника излучения в определенной длине волны.
















