25350-1 (689135), страница 2
Текст из файла (страница 2)
Поправки по (1) и (2) могут иметь большие значения у термометров с органическими термометрическими жидкостями, для которых коэффициент
примерно на порядок выше, чем у ртутных термометров.
Манометрические термометры
Д
ействие манометрических термометров основано на использовании зависимости давления вещества при постоянном объеме от температуры. Замкнутая измерительная система манометрического термометра состоит из (рис. 2) из чувствительного элемента, воспринимающего температуру измеряемой среды, - металлического термобаллона 1, рабочего элемента манометра 2, измеряющего давление в системе, длинного соединительного металлического капилляра 3. При изменении температуры измеряемой среды давление в системе изменяется, в результате чего чувствительный элемент перемещает стрелку или перо по шкале манометра, отградуированного в градусах температуры. Манометрические термометры часто используют в системах автоматического регулирования температуры, как бесшкальные устройства информации (датчики).
Манометрические термометры подразделяют на три основных разновидности:
жидкостные, в которых вся измерительная система (термобаллон, манометр и соединительный капилляр) заполнены жидкостью;
конденсационные, в которых термобаллон заполнен частично жидкостью с низкой температурой кипения и частично – ее насыщенными парами, а соединительный капилляр и манометр – насыщенными парами жидкости или, чаще, специальной передаточной жидкостью;
газовые, в которых вся измерительная система заполнена инертным газом.
Достоинствами манометрических термометров являются сравнительная простота конструкции и применения, возможность дистанционного измерения температуры и возможность автоматической записи показаний. К недостаткам манометрических термометров относятся: относительно невысокая точность измерения (класс точности 1.6; 2.5; 4.0 и реже 1.0); небольшое расстояние дистанционной передачи показаний (не более 60 метров) и трудность ремонта при разгерметизации измерительной системы.
Манометрические термометры не имеют большого применения на тепловых электрических станциях. В промышленной теплоэнергетике они встречаются чаще, особенно в случаях, когда по условиям взрыво – или пожаробезопасности нельзя использовать электрические методы дистанционного измерения температуры.
Поверка показаний манометрических термометров производится теми же методами и средствами, что и стеклянных жидкостных.
1.2. Термоэлектрические термометры
Для измерения температуры в металлургии наиболее широкое распространение получили термоэлектрические термометры, работающие в интервале температур от -200 до +2500 0C и выше. Данный тип устройств характеризует высокая точность и надежность, возможность использования в системах автоматического контроля и регулирования параметра, в значительной мере определяющего ход технологического процесса в металлургических агрегатах.
С
ущность термоэлектрического метода заключается в возникновении ЭДС в проводнике, концы которого имеют различную температуру. Для того, чтобы измерить возникшую ЭДС, ее сравнивают с ЭДС другого проводника, образующего с первым термоэлектрическую пару AB (рис. 3), в цепи которой потечет ток.
Результирующая термо-ЭДС цепи, состоящей из двух разных проводников A и B (однородных по длине), равна
или
(1)
где
и
- разности потенциалов проводников A и B соответственно при температурах t2 и t1, мВ.
Термо-ЭДС данной пары зависит только от температуры t1 и t2 и не зависит от размеров термоэлектродов (длины, диаметра), величин теплопроводности и удельного электросопротивления.
Для увеличения чувствительности термоэлектрического метода измерения температуры в ряде случаев применяют термобатарею: несколько последовательно включенных термопар, рабочие концы которых находятся при температуре t2, свободные при известной и постоянной температуре t1.
Устройство термоэлектрических термометров
Т
ермоэлектрический термометр (ТТ) – это измерительный преобразователь, чувствительный элемент которого (термопара) расположен в специальной защитной арматуре, обеспечивающий защиту термоэлектродов от механических повреждений и воздействия измеряемой среды. На (рис. 4) показана конструкция технического ТТ. Арматура включает защитный чехол 1, гладкий или с неподвижным штуцером 2, и головку 3, внутри которой расположено контактное устройство 4 с зажимами для соединения термоэлектродов 5 с проводами, идущими от измерительного прибора к термометру. Термоэлектроды по всей длине изолированы друг от друга и от защитной арматуры керамическими трубками (бусами) 6.
Защитные чехлы выполняются из газонепроницаемых материалов, выдерживающих высокие температуры и агрессивное воздействие среды. При температурах до 10000С применяют металлические чехлы из углеродистой или нержавеющей стали, при более высоких температурах – керамические: фарфоровые, карбофраксовые, алундовые, из диборида циркония и т. п.
В качестве термоэлектродов используется проволока диаметром 0.5 мм (благородные металлы) и до 3 мм (неблагородные металлы). Спай на рабочем конце 7 термопары образуется сваркой, пайкой или скручиванием. Последний способ используется для вольфрам-рениевых и вольфрам-молибденовых термопар.
Термоэлектрические термометры выпускаются двух типов: погружаемые, поверхностные. Промышленность изготавливает устройства различных модификаций, отличающихся по назначению и условиям эксплуатации, по материалу защитного чехла, по способу установки термометра в точке измерения, по герметичности и защищенности от действия измеряемой среды, по устойчивости к механическим воздействиям, по степени тепловой инерционности и т. п.
Стандартные и нестандартные термоэлектрические термометры
Для измерения в металлургии наиболее широко применяются ТТ со стандартной градуировкой: платинородий-платиновые (ТПП), платинородий-платинородиевые (ТПР), хромель-алюмелевые (ТХА), хромель-капелевые (ТХК), вольфрамрений-вольфрамрениевые (ТВР). В ряде случаев используют также ТТ с нестандартной градуировкой: медь-константановые, вольфрам-молибденовые (ТВР) и др. На (рис. 5) приведены градуировочные кривые ряда термопар.
В
условиях длительной эксплуатации при высоких температурах и агрессивном воздействии сред появляется нестабильность градуировочной характеристики, которая является следствием ряда причин: загрязнения материалов термоэлектродов примесями из защитных чехлов, керамических изоляторов и атмосферы печи; испарения одного из компонентов сплава; взаимной диффузии через спай. Величина отклонения может быть значительной и резко увеличивается с ростом температуры и длительностью эксплуатации. Указанные обстоятельства необходимо учитывать при оценке точности измерения температуры в производственных условиях.
Поверка технических ТТ
Поверка ТТ сводится к определению температурной зависимости термо-ЭДС и сравнению полученной градуировки со стандартными значениями.
Градуировка производится двумя методами: по постоянным точкам или сличениям.
Градуировка по постоянным (реперным) точкам является наиболее точной и применяется для образцовых термопар. Поверяемую термопару помещают в тигель с металлом высокой чистоты, установленной в печи, и регистрируют площадку на кривой изменения термо-ЭДС по мере повышения или понижения температуры металла. Данная площадка соответствует температуре плавления или кристаллизации металла, причем более предпочтительно вести градуировку по точке кристаллизации. В качестве реперных металлов используют золото, палладий, платину и др.
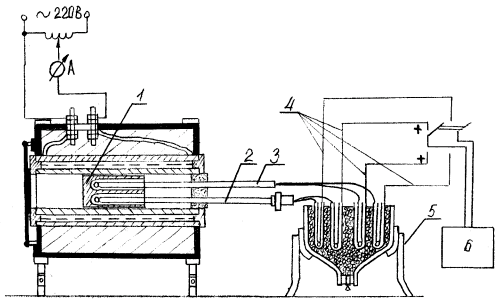
М
етодом сличения проводится градуировка образцовых термопар второго разряда и технических ТТ. Он заключается в непосредственном измерении термо-ЭДС градуируемой термопары при постоянной температуре свободных концов t0=0 0C и различных температурах t2 рабочего спая, причем последняя определяется с помощью образцового термометра (термопары, пирометра излучения). На (рис. 6) приведена схема установки для градуировки ТТ методом сличения с образцовой термопарой. Металлический блок служит для обеспечения равенства температур рабочих спаев образцовой и поверяемой термопар. Измерения термо-ЭДС производят с помощью переносного потенциометра с точностью измерения (отсчета) не хуже 0.1 мВ. Отсчет проводится после 10 минут выдержки при данной температуре.
1.3. Электрические термометры сопротивления
В металлургической практике для измерения температур до 6500С применяются термометры сопротивления (ТС), принцип действия которых основан на использовании зависимости электрического сопротивления вещества от температуры. Зная данную зависимость, по изменению величины сопротивления термометра судят о температуре среды, в которую он погружен. Выходным параметром устройства является электрическая величина, которая может быть измерена с весьма высокой точностью (до 0.020С), передана на большие расстояния и непосредственно использована в системах автоматического контроля и регулирования.
В качестве материалов для изготовления чувствительных элементов ТС используются чистые металлы: платина, медь, никель, железо и полупроводники.
Изменение электросопротивления данного материала при изменении температуры характеризуется температурным коэффициентом сопротивления
, который вычисляется по формуле
, (1)
где t – температура материала, 0С;
R0 и Rt – электросопротивление соответственно при 0 0С и температуре t, Ом.
Сопротивление полупроводников с увеличением температуры резко уменьшается, т. е. они имеют отрицательный температурный коэффициент сопротивления практически на порядок больше, чем у металлов. Полупроводниковые термометры сопротивления (ТСПП) в основном применяются для измерения низких температур (1.5 400 К).
















