66304 (687541), страница 6
Текст из файла (страница 6)
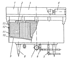
Заполнение и опорожнение аппарата продуктом осуществляются через патрубок в нижней части корпуса. Для контроля температуры продукта в нижней части корпуса установлены стеклянный термометр и термометр сопротивления. Для определения верхнего уровня продукта служат датчики верхнего уровня, для сигнализации опорожнения — датчик нижнего уровня. Пробу продукта для определения кислотности берут через кран, расположенный в цилиндрической части резервуара.
Рис. 8. Аппарат Я1-ОСВ-3. 1— стеклянный термометр; .2 —термометр сопротивления; 3 — пробный кран; 4—привод; 5— моечное устройство; 6—крышка; 7—вход хладоносителя; 8 — мешалка; 9— теплоизоляция; 10 — корпус; 11 — днище; 12— выход хладоносителя; 13 — датчик нижнего уровня; 14 — патрубок наполнения-опорожнения; 15—опора; 16— крышка люка; 17—лестница с площадкой обслуживания; 18— смотровое окно; 19 — светильник; 20 — датчики верхнего уровня; 21— воздушный клапан.
В резервуаре имеется люк, закрываемый крышкой с защелкой. У крышки люка установлен конечный выключатель. На крышке резервуара расположен патрубок для подсоединения к внешней охладительной установке. Система охлаждения в виде замкнутой спиралевидной рубашки позволяет прокачивать теплоносители под избыточным давлением, что повышает эффективность теплообмена и упрощает проектные решения по обвязке резервуаров трубопроводами.
В аппарате осуществляются следующие операции: заполнение продуктом до определенного уровня, введение закваски (при необходимости), перемешивание, сквашивание или созревание продукта, охлаждение. Резервуары оснащены средствами контроля, автоматического и дистанционного управления процессами, что позволяет обеспечить минимальную трудоемкость эксплуатации и высокое качество вырабатываемых продуктов. Рабоая вместимость 2,5 м³.
Сыроизготовитель Я5-ОСЖ-1
Состоит из ванны, траверсы, привода, режуще-вымешивающего инструмента, трубопроводов, пульта управления.
Ванна представляет собой емкость с теплообменной рубашкой, имеющей коллектор для подачи теплоносителя. В центральной части днища вмонтирован патрубок для выгрузки сырного зерна. Траверса служит опорой привода режуще-вымешивающего инструмента. Последний выполнен в виде рамы, на которой расположены вымешивающие элементы. Привод сыроизготовителя позволяет бесступенчато изменять частоту вращения режуще-вымешивающего инструмента в пределах 2…20 мин-1, а также реверсировать направление его движения. Частичный отбор сыворотки из ванны осуществляется через фильтр-отборник.
Сыроизготовители позволяют только вырабатывать сырное зерно . Формование и разрезка сырного пласта на бруски необходимой величины осуществляются с помощью тележек.
Рис.9.Сыроизготовитель Я5-ОСЖ-1:1-пульт управления; 2-режуще-вымешивающий инструмент; 3-траверса; 4-привод; 5-трубопровод для отвода теплоносителя; 6-трубопровод для подачи теплоносителя; 7-патрубок для выгрузки сырного зерна; 8-регулируемые опоры; 9-днище; 10-ванна; 11-теплообменная рубашка; 12-коллектор для подачи теплоносителя; 13-внутренняя емкость.
Маслоизготовитель периодического действия РЗ-ОБЭ
Он предназначен для выработки масла методом периодического сбивания сливок
Маслоизготовитель состоит из следующих основных узлов: емкости, станины с коробкой передач и органами управления, опорной стойки, ограждения, орошающего устройства, тележки и шкафа управления.
Емкость представляет собой два конуса из листовой нержавеющей стали, сваренных по основанию. На вершине одного из конусов смонтирован люк для выгрузки масла. Емкость снабжена смотровым окном и двумя кранами для спуска пахты.
Внутри емкости имеется наклонно приваренная лопасть для сбивания сливок и обработки масла. Внутренняя поверхность шероховатая (имеет пескоструйную обработку), что препятствует прилипанию масла.
Коробка передач передает вращение емкости от двухскоростного электродвигателя через клиноременную передачу. Переключение скоростей производят с помощью рукоятки, выведенной на переднюю сторону коробки передач, в пусковых кнопок управления двухскоростным электродвигателем.
Электродвигатель установлен в станине на поворотной плите, позволяющей регулировать натяжение ремней.
Ограждение маслоизготовителя состоит из изогнутой трубы, имеющей на концах проушины с рычагами для противовесов. Ограждения крепятся шарнирно к кронштейнам. Благодаря шарнирам ограждение может поворачиваться вокруг своей оси.
С поднятым ограждением при нажатии на кнопку «Пуск» электродвигатель не включается. Ограждения предотвращает доступ обслуживающего персонала в зону вращения емкости.
Душ маслоизготовителя представляет собой трубу с отверстиями, расположенную над емкостью. Душ служит для регулирования температуры сбиваемых сливок в результате теплопроводности стальной емкости, орошаемой сверху в зависимостиот надобности холодной или горячей водой.
Тележка изготовлена из нержавеющей стали, предназначена для приема выгружаемых из емкости пахты и готового масла.
Сливки, заливают в маслоизготовитель на 40-50% его вместимости. Затем закрывают люк и опускают дугу. На реле времени устанавливают продолжительность сбивания сливок, на пульте управления включают электродвигатель привода на требуемую скорость. Плавным движением опускают в крайнее нижнее положение левый рычаг коробки передач, тем самым растормаживая емкость и включая фрикционную муфту, т.е.производя пуск маслоизготовителя.
По истечению установленного времени сбивания сливок и получение масленого зерна автоматически посредством реле времени отключается электродвигатель привода и включается звуковой сигнал. Из емкости выпускают и при необходимости производят промывку масленого зерна. После этого производят обработку масленого зерна. Готовое масло выгружают в тележку.
Рис.10. Маслоизготовитель периодического действия Р3-ОБЭ:1-опорная стойка; 2-емкость; 3-орошающее устройство (душ); 4-ограждение; 5-станина с коробкой скоростей; 6-тележка.
Оборудование
Розлив, фасование и упаковывание молока и молочных продуктов
Автомат ТБК фирмы «Тетра-Пак»–Равномерная подача упаковочного материала обеспечивается валиком 19 привода автомата. Валик служит для пуска и выключения привода автомата. Плотный и прочный продольный шов образуется благодаря привариванию ленты к противоположной кромке упаковочного материала.
В дозаторе наносится маркировка срока годности продукта. Затем упаковочный материал поступает в ванну с горячим (температура 70 градусов) 35% пероксидом водорода. Для стерилизации и просушки упаковочного материала из форсунок поступает горячий стерильный воздух.
После обсушки материал формуется в трубу, проходя систему валиков. Запаивание шва осуществляется узлом 5, состоящего из прижимов и кулачков. Для завершения запаивания служит узел 9.Продукт дозируется в пакет через специальный клапан и по трубе заполняет внутренний объем пакета. Этот клапан при помощи пара с температурой 133 градуса также герметизирует всю систему розлива от микробиологической среды во время мойки, когда стерильный продукт находится еще в линии подачи.
Поперечный шов вновь запаивается двумя парами кулачков и располагается ниже уровня заполнения молоком пакета. После дозирования молока поперечный шов запаивается и образуется пакет, заполненный продуктом. Заполненные и запаянные пакеты отделяются и попадают в узел окончательного формования. В этом узле верхние и нижние клапаны пакета загибаются и приклеиваются к его боковым панелям. Готовые пакеты по конвейру выходят из автомата и направляются на складирование, хранение или отправку потребителю.
Технические характеристики автомата ТБА
Таблица 16
| Показатель | ТБА/3 |
| Производительность, уп/ч | 3600 |
| Расход электроэнергии при, кВт*ч | 20 |
| подогреве | - |
| стерелизации | - |
| производстве | - |
| Воздуха, м/мин. | 0,5 |
| Воды, л/мин. | 10 |
| Пара при температуре 133 градуса | 1,7 |
| Габаритные размеры, мм | 3542×2610×5417 |
6. Расчет площади цеха
Для того чтобы рассчитать площадь основного цеха, необходимо сначала рассчитать площадь одного оборудования (ширину × длину оборудования), затем сложить все площади оборудования и умножить на добавочный коэффициент 6.
164м2 × 6 =984 м2
Следовательно, учитывая, примерно, все оборудование, необходимое для производства продукции, завод должен занимать как минимум 984 м2 .
7. Безопасность и экологичность завода
7.1 Охрана труда
Охрана труда - система сохранения жизни и здоровья работников в процессе трудовой деятельности, включающая в себя правовые, социально - экономические, организационно - технические, санитарно - гигиенические, лечебно профилактические мероприятия.
На заводе разработана система провидения инструктажа по Технике безопасности, пожарной безопасности и электробезопасности. Существует должность инженера по ОТ, который проводит вводный и внеочередной инструктаж в рамках предприятия.
Все работники, занятые при производстве молочной продукции, включая руководителей и специалистов производств, обязаны проходить обучение, инструктажи, проверку знаний по охране труда в соответствии с Порядком обучения по охране труда и проверки знаний требований охраны труда работников организаций, утвержденным постановлением Министерства труда и социального развития Российской Федерации и Министерства образования Российской Федерации от 13 января 2003 г. № 1/29 (зарегистрировано Министерством юстиции Российской Федерации регистрационный № 4209 от 12 февраля 2003 г.).
Принятые на работу, ознакамливаются со сводом правил и мер безопасности. Также при применении труда женщин работодатель должен руководствоваться Перечнем тяжелых работ и работ с вредными или опасными условиями труда, при выполнении которых запрещается применение труда женщин, утвержденным постановлением Правительства Российской Федерации от 25 февраля 2000 г. № 162.
При применении труда несовершеннолетних работодатель должен руководствоваться Перечнем тяжелых работ и работ с вредными или опасными условиями труда, при выполнении которых запрещается применение труда лиц моложе восемнадцати лет, утвержденным постановлением Правительства Российской Федерации от 25 февраля 2000 г. № 163.
Работники должны проходить обязательные предварительные (при поступлении на работу) и периодические (в течение трудовой деятельности) медицинские осмотры в соответствии с приказом Министерства здравоохранения Российской Федерации от 10 декабря 1996 г. № 405 "О проведении предварительных и периодических медицинских осмотров работников" (зарегистрирован Министерством юстиции Российской Федерации 31 декабря 1996 г. № 1224).
Условия труда на рабочих местах должны соответствовать требованиям действующих нормативных актов, утвержденных в установленном порядке.
На предприятии созданы благоприятные условия санитарно-бытового обслуживания. Есть отдельная комната отдыха, туалет. Имеется раздевалка, у каждого сотрудника отдельная кабинка. На предприятии предназначена спецодежда. У каждого индивидуальная и подписана. Все инструктажи на предприятии проводятся ответственно, по специальным программам.
Можно сделать вывод - на заводе уделяется большое внимание безопасности условий труда и охране труда работников.
7.2 Охрана окружающей среды
Под охраной природы понимают систему государственных, международных и общественных мероприятий, направленных на рациональное использование, охрану и воспроизводство природных ресурсов, защиту окружающей природы от загрязнения и разрушения в интересах ныне живущего и будущего поколения людей. Иначе говоря, охрана природы – это система мер, обеспечивающая оптимальные взаимоотношения человеческого общества с окружающей природной средой. Охрана окружающей природной среды - система комплексных мероприятий, направленных на сохранение, рациональное использование и воспроизводство природных ресурсов и окружающей среды.
Важнейшие задачи охраны природы: поддержание основных экологических процессов и экосистем в равновесном состоянии; сохранение генофонда и видового разнообразия организмов, недр, атмосферного воздуха, водных ресурсов и сохранение природных условий для развития человеческого общества; длительное не истощающее природу использование не только отдельных видов, но и отдельных экосистем в целом. Научно- техническая революция, рост промышленности, народонаселения и народов привели во второй половине 20 века к усилению воздействия человека на окружающую среду, на живую природу, появилась опасность истощения некоторых природных ресурсов. Под сильным хозяйственным воздействием находится около 50% поверхности суши: естественный покров степной зоны сменился посевами и насаждениями культурных растений, городскими и индустриальными территориями. Урбанизация поглощает около 300 тыс. га сельскохозяйственных земель в год.















