25090 (686721)
Текст из файла
Кафедра общей и прикладной геофизики
Курсовая работа
по геофизическим исследованиям скважин на тему:
Разработка инклинометра с непрерывным измерением азимута
Выполнил: студент группы 4151
Рыжов А. А.
Проверил: Неретин В.Д.
Дубна, 2005
Содержание
Введение 3
1. Определение искривления скважин 5
2. Оценка погрешностей измерения 11
3. Феррозондовые инклинометры 23
4. Гироскопические инклинометры 28
Заключение 36
Список литератур 37
Приложение 1 38
Введение
Целью курсовой работы является изучение и сравнение инклиномет- рических датчиков: феррозонда и гироскопа.
Актуальность темы. Непрерывный рост темпов разведки и добычи нефти и газа, увеличение интенсивности уже найденных месторождений за счёт применения кустового бурения и горизонтальной проводки месторождений потребовало существенного повышения точности диагностики и активного контроля пространственного положения ствола скважины.
Как известно, в бурение наклонных скважин одним из трудных и ответственных задач является ориентирование отклонителя для проведения зарезки с вертикального ствола. Ориентирование отклонителя связано с возможными ошибками, увеличивающимися с ростом глубины бурения.
Осуществить зарезку с вертикального ствола не представляется возможным провести на основе традиционно применяемой технике бурения. Интервалы искривления характеризуются возникновением осложнений и прихватов бурильного инструмента.
Это, в свою очередь, привело к необходимости создания новых, более совершенных поколений инклинометрических измерительных систем, с помощью которых осуществляется определения пространственного положения скважины.
Инклинометр, как измерительная система, используется в важнейшем технологическом процессе – строительстве скважин. По его показаниям маркшейдер контролирует соответствие профиля и плана скважины проектному заданию и корректирует соответствующим образом процесс бурения. Поэтому точность производимых измерений и оперативность их представления во многом определяют и стоимость затрат на построение скважины в целом.
Разработкой таких систем занимается ряд специализированных отечественных и зарубежных фирм. Однако отечественные инклинометры уступают зарубежным по техническим характеристикам, а последние имеют очень высокую стоимость.
В то же время, анализ научно – технических достижений наших ведущих предприятий аэрокосмической и приборостроительной отраслей показывает, что на базе своих разработок и научно – технических заделов они могут создавать отечественные инклинометры, конкурентоспособные на мировом рынке, как по своим техническим характеристикам, так и по стоимости.
Однако, несмотря на большой научный задел в области точного приборостроения, использование его для решения проблем инклинометрии требует дополнительного изучения и исследования. По этому все усилия, направленные на разработку инклинометрических систем, являются актуальными и своевременными.
1. Определение искривления скважин
В проектах на бурение проводка скважин предусматривается вертикальной или в заданном направлении (наклонно-направленные). Направленное бурение проводят в тех случаях, когда кровлю пласта необходимо вскрыть в точках, проекция которых на земную поверхность смещена относительно устья скважины. Это требуется при кустовом бурении (рис.1,а) в случае, когда невозможно разместить оборудование непосредственно над объектом бурения (рис.1,б), при вскрытии крутопадающих пластов (рис.1,в) и т. п.
Рис.1. Примеры применения наклонно-направленного бурения
а – кустовое бурение;
б – вскрытие пласта под препятствием;
в – вскрытие крутопадающего пласта под надвигом
Однако и при бурении вертикальных скважин за счет изгиба бурильных триб и вскрытия пластов различной твердости, залегающих под некоторым углом к горизонтальной поверхности, происходит отклонение ствола от вертикали, называемое искривлением скважины.
Информацию о фактическом положении ствола скважины необходимо иметь прежде всего технологам, с тем чтобы предотвратить значительные отклонения ствола от вертикали или заданного направления. Необходимо выявлять участки с резкими искривлениями, в которых может образоваться система желобов, приводящих к осложнениям при бурении, проведении геофизических исследований, при спуско-подъемах бурового инструмента, спусках обсадных колонн, фильтров. Кроме того, данные об искривлениях необходимо учитывать при геологических построениях, при определении месторасположения забоя, абсолютных отметок вскрываемых пластов и их нормальной мощности. Пространственное положение любой точки ствола скважины характеризуется двумя углами: углом искривления δ (кривизны скважины) – отклонением оси скважины от вертикали (рис.2,а) и дирекционным углом β (рис.2,б)– углом между горизонтальной проекцией элемента оси скважины, взятой в направлении увеличения глубины скважины, и географическим меридианом.
Рис.2 Проекция участка ствола скважины на вертикальную (а) и горизонтальную (б) плоскости.
Обычно вместо дирекционного угла пользуются магнитным азимутом φ, т. е. углом, отсчитываемым по ходу часовой стрелки между направлением на магнитный север См и горизонтальной проекцией элемента оси скважины.
Определение искривления скважины сводится к замерам положения в пространстве оси скважины, следующим один за другим. Причем в пределах каждого отрезка ось скважины отождествляют с прямой линией. Измерения в скважинах выполняют по точкам. В вертикальных скважинах расстояние между точками наблюдения l (шаг измерения) принимают равным 25м, в наклонно-направленных – 5 м.
При определении проекции ствола скважины условно принимают, что углы δ и φ, полученные в нижней точке интервала исследования, остаются постоянными до следующей точки измерения. Плоскость, проходящую через вертикаль, и прямую линию, принимаемую в данном интервале за ось скважины, называют плоскостью искривления. Истинные значения угла отклонения δ, а также величину горизонтальной проекции заданного интервала глубин определяют в плоскости искривления.
Проекцию интервалов ствола скважины на вертикальную плоскость (рис.2, а) определяют как
(1)
где
и
– глубина нижней и верхней точек измерения.
Для определения абсолютной отметки вскрываемого i-го пласта
вычисляют сумму вертикальных проекций от устья скважины до изучаемого интервала:
(2)
Горизонтальная проекция i-го интервала скважины
, отклоненного на угол
(рис. 2, б),
(3)
По данным измеренных углов и вычисленных значений горизонтальных проекций строят инклинограмму – проекцию оси скважины на горизонтальную плоскость (рис. 3). Инклинограмму получают путем последовательного построения всех вычисленных значений
, начиная с наименьшей глубины, и откладывают их в направлении измеренного угла φ. Соединив начальную точку первого интервала с конечной точкой последнего, получают общее смещение оси скважины от вертикали α на исследуемом участке. Величину смещения и его направление указывают на плане. Инклинограммы строят, как правило, в масштабе 1:200.
Рис.3 Пример построения инклинограммы – горизонтальной проекции ствола скважины
Углы и азимуты отклонения в скважинах измеряют специальными скважинными приборами – инклинометрами. В зависимости от системы измерения все инклинометры можно объединить в три группы.
Первая группа объединяет приборы, в которых для измерения азимута служит магнитная стрелка (буссоль), а датчиком угла является отвес. Показания датчиков с помощью градуированных сопротивлений (потенциометров) преобразуются в электрические сигналы и по жиле кабеля передаются на поверхность (инклинометр на сопротивлениях).
Во вторую группу входят фотоинклинометры. В качестве указателя азимута служит буссоль, указателя угла – сферическое стекло с нанесенной сеткой углов наклона и шарик, свободно перемещающийся по этой сферической поверхности. Замеры проводят по точкам. Регистрация осуществляется в скважинном приборе путей фотографирования показаний датчиков на кинопленку.
Третья группа – это гироскопические инклинометры. В качестве датчика азимута используют гироскоп, который при вращении сохраняет заданное направление оси в пространстве. Датчиком угле искривления служит отвес. Измерения выполняют непрерывно по 6 стволу скважины.
Приборами, в которых датчиком азимута служит буссоль, измерения азимута можно проводить только в открытом стволе скважины Гироскопические инклинометры позволяют измерять азимут в скважинах, обсаженных металлической колонной, а также в разрезах, в которых естественное магнитное поле Земли аномально искажено местными полями.
В практике геологоразведочных работ на нефть и газ наиболее широко применяются инклинометры с дистанционным электрическим измерением, в которых датчиками служат градуированные электрические сопротивления.
Основная часть инклинометра – вращающаяся рамка, кинематическая схема которой показана на рис. 4. Центр тяжести рамки смещён, в результате чего при положении скважинного прибора в пространстве плоскость рамки устанавливается перпендикулярно к плоскости искривления скважины. В рамке размещен указатель азимута и угла. Указатель азимута состоит из магнитной стрелки 1 и градуированного электрического сопротивления 2 (кругового реохорда).
Рис. 4 Схема конструкции измерительной части инклинометра на сопротивлениях
Круговой реохорд смонтирован на изоляционной панели и установлен под магнитной стрелкой. Магнитная стрелка выполнена из двух намагниченных стерженьков, которые закреплены в дюралюминиевом колпачке с агатовым подшипником. Подшипник насажен на острие оси 5. Стрелка снабжена изолированными от нее пружинными контактами 4.
Корпус, в котором смонтирован указатель азимута, закреплен на двух полуосях и под действием груза 5 занимает положение, при котором ось магнитной стрелки всегда ориентирована вертикально.
Датчик угла искривления состоит из отвеса 6, стрелки 7 и градуированного электрического сопротивления (углового реохорда) 8. Плоскость качания отвеса перпендикулярна к плоскости рамки и совпадает с плоскостью искривления скважины.
В инклинометре установлен электромагнит, который по команде с поверхности фиксирует или освобождает магнитную стрелку и отвес. С помощью коллектора с тремя контактными кольцами 9 и двумя парами щеток 10 к измерительной цепи подключаются с помощью переключателя П (рис. 5) либо реохорд угла наклона, либо датчик азимута.
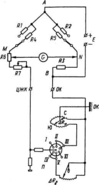
Рис.5. Принципиальная электрическая схема инклинометра
При изменении азимута магнитная стрелка пружинными контактами 4 закорачивает часть реохорда. Сопротивление незамкнутой части
пропорционально азимуту φ. При измерении угла стрелка указателя угла отклонения, жестко скрепленная с отвесом, переместится на дугу δ и закоротит реохорд. Сопротивление незакороченного участка реохорда
пропорционально углу δ.
ЦЖК – центральная жила кабеля; ОК – оплётка кабеля.
Углы отклонения измеряют при фиксированном положении всех чувствительных элементов. Для замеров
и
используют мостовую схему.
Три плеча моста имеют постоянное сопротивление и установлен! на поверхности в панели управления. Сопротивления
и
включаются при измерении углов, сопротивления
и
– при измерении азимута;
– общее сопротивление моста. Четвертое плечо слагается из сопротивления жилы кабеля, переменного сопротивление
, предназначенного для компенсации изменения сопротивление жилы кабеля, и сопротивлений реохорда угла наклона
или магнитной буссоли
.
В одну диагональ моста АВ подключен источник тока Е, в другую диагональ моста MN – гальванометр G. Переменное сопротивление
служит для компенсации моста при измерении
или
.
В настоящее время выпускаются инклинометры как для использования на одножильном кабеле, так и сбрасываемые в бурильную колонну (извлечение производится после подъема бурильной колонны либо с помощью овершота съёмной грунтоноски).
Характеристики
Тип файла документ
Документы такого типа открываются такими программами, как Microsoft Office Word на компьютерах Windows, Apple Pages на компьютерах Mac, Open Office - бесплатная альтернатива на различных платформах, в том числе Linux. Наиболее простым и современным решением будут Google документы, так как открываются онлайн без скачивания прямо в браузере на любой платформе. Существуют российские качественные аналоги, например от Яндекса.
Будьте внимательны на мобильных устройствах, так как там используются упрощённый функционал даже в официальном приложении от Microsoft, поэтому для просмотра скачивайте PDF-версию. А если нужно редактировать файл, то используйте оригинальный файл.
Файлы такого типа обычно разбиты на страницы, а текст может быть форматированным (жирный, курсив, выбор шрифта, таблицы и т.п.), а также в него можно добавлять изображения. Формат идеально подходит для рефератов, докладов и РПЗ курсовых проектов, которые необходимо распечатать. Кстати перед печатью также сохраняйте файл в PDF, так как принтер может начудить со шрифтами.















