166279 (685451), страница 2
Текст из файла (страница 2)
К экстрагирующему агенту предъявляется ряд требований помимо избирательного растворения одного из компонентов разделяемой смеси; основные из этих требований следующие:
-
он не должен образовывать азеотропов с компонентами
исходной смеси (чтобы его можно было без затруднений впоследствии отделить от них с целью его регенерации и получения чистых компонентов); -
он должен существенно отличаться от компонентов исходной смеси по температуре кипения, т.е быть значительно более труднолетучим, чем ВКК исходной смеси, или (это бывает реже) значительно более легколетучим, чем НКК исходной смеси (что позволяет его выделять без больших энергетических и капитальных затрат).
На рис.1.2 представлена схема разделения исходной смеси А+В методом экстрактивной ректификации с добавлением труднолетучего разделяющего агента С, хорошо растворяющего компонент В. Компонент С подается на одну из верхних тарелок колонны 1 и вместе с флегмой стекает вниз по колонне. Растворяя в себе компонент В, разделяющий агент С понижает тем самым упругость его паров и способствует разделению А и В. Верхний продукт колонны 1 представляет собой компонент А заданной чистоты, а нижний продукт — смесь В+С. Насосом 3 эта смесь подается в колонну 2, где методом обычной ректификации получают компоненты В (верхний продукт) и С (нижний продукт). При этом колонна 2, как правило, отличается небольшой высотой и работает с небольшим флегмовым числом, поскольку компоненты В и С существенно различаются по температуре кипения (см. второе требование к экстрагирующему агенту). Экстрагирующий агент С насосом 4 подают в колонну 1, замыкая цикл по компоненту С. Результатом работы по такой схеме является разделение исходной смеси А+В на отдельные компоненты А и В, причем некоторые потери разделяющего компонента С с этими продуктами восполняются.
Рис.1.2. Схема установки для экстрактивной ректификации: 1,2- ректификационные колонны, 3,4- насосы, 5- кипятильники, 6- конденсаторы; I- охлаждающая вода, II- греющий пар, III-конденсат, IV- восполнение потерь экстрагирующего агента.
В том случае, если экстрагирующий агент является легколетучим, т.е. отличается наиболее низкой температурой кипения (t
Примеры применения экстрактивной ректификации в промышленности.
Способ получения изопрена.
Экстрактивную ректификацию в промышленности используют главным образом для разделения.
В [6] предложен способ получения изопрена путем взаимодействия изобутилена, содержащегося во фракции углеводородов С4, с водой в присутствии кислотного катализатора с последующим выделением потока, содержащего преимущественно образующийся трет-бутанол, взаимодействием полученного трет-бутанола с формальдегидом в присутствии кислотного катализатора при повышенной температуре и давлении с разделением реакционной массы на водный и масляный слой и выделением изопрена из масляного слоя с использованием ректификации и, возможно, водной отмывки. Изопрен подвергают очистке от кислородсодержащих соединений экстрактивной ректификацией с использованием в качестве селективного растворителя полученный трет-бутанол, с последующей десорбцией кислородсодержащего соединения из насыщенного растворителя и подачей десорбированного растворителя на взаимодействие с формальдегидом. Из насыщенного растворителя десорбирует 30-95% кислородсодержащих соединений. Подаваемый на очистку изопрен содержит 2,0-20 мас.% трет-бутанола. Получаемый трет-бутанол, содержащий до 15 мас.% воды, подвергают контактированию с жидким потоком изопрена, выводимого сверху или в качестве бокового потока из верхней части колонны экстрактивной ректификации, после чего отделяют образующийся нижний слой, содержащий изопрен и трет-бутанол, направляют в верхнюю часть колонны экстрактивной ректификации.
Способ очистки изопрена.
В [7] предложен способ очистки изопрена от примесей, мешающих стереорегулярной полимеризации, экстрактивной ректификацией в присутствии разделяющего агента, содержащего 0,005-10 мас. % гидроокиси щелочного металла. С целью упрощения технологии процесса и снижения энергозатрат, в качестве разделяющего агента используют высококипящий побочный продукт, образующийся на стадиях синтеза или разложения диметилдиоксана в изопрен в процессе его производства из изобутилена и формальдегида, или высококипящий побочный продукт, образующийся в процессе одностадийного производства изопрена из изобутилена и формальдегида.
Способ выделения и очистки 1,3-диоксолана.
Изобретение [8] относится к способам выделения и очистки 1,3-диоксолана. из водных растворов, образующихся при взаимодействии этиленгликоля с формальдегидом (триоксан, параформ, формалин).
С целью увеличения выхода и упрощения технологии процесса за счет исключения стадии щелочной промывки из процесса осушки 1,3-диоксолана и повышения экологической чистоты технологии разделения азеотропной смеси 1,3-диоксолан-вода, проводят экстрактивную ректификацию с использованием в качестве экстрагента этиленгликоль. Предлагаемое изобретение может быть использовано для получения 1,3-диоксолана, применяется в производстве полимером и сополимеров,
Способ разделения смесей близко кипящих углеводородов.
Авторами [9] предложен способ разделения смесей близко кипящих углеводородов путем экстрактивной ректификации. В качестве экстрагента используют ацетонитрил или его смеси с водой и другими экстрагентами, с последующей десорбцией углеводородов из ацетонитрила в присутствии аммиака. С целью снижения потерь ацетонитрила и аммиака, десорбцию осуществляют в присутствии органических азотсодержащих соединений с константой основной диссоциации 1∙10ˉ6-1∙10ˉ1 , в количестве, обеспечивающим рН ацетонитрила после десорбции при десятикратном разбавлении водой (7,1-11).
Способ разделения углеводородов С4-С5.
Авторами [10] предложен способ разделения углеводородов С4-С5 экстрактивной ректификацией в присутствии ацетонитрила и его смесей с водой и аммиаком с водной отмывкой углеводородов и отгонкой ацетонитрила из промывных вод, причем с целью упрощения технологии и снижения коррозии оборудования, процесс осуществляется в присутствии гидроокиси щелочного металла. Концентрация гидроокиси в экстрагенте составляет 0,0001-0,001 мас.% или в промывной воде 0,0001-0,01 мас.%. Возможно, процесс проводят в присутствии нитрита щелочного металла или органического амина при его концентрации в экстрагенте 0,0001-0,01 мас.%, а в промывной воде-0,0001-0,1 мас.%.
Процесс извлечения пентафторэтана.
В работе [11] предложен процесс, предназначенный для извлечения пентафторэтана (ПФЭ) из его смеси с хлорпентафторэтаном (ПФЭ) в колонне для экстрактивной ректификации с минимальным числом теоретических тарелок. В качестве растворителя используют спирты С1-4, эфиры С2-6, кетоны С3-7. Концентрированный ПФЭ отбирается в нижней части колонны и подвергается дополнительной ректификации, смесь ХПФЭ и используемого растворителя удаляется вверху колонны.
Способ очистки бензола от непредельных углеводородов.
В [12] описывается способ очистки бензола от непредельных углеводородов, который состоит в том. что непредельные углеводороды отделяют от бензола верхним продуктом при экстрактивной ректификации с ДМФА, затем их подвергают олигомеризации при t=150-170°С в присутствии 0,0001-0001% мас., бензосульфокислоты в расчете на бензол с последующим объединением отогнанного от олигомеров бензола с бензолом, выделенным из нижнего продукта колонны экстрактивной ректификации и очищенным от тиофена известными методами. Технический результат - упрощение процесса и повышение его эффективности с получением целевого продукта высокой степени очистки с содержанием основного вещества не менее 99,90%.
Способ выделения ароматических углеводородов из их смесей с неароматическими.
В патенте [13] предложен способ выделения ароматических углеводородов из смесей с неароматическими углеводородами путем жидкой экстракции или экстрактивной ректификации селективными экстрагентами на основе гликоля, воды и растворителя с высокой растворяющей способностью. В качестве растворителя используют смесь монометиловых олигоэтиленгликолей обшей формулой CH3(CH2CH2O)m где m=2-8, М=175-190. Используется смесь монометиловых эфиров.
Азеотропная ректификация [3].
Метод азеотропной ректификации применим как для смесей с малым коэффициентом относительной летучести, так и для азеотропообразующих смесей (в том числе при составах, близких к азеотропному). В отличии от экстрактивной, при азеотропной ректификации разделяющий агент С образует с каким-либо компонентом разделяемой смеси азеотроп с иным соотношением компонентов, нежели в исходной смеси, если последняя является азеотропообразующей. В качестве разделяющих агентов могут применяться вещества, образующие гомоазеотропы с компонентами А и В (это могут быть азеотропы с максимумом или минимумом температур кипения), либо гетероазеотропы, представляющие собой тройные смеси разделяемых компонентов А и В с разделяющим агентом С. Во всех случаях один из компонентов разделяемой смеси в колонне азеотропной ректификации может быть получен в практически чистом виде.
На рис.1.3. изображена принципиальная схема установки азеотропной ректификации при работе с разделяющим агентом С, образующим с компонентом А гомоазеотроп с минимумом температуры кипения. Разделяющий (азеотропообразующий) агент С подается в колонну 1 не выше точки подачи исходной смеси А+В, чаще всего - вместе с исходной смесью. Сверху колонны в виде гомоазеотропа отводятся пары смеси А+С, конденсируемые в конденсаторе 3, а снизу - в качестве кубового остатка - практически чистый компонент В. Гомоазеотроп из колонны азеотропной ректификации подлежит разделению (в особом узле 2) на компонент А необходимой чистоты и разделяющий агент С. Последний вновь возвращается в колонну азеотропной ректификации.
Рис.1.3. Схема установки для азеотропной ректификации: 1- колонна для азеотропной ректификации, 2- узел разделения компонентов А и С, 3- конденсатор, 4- кипятильник; I- охлаждающая вода, II- греющий пар, III-конденсат, IV- восполнение потерь разделяющего агента.
Наиболее сложным и энергоемким в схемах азеотропной ректификации является узел разделения азеотропной смеси.
Несколько проще разделение смеси А+В с помощью разделяющего агента, образующего гетероазеотроп. Последний после его конденсации образует два жидких слоя с разными соотношениями разделяемых компонентов в них. Это различие в составах двух слоев сопровождается уменьшением требуемой разделительной способности самой ректификационной колонны (и ее высоты) по сравнению с образованием гомоазеотропа. Температура кипения гетероазеотропа всегда ниже, чем у компонентов А и В.
Отличительная особенность гетероазеотропов - равенство состава пара и брутто - состава жидкости.
Расслаивание и декантацию гетероазеотропной смеси осуществляют во флорентийском сосуде, позволяющем раздельно выводить слои легкой и тяжелой жидкости.
На рис.1.4 представлена схема установки для гетероазеотропной ректификации, в качестве флегмы здесь используется слой жидкости после расслаивания конденсата во флорентийском сосуде. Исходная смесь А+В (поток 1) может быть и азеотропообразующей любого состава, в том числе и близкого к азеотропному, она подается в колонну 1. Если соотношение А/В в парах гетероазеотропной смеси больше, чем в исходной, то снизу из этой колонны в качестве кубового продукта отводится высококипящий компонент В. Уходящие сверху колонны пары тройного азеотропа конденсируются в конденсаторе 3. Расслоение конденсата происходит во флорентийском сосуде 6. Это равновесное расслаивание наряду с ректификацией дает значительный вклад в общий процесс разделения бинарной смеси на чистые компоненты.
Один слой (верхний, с меньшим содержанием компонента А) возвращается в колонну 1 в качестве флегмы. Второй слой (на схеме - нижний, с большим содержанием компонента А) направляется в колонну 2. Поскольку температура кипения гетероазеотропа меньше, нежели компонента А, то сверху колонны 2 будут уходить пары гетероазеотропа. Они направляются в конденсатор 3' - нередко он общий для двух колонн. Снизу колонны 2 отводится продукт А заданной чистоты; последняя зависит от высоты колонны 2, представляющей собой по сути отгонную колонну, в которой из жидкости отгоняется легколетучий гетероазеотроп.
Рис. 1.4. Принципиальная схема установки гетероазеотропной ректификации. 1,2- колонны, 3, 3'- конденсаторы, 4,5- кипятильники, 6- флорентийский сосуд, I-исходная смесь; о, II- кубовые остатки в колоннах 1 и 2 соответственно; III, IV- составы паров из колонн 1 и 2; V,VI- составы равновесных слоев жидкости.
Такой комплекс, в частности, используют для разделения гетероазеотропных смесей типа н-бутиловый спирт - вода, винилацетат - вода, масляный альдегид - вода.
Такой же комплекс применяется и для разделения гомоазеотропных смесей с добавкой новых компонентов, образующих гетероазеотропы с компонентами исходной смеси. Примером такого разделения может служить гетероазеотропная осушка спиртов (этилового, изопропилового) в присутствии углеводородов (бензола, толуола, гексана). Например, при производстве изопропилового спирта его осушка может быть осуществлена на таком комплексе при сочетании гетероазеотропной ректификации с расслаиванием [4].
1.3. ПРИМЕНЕНИЕ СЛОЖНЫХ КОЛОНН ДЛЯ РАЗДЕЛЕНИЯ ЗЕТРОПНЫХ И АЗЕОТРОПНЫХ СМЕСЕЙ.
К сложным колоннам относятся колонны с боковыми отборами, колонны с несколькими питаниями, а также колонны с полностью или частично связанными (колонны с боковыми секциями) тепловыми и материальными потоками. Использование сложных колонн как элементов разделительного комплекса резко повышает число возможных вариантов организации процесса разделения.
Комплексы со связанными тепловыми потоками были исследованы применительно к разделению ряда промышленных смесей.
Их использование на установках газофракционирования для разделения смеси изо-С4, н-С4, изо-С5, н-С5 позволяет уменьшить энергозатраты на разделение приблизительно на 50 % [14].
Аналогичные результаты может дать применение комплексов со связанными тепловыми потоками в установках вторичной перегонки бензинов.
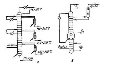
Колонны с выносными отпарными секциями, широко распространенные в нефтепереработке (установки первичной перегонки нефти, каталитического крекинга, разделения ароматических углеводородов, первичной перегонки бензинов и др.), и колонны с выносными укрепляющими секциями (например, комплексы для разделения воздуха с получением азота, аргона и кислорода) следует классифицировать, как комплексы с частично связанными тепловыми потоками. Промышленные комплексы с частично связанными тепловыми потоками показаны на рис.1.5. Эти комплексы занимают промежуточное место между комплексами со связанными тепловыми потоками и обычными схемами ректификации. По схеме разделения–это или схемы последовательного отделения тяжелых компонентов (колонны с выносными отпарными секциями) или схемы последовательного отделения легких компонентов (колонны с выносными укрепляющими секциями). Эти схемы имеют один общий дефлегматор и несколько кипятильников (вместо кипятильников на установках первичной перегонки нефти используют отпарку острым водяным паром) или один общий кипятильник и несколько дефлегматоров. Энергетические затраты на разделение в комплексах с частично связанными тепловыми потоками являются средними между затратами в комплексах с полностью связанными тепловыми потоками.
Рис. 1.5. Схемы промышленных ректификационных комплексов с частично связанными тепловыми потоками: а – с боковыми отпарными секциями для разделения сырой нефти на фракции; б – с боковой укрепляющей секцией для разделения воздуха на кислород, азот и аргон [14].
Недавно в литературе появились сведения о возможности организации процесса экстрактивной ректификации бинарных азеотропных смесей в одной сложной колонне с боковым отбором. Этот способ позволяет уменьшить энергозатраты по сравнению с классической схемой, но одновременно наблюдается снижение качества продуктовых потоков.
В работе [15] предлагается разделять бинарные азеотропные смеси новым способом экстрактивной ректификации. В этом случае три компонента выделяются в различных частях экстрактивной колонны (см. рис.1.6). Среднекипящий компонент отбирают в паровой фазе в качестве бокового отбора. Этот способ может быть использован только в том случае, если растворитель является высококипящим, что является типичной ситуацией, с которой сталкиваются на практике. В качестве примера авторами [15] рассмотрен процесс разделения смеси этанол - вода с использованием в качестве экстрактивного агента этиленгликоля.
а б
Рис. 1.6. Типичный процесс экстрактивной ректификации (а). Новый процесс экстрактивной ректификации (б).
Предполагается, что этот способ может быть использован для разделения других систем.
Методом вычислительного эксперимента авторы провели сопоставление традиционного и нового вариантов. Для расчета фазового равновесия они использовали уравнение NRTL. Число тарелок в новой экстрактивной колонне было равно числу тарелок в первой колонне традиционной схемы экстрактивной ректификации.
Авторами получены профили концентраций компонентов по высоте колонны, которые существенно отличаются от профилей в традиционной схеме.
Новый способ организации процесса позволяет несколько снизить энергетические затраты. Однако при этом снижается и качество продуктовых потоков, а при больших расходах ЭА содержание его в продукте, отбираемом в виде бокового потока, ещё увеличивается.
Авторами [16] рассмотрены схемы с полностью связанными тепловыми и материальными потоками.
Для осуществления тепловой связи между отдельными двухсекционными колоннами каждая из них в точке питания и в концевых точках соединяется со смежными колоннами противоположно направленными паровым и жидкостным потоками (см. рис. 1.7).
Рис.1.7. Схемы со связанными тепловыми потоками и минимальным числом колонн для n=2-3.
При этом не только снижаются суммарные термодинамические потери при теплопередаче, но и уменьшается термодинамическая необратимость процесса (снижаются термодинамические потери при смешении потоков на концах колонн). Это также позволяет отказаться от всех дефлегматоров и кипятильников в точках вывода промежуточных по летучести продуктов. В то же время исключаются соответствующие затраты тепла и холода, при чем происходит не перенос этих нагрузок из одной точки схемы в другую, а их взаимное погашение. При всех своих термодинамических преимуществах способ ректификации с обратимым смешением потоков имеет один существенный недостаток: с увеличением числа разделяемых компонентов резко возрастает число секций.
Авторами рассмотрен ряд примеров разделения промышленных смесей, показана экономическая эффективность применения ректификационных систем со связанными тепловыми потоками:
-
смесь этилбензола и изомеров ксилола (орто-, мета-, пара-). Применение усовершенствованной схемы позволяет на 50% сократить расход тепла и на 10% – капиталовложения;
-
разделение ШФЛУ на ЦГФУ (С2-С6). Сокращение нагрузки на кипятильники и дефлегматоры на 48 и 38% соответственно и уменьшение числа кипятильников и дефлегматоров с 12 до 6 шт;
-
разделение диэтилбензола – сырца;
-
смесь хлорметанов;
-
смесь ароматических углеводородов С9.
В первых четырех примерах экономия энергии составляет 20-50%, причем в трех из них экономия близка к максимальной; только при разделении диэтилбензола - сырца, когда ректификационная система со связанными тепловыми потоками охватывает выделение лишь части продуктов разделения, она снижается до 20%.
Экономический эффект может быть значительно повышен, если объединить большее число двухсекционных колонн. Сравнительно небольшая экономия энергии (40%), полученная в последнем, пятом, примере при объединении в одну систему пяти двухсекционных колонн, объясняется малой относительной летучестью одной пары компонентов по сравнению с остальными.
В работе [17] исследовано разделение эквимассовых трех-, четырех-, и пятикомпонентных смесей предельных углеводородов С5-С9 при атмосферном давлении. Показано, что с ростом числа продуктов разделения при ограниченном числе тарелок в системе экономичность схем со связанными тепловыми и материальными потоками (СТМП) прогрессивно снижается по сравнению со схемами с частично связанными потоками и схемами с минимальным числом секций. Схемы с СТМП обладают наибольшей эффективностью по сравнению со схемами из простых колонн при относительно невысокой четкости разделения и содержании в исходной смеси не менее 20%мас. среднелетучего компонента. Так, при сравнении различных схем разделения смеси гексан–гептан–октан на три продукта (см. рис.1.8) в простых (схемы 1 и 2) и сложных – с частично связанными (схема 3) и полностью связанными (схема 4) потоками в при качестве продуктов 91,5 – 96,3%мас. обеспечивается экономия тепла, подводимого в кипятильники колонн, на 11,6 – 27,7%.
Рис. 1.8. Схемы разделения смеси на три продукта [17]. I-III – продукты.
На примере разделения смеси гексан–гептан–октан–нонан показано, что при одинаковой суммарной тепловой нагрузке кипятильников колонн схемы с полностью (схема 5 (см. рис. 1.9)) и частично связанными потоками (схема 4) обеспечивают четкость разделения на 4 – 9% выше, чем схемы из простых колонн (схемы 1 – 3 (см. рис. 1.9)).
Рис. 1.9. Схемы разделения смеси на четыре продукта [17]. I – IV — продукты.
2. ПОСТАНОВКА ЗАДАЧИ ИССЛЕДОВАНИЯ.
Целью настоящей работы является определение оптимальных рабочих параметров процесса экстрактивной ректификации смеси ацетон-хлороформ азеотропного состава в сложной колонне с боковой укрепляющей секцией. К таким параметрам относятся температура и расход разделяющего агента, тарелки подачи исходной смеси и экстрактивного агента, уровень отбора в боковую секцию и величина бокового отбора. В качестве критерия оптимизации использовали энергетические затраты в кипятильнике колонны.
Решение поставленной задачи осуществляли путем вычислительного эксперимента с использованием программного комплекса РRО-П.
3. РАСЧЕТНО-ЭКСПЕРИМЕНТАЛЬНАЯ ЧАСТЬ.
3.1. Критерий оптимизации.
В качестве критерия оптимизации при подборе оптимальной совокупности рабочих параметров процесса мы использовали энергетические затраты в кубе колонны (Qкип). При этом Qкип рассчитывались исходя из уравнения общего теплового баланса сложной колонны с боковой секцией, которое имеет вид следующий вид:
QF + QЭА + Qкип = QD1 + QD2 + QW + Qконд1 + Qконд2, (3.1)
где QF = F*CF*TF – количество тепла, поступающее с потоком исходной смеси;
QЭА = РЭА*СЭА*ТЭА – количество тепла, поступающее в колонну с потоком экстрактивного агента;
QD1 = D1*CD1*TD1 – количество тепла, отводимое с потоком дистиллята основной колонны;
QD2 = D2*CD2*TD2 – количество тепла, отводимое с потоком дистиллята боковой секции;
QW = W*CW*TW – количество тепла, отводимое с кубовым потоком основной колонны;
Qконд1 = D1(R+1)r1 – количество тепла, отводимое при конденсации пара для создания потоков дистиллята и флегмы в основной колонне;
Qконд2 = D2(R+1)r2 – количество тепла, отводимое при конденсации пара для получения потоков дистиллята и флегмы в боковой секции.
Откуда затраты тепла в кипятильнике:
Qкип = QD1 + QD2 + QW + Qконд1 + Qконд2 – QF – QЭА (3.2)
или в развернутом виде:
Qкип = D1CD1TD1 + D2CD2TD2 + WCWTW + D1(R1+1)r1 + D2(R2+1)r2 –
– FCFTF – PЭАСЭАТЭА. (3.3)
Потоки D1, D2 и W при заданном качестве продуктов определяются из общего материального баланса и зависят от количества и состава питания, а также от соотношения F:ЭА. Следовательно, теплосодержание верхнего и нижнего продуктов основной колонны и дистиллята боковой секции также зависят от этих величин.
Энергозатраты на проведение процесса будут определяться температурой и расходом экстрактивного агента, подаваемого в колонну, флегмовыми числами в основной колонне (R1) и в боковой секции (R2). Величины R1 и R2 зависят от профиля концентраций в колонне, на формирование которого в данном случае оказывает влияние не только положение тарелок подачи исходной смеси и ЭА, его температура и расход, но и положение тарелки отбора парового потока в боковую секцию и его количество.
3.2. Описание технологической схемы процесса.
Технологическая схема состоит из одной сложной колонны с боковой укрепляющей секцией (рис.3.1).
Рис.3.1. Экстрактивная ректификация смеси ацетон-хлороформ в одной сложной колонне с боковой укрепляющей секцией.
В верхнюю часть сложной колонны подается ЭА, а в среднюю часть - исходная смесь ацетон–хлороформ. В качестве дистиллята основной колонны отбирается практически чистый ацетон. Ниже тарелки питания происходит отбор парового потока в боковую секцию. Поток жидкости из нижней части боковой секции возвращается в колонну на ту же тарелку. В дистилляте боковой секции выделяется хлороформ. ДМФА извлекается в кубе основной колонны и возвращается рециклом в ее верхнее сечение. Для восполнения потерь ЭА предусмотрена подача некоторого свежего количества ДМФА.
3.3. Моделирование фазового равновесия в системе ацетон – хлороформ – ДМФА.
Для расчета оптимальных рабочих параметров процесса необходимо иметь данные о фазовом равновесии в исследуемой системе. Физико – химические свойства чистых веществ приведены в таблице 3.1.
Таблица 3.1.
Физико – химические свойства компонентов.
| Компонент | Структурная | Молекулярная | Ткип, | Тпл, |
|
| формула | масса | °C | °C |
| Ацетон | CH3COCH3 | 58,08 | 56,1 | -94,6 |
| Хлороформ | CHCl3 | 119,38 | 61,1 | -63,5 |
| ДМФА | HCON(CH3)2 | 73,09 | 153,0 | -61,0 |
В смеси ацетон – хлороформ имеется азеотроп с максимумом температуры кипения (Тазкип=63,93ºC, содержание ацетона 22% мас.) [21]. Равновесие жидкость-пар в системе ацетон-ДМФА экспериментально исследовано в работе [22]. Для моделирования фазового равновесия использовали уравнение NRTL, параметры которого приведены в [23].
3.4. Расчет оптимальных рабочих параметров.
При фиксированном количестве, составе, температуре исходной смеси энергозатраты в кубе сложной колонны с боковой секцией определяются несколькими параметрами, а именно: флегмовыми числами в основной колонне и боковой секции, температурой и расходом экстрактивного агента.
Флегмовые числа в основной колонне и боковой секции зависят от количества потока, отбираемого в боковую секцию и положения тарелок питания и отбора.
В колонну экстрактивный агент обычно подают при температуре, близкой к температуре кипения дистиллята, которым в нашем случае является практически чистый ацетон. Проведенные ранее расчеты для экстрактивной ректификации данной смеси промышленного состава показали, что с увеличением температуры подачи в колонну ДМФА энергозатраты в кипятильнике снижаются. Например, при увеличении ТЭА с 50 до 60ºC сокращение энергозатрат составляет около 4%, а при увеличении ТЭА с 60 до 70ºC- уже около 3%. При дальнейшем росте ТДМФА снижение энергозатрат на каждые 10ºC еще меньше. С другой стороны, чем при более высокой температуре ДМФА подается в экстрактивную колонну, тем меньше тепла можно получить за счет его охлаждения. Таким образом, для точного определения температуры подачи ДМФА в колонну необходимо провести технико-экономический расчет схемы. На данном этапе для снижения размерности задачи оптимизации мы приняли ТЭА=60ºC, что позволит использовать его тепло в производственных нуждах, например для подогрева исходной смеси.
Таким образом, для обеспечения минимальных энергозатрат в кубе основной колонны нам необходимо найти оптимальное сочетание следующих рабочих параметров процесса:
-
удельного расхода экстрактивного агента;
-
положения тарелок питания и отбора в боковую секцию;
-
количества потока, отбираемого в боковую секцию.
Так как все эти параметры взаимосвязаны между собой, мы проводили расчеты в несколько этапов. Количество исходной смеси составило 100 кг/ч, концентрация ацетона в питании 22% массовых ( азеотропный состав). Эффективность основной колонны- 34 т.т., эффективность боковой секции- 10 т.т. Концентрация ацетона в продуктовом потоке - 99,5 % мас., хлороформа- 99,9 % мас., ДМФА- 99,9 % мас. Расчет фазового равновесия проводили по модели NRTL, параметры которой приведены в [18].
Сначала мы провели расчет, целью которого было определение оптимального положения тарелок питания и отбора при соотношении F:ЭА = 1:3,5 и количестве БО=150 кг/час.
Результаты расчета представлены в Приложении 1 и таблице 3.2.
Таблица 3.2.
Определение оптимального положения тарелок питания и отбора в сложной колонне.
F:ЭА = 1:3,5; БО=150 кг/ч; TЭА=60ºC.
| NЭА/NF/NБО | R1 | R2 | Тепловые нагрузки,МДж/ч | ||
|
|
|
| Qконд1 | Qконд2 | Qкип |
| 4/11/23 | 1,96 | 1,50 | -32,6 | -48,2 | 153,3 |
| 4/11/24 | 1,42 | 1,74 | -26,8 | -52,9 | 152,1 |
| 4/11/25 | 1,23 | 1,99 | -24,7 | -57,7 | 154,8 |
| 4/12/24 | 1,55 | 1,72 | -28,1 | -52,5 | 153,1 |
| 5/10/24 | 1,82 | 1,69 | -31,1 | -51,8 | 155,3 |
| 5/10/25 | 1,54 | 1,95 | -27,6 | -56,9 | 157,3 |
| 5/11/24 | 1,58 | 1,72 | -28,4 | -52,4 | 153,3 |
| 5/11/25 | 1,26 | 1,99 | -24,9 | -57,6 | 155,0 |
| 5/12/25 | 1,22 | 2,00 | -24,4 | -57,7 | 154,6 |
| 6/11/24 | 2,07 | 1,65 | -33,9 | -51,1 | 157,4 |
Видно, что флегмовое число в основной колонне зависит как от протяженности экстрактивной зоны, так и от положения тарелки отбора в БС. Флегмовое число в БС определяется главным образом уровнем отбора в нее потока из основной колонны. Причем, чем ниже осуществляется отбор, тем больше R в боковой колонне. Таким образом, из таблицы 3.2 видно, что наименьшие энергозатраты обеспечиваются при NЭА/NF/NБО= 4/11/24.
Далее мы исследовали влияние на энергозатраты количества отбираемого в боковую секцию потока при фиксированном соотношении F:ЭА=1:3,5, причем мы рассмотрели несколько наборов NЭА/NF/NБО. Результаты расчетов представлены в Приложении 2, таблицах 3.3 и 3.4.
Таблица 3.3.
Влияние количества потока, отбираемого в боковую секцию на энергозатраты.
TЭА= 60ºC, F: ЭА = 1: 3,5, NЭА/NF/NБО= 4/12/24.
| Количество | R1 | R2 | Тепловые нагрузки,МДж/ч | ||
| БО, кг/ч |
|
| Qконд1 | Qконд2 | Qкип |
| 150 | 1,55 | 1,72 | -28,1 | -52,5 | 153,1 |
| 145 | 1,69 | 1,63 | -29,7 | -50,7 | 152,9 |
| 140 | 1,85 | 1,54 | -31,5 | -48,9 | 152,8 |
| 135 | 2,03 | 1,44 | -33,4 | -47,0 | 152,9 |
| 130 | 2,25 | 1,34 | -35,9 | -45,0 | 153,4 |
| 125 | 2,52 | 1,23 | -38,8 | -42,9 | 154,3 |
| 120 | 3,27 | 1,07 | -47,1 | -39,9 | 159,5 |
Из таблицы 3.3 видно, что с уменьшением количества потока, отбираемого в боковую секцию, энергозатраты в кубе колонны уменьшаются и достигают минимального значения при БО=140 кг/ч, а затем начинают возрастать. При уменьшении БО со 150 до 140 кг/ч происходит незначительное увеличение флегмового числа в основной колонне и Qконд1 и уменьшение флегмового числа в боковой секции и Qконд2. И в результате мы имеем снижение энергозатрат в кубе основной колонны.
При дальнейшем уменьшении количества БО со 140 до 120 кг/ч происходит значительный рост флегмового числа в основной колонне, и Qконд1 увеличивается на 15,6 МДж/ч. Qконд2 при этом снижается всего лишь на 9 МДж/ч. В результате мы имеем увеличение Qкип на 6,7 МДж/ч. Для большей наглядности по результатам расчетов, представленных в предыдущей таблице, построен график зависимости энергозатрат от количества потока, отбираемого в боковую секцию (см. рис.3.2.)
Рис.3.2. Зависимость энергозатрат от количества потока, отбираемого в боковую секцию.
TЭА= 60ºC, F: ЭА = 1: 3,5, NЭА/NF/NБО= 4/12/24.
Таблица 3.4.
Оптимальное количество БО в зависимости от положения тарелок питания и отбора.
TЭА=60ºC, F:ЭА=1:3,5.
|
| Оптимальное |
|
| Тепловые нагрузки,МДж/ч | ||
| NЭА/NF/NБО | количество | R1 | R2 | Qконд1 | Qконд2 | Qкип |
|
| БО, кг/ч |
|
|
|
|
|
| 4/10/24 | 120 | 1,91 | 1,22 | -32,1 | -42,7 | 147,3 |
| 4/11/23 | 160 | 1,65 | 1,67 | -29,2 | -51,5 | 153,2 |
| 4/11/24 | 120 | 1,91 | 1,22 | -32,1 | -42,7 | 147,3 |
| 4/11/25 | 142 | 1,24 | 1,85 | -24,8 | -55,0 | 152,3 |
| 4/12/24 | 140 | 1,85 | 1,54 | -31,5 | -48,9 | 152,8 |
| 5/10/24 | 115 | 2,56 | 1,06 | -39,3 | -39,7 | 151,5 |
| 5/10/25 | 138 | 1,57 | 1,74 | -28,4 | -52,9 | 153,7 |
| 5/11/23 | 160 | 1,88 | 1,64 | -31,8 | -50,9 | 155,2 |
| 5/11/24 | 118 | 2,25 | 1,15 | -35,8 | -41,3 | 149,6 |
| 5/11/25 | 141 | 1,29 | 1,83 | -25,2 | -54,6 | 152,2 |
| 5/12/25 | 141 | 1,28 | 1,83 | -25,2 | -54,6 | 152,2 |
| 6/11/24 | 150 | 2,07 | 1,65 | -33,9 | -51,1 | 157,4 |
Из таблицы 3.4 видно, что оптимальная величина БО в значительной степени зависит от уровня отбора в БС. При фиксированном положении тарелок подачи питания и ЭА наименьшая оптимальная величина БО наблюдается при отборе парового потока с 24 т. т.
На последнем этапе мы исследовали влияние количества потока, отбираемого в боковую секцию, на величину оптимального расхода ДМФА и на энергозатраты для тех же наборов NЭА/NF/NБО. Результаты расчетов представлены в Приложении 3 и таблице 3.5.
Таблица 3.5.
Влияние количества БО на величину оптимального расхода ЭА при TЭА= 60ºC.
| Количество | Оптимальный |
|
| Тепловые нагрузки,МДж/ч | ||
| БО, | расход ДМФА, | R1 | R2 | Qконд1 | Qконд2 | Qкип |
| кг/ч | кг/ч |
|
|
|
|
|
| NЭА/NF/NБО = 4/10/24 | ||||||
| 120 | 350 | 1,91 | 1,22 | -32,1 | -42,7 | 147,3 |
| 130 | 350 | 1,88 | 1,37 | -31,8 | -45,6 | 149,9 |
| 150 | 320 | 2,27 | 1,53 | -36,0 | -48,8 | 151,0 |
| 170 | 310 | 2,03 | 1,79 | -33,4 | -53,8 | 151,4 |
| NЭА/NF/NБО = 4/11/23 | ||||||
| 160 | 340 | 1,94 | 1,61 | -32,4 | -50,3 | 153,1 |
| 170 | 330 | 1,89 | 1,72 | -31,9 | -52,4 | 152,6 |
| 180 | 330 | 1,65 | 1,88 | -29,3 | -55,4 | 153,0 |
| 190 | 320 | 1,69 | 1,98 | -29,6 | -57,3 | 153,2 |
| NЭА/NF/NБО = 4/11/24 | ||||||
| 120 | 350 | 1,91 | 1,22 | -32,1 | -42,7 | 147,3 |
| 130 | 350 | 1,76 | 1,40 | -30,5 | -46,2 | 149,2 |
| 140 | 340 | 1,84 | 1,51 | -31,3 | -48,4 | 150,1 |
| 150 | 330 | 1,84 | 1,62 | -31,3 | -50,5 | 150,1 |
| 170 | 310 | 1,85 | 1,82 | -31,5 | -54,3 | 149,9 |
| 180 | 300 | 1,91 | 1,90 | -32,1 | -55,9 | 150,1 |
| 200 | 290 | 1,80 | 2,14 | -30,9 | -60,4 | 151,2 |
| NЭА/NF/NБО = 4/11/25 | ||||||
| 142 | 320 | 1,82 | 1,69 | 31,1 | 51,9 | 149,2 |
| 160 | 300 | 1,98 | 1,86 | -32,9 | 55,2 | 150,1 |
| 180 | 280 | 2,14 | 2,02 | -34,6 | -58,2 | 150,7 |
| 200 | 270 | 2,03 | 2,24 | -33,4 | -62,5 | 151,6 |
| NЭА/NF/NБО = 4/12/24 | ||||||
| 140 | 350 | 1,85 | 1,54 | -31,4 | -48,9 | 152,8 |
| 150 | 340 | 1,80 | 1,66 | -30,9 | -51,2 | 152,5 |
| 160 | 330 | 1,74 | 1,77 | -30,3 | -53,3 | 152,0 |
| 170 | 320 | 1,72 | 1,87 | -30,0 | -55,3 | 151,5 |
| 180 | 310 | 1,72 | 1,96 | -30,1 | -57,1 | 151,3 |
| 190 | 300 | 1,79 | 2,04 | -30,8 | -58,7 | 151,5 |
| NЭА/NF/NБО = 5/10/24 | ||||||
| 115 | 350 | 2,52 | 1,07 | -38,8 | -39,8 | 151,1 |
| 125 | 360 | 2,01 | 1,31 | -33,2 | -44,5 | 152,3 |
| 150 | 330 | 2,37 | 1,55 | -37,1 | -49,1 | 154,5 |
| NЭА/NF/NБО = 5/10/25 | ||||||
| 138 | 330 | 2,10 | 1,63 | -34,1 | -50,6 | 153,0 |
| 148 | 320 | 2,21 | 1,74 | -35,4 | -52,7 | 154,3 |
| NЭА/NF/NБО = 5/11/24 | ||||||
| 118 | 350 | 2,25 | 1,15 | -35,8 | -41,3 | 149,6 |
| 128 | 360 | 1,74 | 1,39 | -30,2 | -46,1 | 150,9 |
| 138 | 350 | 1,87 | 1,51 | -31,7 | -48,3 | 152,5 |
| 150 | 330 | 2,12 | 1,58 | -34,4 | -49,8 | 152,5 |
| NЭА/NF/NБО = 5/11/25 | ||||||
| 141 | 330 | 1,77 | 1,72 | -30,5 | -52,3 | 151,1 |
| 160 | 310 | 1,91 | 1,92 | -32,1 | -56,1 | 152,3 |
| 180 | 290 | 2,00 | 2,08 | -33,1 | -59,4 | 152,5 |
| NЭА/NF/NБО = 5/12/25 | ||||||
| 141 | 340 | 1,52 | 1,78 | -27,8 | -53,5 | 151,6 |
| 151 | 320 | 1,99 | 1,81 | -33,0 | -54,1 | 153,3 |
| NЭА/NF/NБО = 6/11/24 | ||||||
| 150 | 340 | 2,39 | 1,58 | -37,4 | -49,7 | 157,4 |
| 160 | 330 | 2,34 | 1,69 | -36,8 | -51,8 | 156,9 |
| 170 | 320 | 2,33 | 1,79 | -36,6 | -53,7 | 156,6 |
| 180 | 320 | 2,03 | 1,96 | -33,4 | -56,9 | 156,5 |
| 190 | 310 | 2,08 | 2,04 | -33,9 | -58,6 | 156,7 |
Расчеты показали, что оптимальный расход ДМФА уменьшается с увеличением количества потока, отбираемого в БС. Однако это не снижает энергозатраты в кипятильнике, а наоборот, приводит к некоторому их росту. Для того, чтобы объяснить этот факт, рассмотрим в качестве примера как изменяется вклад различных составляющих в величину критерия оптимизации при увеличении БО для NЭА/NF/NБО= 4/11/24. Данные представлены в таблице 3.6.
Таблица 3.6.
Значение слагаемых в критерии оптимизации в зависимости от величины БО при NЭА/NF/NБО= 4/11/24.
| Количество | Оптимальный | Q,D1 | QD2, | Qконд1, | Qконд2, | QW, | QF, | QЭА, | |∆Qконд2|+ | |∆QW|, | Qкип, |
| БО, | расход ДМФА, | МДж/ч | МДж/ч | МДж/ч | МДж/ч | МДж/ч | МДж/ч | МДж/ч | +|∆QЭА|, | МДж/ч | МДж/ч |
| кг/ч | кг/ч |
|
|
|
|
|
|
| МДж/ч |
|
|
| 120 | 350 | 2,7 | 4,6 | 32,1 | 42,7 | 116,2 | 8,0 | 43,4 |
|
|
|
|
|
|
|
|
|
|
|
|
| 6,9 | 3,0 | 147,3 |
| 140 | 340 | 2,7 | 4,6 | 31,3 | 48,4 | 113,2 | 8,0 | 42,2 |
|
|
|
|
|
|
|
|
|
|
|
|
|
|
| 150,1 |
| 170 | 310 | 2,7 | 4,6 | 31,5 | 54,3 | 103,2 | 8,0 | 38,5 | 9,6 | 10,0 |
|
|
|
|
|
|
|
|
|
|
|
|
| 149,9 |
| 200 | 290 | 2,7 | 4,6 | 30,9 | 60,4 | 96,5 | 8,0 | 36,0 | 8,6 | 6,7 |
|
|
|
|
|
|
|
|
|
|
|
|
| 151,2 |
Запишем еще раз критерий оптимизации и определим факторы, влияющие на Qкип при изменении БО и расхода ДМФА.
Поскольку состав, количество и температура исходной смеси у нас фиксированы, то ее теплосодержание QF является величиной постоянной. Качество продуктовых потоков у нас также задано. Их величина определяется материальным балансом и является постоянной величиной при заданном составе и количестве исходной смеси. Поэтому теплосодержание дистиллятных потоков основной и боковой колонн ( QD1 и QD2) не зависит от величины БО и удельного расхода ДМФА. Флегмовое число и, соответственно тепловая нагрузка на конденсатор основной колонны Qконд1 практически не изменяются.
Флегмовое число и тепловая нагрузка на конденсатор БС Qконд2 увеличиваются с ростом величины отбора в БС.
При увеличении БО уменьшается величина оптимального расхода ЭА, а следовательно, уменьшается количество тепла QЭА, которое он приносит в колонну.
Таким образом, Qконд2 и QЭА- это два фактора, которые способствуют увеличению Qкип.
Вместе с тем, при уменьшении расхода ДМФА уменьшается величина кубового потока, а следовательно, уменьшается количество тепла, которое он уносит с собой из колонны QW. Этот фактор способствует снижению Qкип.
При увеличении БО со 120 до 140 кг/ч суммарное изменение первых двух факторов составляет 6,9 МДж/ч, а уменьшение QW – 3,0 МДж/ч. В результате Qкип увеличивается. При увеличении БО со 140 до 170 кг/ч суммарное изменение Qконд2 и QЭА приблизительно равно уменьшению QW, поэтому Qкип практически не изменяется. Далее при увеличении БО со 170 до 200 кг/ч происходит незначительное увеличение Qкип, так как суммарное изменение Qконд2 и QЭА несколько больше снижения QW.
Из проведенных нами расчетов видно, что минимальное энергопотребление обеспечивается при следующих значениях рабочих параметров:
-
оптимальное положение тарелок питания и отбора NЭА/NF/NБО = 4/11/24;
-
количество потока, отбираемого в боковую секцию 120 кг/ч;
-
соотношение F:ЭА = 1:3,5;
-
флегмовое число в основной колонне 1,9;
-
флегмовое число в боковой секции 1,2.
Энергозатраты на разделение 100 кг/ч исходной смеси составляют 147,3 МДж/ч, потери ДМФА 0,22 г/кг исх. смеси.
В таблице 3.7 приведены оптимальные рабочие параметры и энергопотребление двухколонного комплекса (традиционная схема) ЭР смеси ацетон - хлороформ азеотропного состава и сложной колонны с боковой секцией.
Таблица 3.7.
Оптимальные рабочие параметры и энергопотребление двухколонного комплекса ЭР смеси ацетон - хлороформ азеотропного состава и СК с БС.
| Двухколонный комплекс | СК с БС |
| F:ЭА = 1: 3,5 | F:ЭА = 1: 3,5 |
| NЭА/NF = 4/10 | NЭА/NF/NБО = 4/11/24 |
| R в экстр. колонне 2,2 | R в основной колонне 1,9 |
| R в колонне регенерации 3,6 | R в боковой колонне 1,2 |
| Qкипсум=198,9 МДж/ч | Qкип=147,3 МДж/ч |
| ∆Qкип=25,9 % | |
Видно, что оптимальный удельный расход ДМФА и положение тарелок подачи питания и ЭА практически совпадают для обеих схем. Следовательно, результаты параметрической оптимизации экстрактивной колонны традиционной схемы, могут служить хорошим начальным приближением при подборе оптимальных рабочих параметров СК с БС. Флегмовое число в основной колонне несколько меньше, чем в экстрактивной колонне традиционной схемы. Вероятно, это связано с тем, что роль дополнительной флегмы выполняет поток жидкости, возвращаемый из БС в основную колонну. Выделение хлороформа в боковой секции СК требует существенно меньшего количества флегмы, чем в колонне регенерации традиционной схемы. Это связано с тем, что в БС поступает паровой поток с высокой концентрацией хлороформа (≈75% мас.), а в колонну регенерации поступает его сильно разбавленная смесь с ЭА (концентрация ЭА > 80% мас.).
Видно, что затраты тепла в кубе сложной колонны меньше суммарных энергозатрат в кипятильниках двухколонного комплекса. Снижение энергоемкости составляет 25,9%.
4. ВЫВОДЫ.
Таким образом:
-
определены оптимальные по критерию энергозатрат рабочие параметры ЭР смеси ацетон - хлороформ азеотропного состава в СК с боковой укрепляющей секцией;
-
установлено, что результаты параметрической оптимизации экстрактивной колонны традиционной схемы являются хорошим приближением для параметрической оптимизации СК с БС;
-
показано, что проведение ЭР смеси ацетон – хлороформ азеотропного состава в сложной колонне с боковой укрепляющей секцией обеспечивает снижение энергоемкости процесса на 25,9% по сравнению с двухколонным комплексом.
5. СПИСОК ИСПОЛЬЗОВАННОЙ ЛИТЕРАТУРЫ.
-
А.с. №1366173 Способ разделения смеси ацетон-хлороформ азеотропного состава /Павленко Т.Г., Фролкова А.К., Пирог Л.А., Кареева В.М., Тимофеев В.С. -1988 г.
-
Патент №2207896 Способ разделения смеси ацетон-хлороформ азеотропного состава экстрактивной ректификацией / Тимошенко А.В., Анохина Е.А., Тимофеев В.С. — Приоритет от 21.03.2002, опубл. 10.07.2003, бюл. № 19.
-
Айнштейн В.Г., Захаров М.К., Носов Г. А. и др. Общий курс процессов и аппаратов химической технологии, в 2 книгах, книга 2. Под ред. проф. Айнштейна В.Г. М.: Химия, 2000. 1760 с.
-
Тимофеев В.С., Серафимов Л.А. Принципы и технологии основного органического и нефтехимического синтеза. М.: «Высшая школа» 2003. –536 с.
-
Коган В.Б. Азеотропная и экстрактивная ректификация. - Л.: Химия, 1971, 432 с.
-
Патент №2091362 Способ получения изопрена / Чуркин В.Н., Павлов С.Ю., Суровцев А.А., Карпов О.П., Бубенков В.П., Павлов О.С., Тульчинский Э.А., БИ №27, 1997.
-
Патент 976630 Способ очистки изопрена / Чуркин В.Н., Горшков В.А., Елифантьева Н.В., Бутин В.И., №2986343/04; Заявл. 20.06.1980; опубл.27.07.2000
-
Балашов А.Л., Чубаров С.М., Авдошин Г.А. Способ выделения и очистки 1,3-диоксолана. Нижегородский технический университет-1997, № 1.
-
А.с. №686266, Горшков В.А., Кузнецов С.Г., Павлов С.Ю., Беляев В.А., Серова Н.В., Васильев Г.И., Шестовский Г.П., Малов Е.А. Способ разделения смесей близкокипящих углеводородов, БИ № 26, 1996.
-
А.с. № 726821, Горшков В.А., Кузнецов С.Г., Павлов С.Ю., Беляев В.А., Серова Н.В., Васильев Г.И., Шестовский Г.П., Малов Е.А. Способ разделения углеводородов С4-С5, БИ № 26, 1996.
-
Процесс извлечения пентафторэтана, № 6-19 3066 (Япония), НПК 203/57, 1999.
-
Патент № 2157360, Трофимов В.Н., Пантук Б.И., Деревцов В.И. Способ очистки бензола от непредельных углеводородов, № 99118148, 2000.
-
Патент № 2145590, Голубев Ю.Д., Рыбаков И.И., Спорова Л.Г., Орехов О.В., Пирогова Н.Л., Шеин А.В. Способ выделения ароматических углеводородов из смесей с неароматическими. БИ № 5,2000.
-
Петлюк Ф.Б.,Серафимов Л.А. Многокомпонентная ректификация. Теория и расчет: М., Химия, 1983. Серия «Процессы и аппараты химической и нефтехимической технологии». 304 с.
-
Рудавин В.С. Разработка технологии разделения ароматических изомеров на примере получения монитрохлорбензолов. Дисс. канд. техн. наук. М.: МИТХТ, 1988.
-
Петлюк Ф.Б., Платонов В.М., Аветьян В.С. Оптимальные схемы ректификации многокомпонентных смесей, ХП, №11,1966, с.65-68.
-
Деменков В.Н. Схемы фракционирования смесей в сложных колоннах. // Химия и технология топлив и масел. – 1997, №2, с.6–8.
-
Рид Р., Шервуд Т., Праусниц Дж. Свойства газов и жидкостей. Л, Химия,1982, 592 с.
-
Термодинамика равновесия жидкость-пар/ под ред. А.Г. Морачевского- Л., Химия, 1989, 344 с.
-
Химическая энциклопедия в пяти томах, 1, 2, 5. М: Изд. «Советская энциклопедия», 1990.
-
Огородников С.К., Лестева Т.М., Коган В.Б. Азеотропные смеси. Справочник. Под ред. проф. Когана В.Б. Изд. «Химия», Л. 1971.
-
Пирог Л.А. Оценка эффективности агентов при разделении неидеальных смесей экстрактивной ректификацией. Дисс. …канд. …техн. наук. – М.: МИТХТ, 1987.
-
Хассиба Бюннес Закономерности разделения азеотропных смесей в присутствии селективных разделяющих агентов. Дисс. … к.т.н. – Москва, МИТХТ, 2002.
ПРИЛОЖЕНИЯ.
Приложение 1.
Определение оптимального положения тарелок питания и отбора.
F:ЭА=1:3,5; Количество БО=150 кг/час
| NЭА/NF/NБО | R1 | R2 | Тепловые нагрузки,МДж/ч | ||
|
|
|
| Qконд1 | Qконд2 | Qкип |
| 4/10/23 | 2,01 | 1,49 | -33,2 | -48,0 | 153,7 |
| 4/10/24 | 1,59 | 1,72 | -28,6 | -52,4 | 153,5 |
| 4/10/25 | 1,40 | 1,97 | -26,5 | -57,2 | 156,2 |
| 4/11/23 | 1,96 | 1,50 | -32,6 | -48,2 | 153,3 |
| 4/11/24 | 1,42 | 1,74 | -26,8 | -52,9 | 152,1 |
| 4/11/25 | 1,23 | 1,99 | -24,7 | -57,7 | 154,8 |
| 4/12/23 | 2,71 | 1,42 | -40,9 | -46,6 | 159,9 |
| 4/12/24 | 1,55 | 1,72 | -28,1 | -52,5 | 153,1 |
| 4/12/25 | 1,21 | 2,00 | -24,4 | -57,7 | 154,6 |
| 5/10/23 | 2,51 | 1,44 | -38,7 | -47,0 | 158,1 |
| 5/10/24 | 1,82 | 1,69 | -31,1 | -51,8 | 155,3 |
| 5/10/25 | 1,54 | 1,95 | -27,6 | -56,9 | 157,3 |
| 5/11/23 | 1,30 | 1,99 | -25,4 | -57,5 | 155,3 |
| 5/11/24 | 1,58 | 1,72 | -28,4 | -52,4 | 153,3 |
| 5/11/25 | 1,26 | 1,99 | -24,9 | -57,6 | 155,0 |
| 5/12/25 | 1,22 | 2,00 | -24,4 | -57,7 | 154,6 |
|
|
|
|
|
|
|
| 6/10/24 | 2,50 | 1,59 | -38,5 | -50,0 | 161,0 |
| 6/10/25 | 2,08 | 1,88 | -34,0 | -55,5 | 161,9 |
| 6/11/24 | 2,07 | 1,65 | -33,9 | -51,1 | 157,4 |
| 6/11/25 | 1,67 | 1,94 | -29,4 | -56,6 | 158,4 |
| 6/12/24 | 2,09 | 1,65 | -34,1 | -51,0 | 157,6 |
| 6/12/25 | 1,56 | 1,95 | -28,2 | -56,8 | 157,5 |
Приложение 2.
















