166066 (685438), страница 8
Текст из файла (страница 8)
13. Насмешил! Студент-первокурсник не утруждал себя подготовкой к занятиям и насмешил всех, когда сделал в трех уравнениях реакций десять ошибок:
NaCl + H2SO4(разб) = Cl2↑ + NaHSO4
NaBr + H2SO4(разб) = Br2↑ + NaHSO4
KJ + H2SO4(разб) = I2↑ + KHSO4
Найдите и исправьте ошибки.
Ответы.
При смешивании порошкообразного алюминия и тонко измельченных кристаллов иода и внесении в смесь капли воды начинается реакция 2Al + 3I2 = 2AlI3, которая сопровождается выделением теплоты и частичной возгонкой иода (фиолетовые пары). Вода в этой реакции выполняет роль катализатора.
Каммерер использовал белый фосфор – P4 и бертолетову соль – хлорат калия KClO3. Гуммиарабик – природный клей. Воспламенение состава вызвано легкостью возгорания белого фосфора от трения. "Поставщиком" кислорода служит хлорат калия. Уравнения реакции таковы: P4 + 5O2 = P4O10, 2 KClO3 = 2 KCl + 3O2↑.
Реакция перманганата калия ("хамелеона") со щавелевой кислотой H2C2O4, сульфитом натрия Na2SO3 и пероксидом водорода H2O2 протекают следующим образом:
5 H2C2O4 + 2 KMnO4 + 3 H2SO4 = 2 MnSO4 + 10 CO2 + K2SO4 + 8 H2O
бесцветный Na2SO3 + 2 KMnO4 + 2 КОН = 2 K2MnO4 + Na2SO4 + H2O
зеленый 3 H2O2 + 2 KMnO4 = 2 MnO2 ↓ + 3 O2 ↑ + 2 КОН + 2 H2O
бурый осадок 4. Друце получил сульфат меди (I) Cu2SO4:
2 Cu + 2 H2SO4 = Cu2SO4 + SO2 ↑+ 2 H2O, который в водной среде подвергается дисмутации: Cu2SO4 = CuSO4 + Cu↓.
5. В местах соприкосновения железа и алюминия образуются "гальванические пары". Алюминий как более активный в химическом отношении металл играет роль анода – поставщика электронов, а железо – роль катода, принимающего электроны. Поэтому алюминиевые детали при контакте с железом очень быстро разрушаются, вместе с тем защищая от коррозии железные изделия.
6. Серебряную "чернь" наносят специально, это сульфидная "патина". В тазике серебро и цинк образовали гальваническую пару, где мыльная вода послужила электролитом, цинковая поверхность – катодом, а серебро – анодом. На аноде шло выделение водорода и из воды, а на аноде – кислорода. В результате сульфид серебра окислился и сульфидная патина обесцвечивалась: Ag2S + O2 = 2 Ag + SO2↑
7. Вот уравнения этих реакций:
S + 6 HNO3(конц) = H2SO4 + 6 NO2 + 2 H2O
P + 5 HNO3(конц) = H3PO4 + 5 NO2 + H2O
PH3 + 8 HNO3(конц) = H3PO4 + 8 NO2 + 4 H2O
Cu + 2 H2SO4(конц) = CuSO4 + SO2 + 2 H2O
CuS + 8 HNO3(конц) = CuSO4 + 8 NO2 + 4 H2O
Sn + 4 HNO3(конц) = SnO2 + 4 NO2 + 2 H2O
B + 3 HNO3(конц) = B(OH) 3 + 3 NO2.
8. В аппарате Киппа произошла реакция конмутации с выделением серы: 3 FeS + 4 H2SO4(конц) = 3 FeSO4 + 4 S↓ + 4 H2O.
9. В "цепочке" превращений протекали следующие реакции:
6 КОН + 3 I2 = 5 KI + KIO3 + 3 H2O, KI + AgNO3 = AgI↓ + KNO3,
KIO3 + AgNO3 = AgIO3 ↓+ KNO3, AgIO3 + 2 NH3 = [Ag(NH3) 2] IO3,
2AgI+ Na2S =Ag2S+2NaI, 3Ag2S + 8HNO3(разб) = 6AgNO3 + 2NO+ 3S+ 4H2O.
При обработке смеси азотной кислотой протекали реакции:
Zn + 4 HNO3(конц) = Zn(NO3) 2 + 2 NO2 + 2 H2O,
ZnS + 10 HNO3(конц) = Zn(NO3) 2 + 8 NO2 + H2SO4 + 4 H2O.
При добавлении хлорида бария выпадает осадок сульфата бария, нерастворимого в кислотах: H2SO4 + BaCl2 = BaSO4 + 2 HCl. В растворе над осадком остается нитрат цинка Zn(NO3) 2 и соляная кислота HCl.
В колбе находился водный раствор сульфата меди (II), который обезвреживает белый фосфор. При этом идет реакция:
P4 + 10 CuSO4 + 16 H2O = 10 Cu + 4 H3PO4 +10 H2SO4. Добавление сульфида натрия к раствору CuSO4 ведет к выпадению черного осадка CuS:
CuSO4 + Na2S = CuS + Na2SO4.
Ртуть с разбавленной серной кислотой не взаимодействует, а кадмий участвует в реакции: Cd + H2SO4 = CdSO4 + H2. В водном растворе CdSO4 ртуть остается без изменений. В растворе HgSO4 кадмий покрывается мельчайшими капельками ртути, образуя амальгаму (сплав ртути и кадмия): HgSO4 + Cd = CdSO4 + Hg.
Правильно будет так: NaCl + H2SO4(конц) = HCl↑ + NaHSO4 (обменная реакция без нагревания)
2 NaBr + 2 H2SO4(конц) = Br2 + SO2 + Na2SO4 + 2 H2O
8 KI + 5 H2SO4(конц) = 4 I2 + H2S + 4 K2SO4 + 4 H2O.
Приложение 7
Домашний эксперимент на тему "Окислительно-восстановительные реакции".
Цель работы: предварительная подготовка к изучению коррозии, закрепление материала.
Опыт 1. Действие некоторых веществ на скорость коррозии металлов.
Три гвоздика положите в три маленькие пробирочки. Пробирки вверх дном опустите во флаконы, в которые налейте по 2 мл воды, раствора хлорида натрия и добавьте каплю йодной настойки. Через двое суток отметьте, какие произошли изменения с гвоздями. Которые из них наиболее сильно разрушились? Одинаков ли внешний вид продуктов коррозии? Какие еще произошли изменения в пробирках? Напишите уравнение реакции.
Вопросы учащимся:
Почему нельзя хранить в химическом кабинете в одном и том же шкафу металлическое оборудование вместе с йодом, растворами кислот и солей?
Почему сельскохозяйственную технику (тракторы, комбайны) не рекомендуется хранить под открытым небом?
Цель работы: закрепление, совершенствование и углубление знаний и умений учащихся по электролизу.
Опыт 2. Электролиз раствора хлорида натрия.
Соедините провода с полюсами батарейки от карманного фонаря. Провод-анод вставьте в свежий срез клубня картофеля (среда, в которой распределяется раствор соли). Провод-катод с укрепленными на нем гвоздиком также вставьте в срез картофеля на расстоянии 1,5-2 см от первого электрода. На срез картофеля нанесите3-4 капли раствора хлорида натрия. У гвоздика поместите маленький кусочек фенолфталеиновой бумажки (рис.3). В таком положении оставьте установку на 15-20 минут. Какие происходят изменения на срезе картофеля? Чем объяснить эти изменения? Напишите уравнение реакции.
Рис.3. Электролиз раствора хлорида натрия: 1 – раствор хлорида натрия; 2 – фенолфталеиновая бумажка.
Опыт 3. Электролиз раствора хлорида натрия с применением бумажной диафрагмы.
В
сосуд налейте раствор поваренной соли и разгородите сосуд бумажной перегородкой. Соедините графитовые стержни карандаша проводами с батарейкой. В катодное пространство опустите кусочек фенолфталеиновой бумажки (рис.4) и наблюдайте за происходящими изменениями. Как изменяется окраска жидкости в катодном пространстве? Какой газ выделяется па поверхности катода? Определите по запаху выделяющийся у анода газ. Напишите уравнение реакции.
Рис.4. Электролиз раствора хлорида натрия с применением бумажной диафрагмы: 1 – стержни от карандаша; 2 – бумажная перегородка; 3 – раствор хлорида натрия; 4 – раствор фенолфталеина.
Опыт 4. Электролиз раствора хлорида натрия с применением пористой перегородки.
В стакане приготовьте 70-80 ìë раствора хлорида натрия. Тщательно вымойте яичную скорлупу, заполните ее на 3/4 раствором и опустите осторожно в стакан. В стакан и скорлупу на поверхности растворов опустите по кусочку фенолфталеиновой бумажки. Соедините графитовые стержни с проводами. Один стержень опустите в яйцо, второй - в стакан. Электроды (стержни с проводами) соедините с батарейкой (рис.5). Оставьте в таком положении установку на 35-40 мин. Раствор какого вещества образуется внутри скорлупы? Что образуется в анодном пространстве? Напишите уравнение реакции.
Рис.5. Электролиз раствора хлорида натрия с применением пористой перегородки: 1 – графитовые стержни; 2 – раствор хлорида натрия; 3 – раствор фенолфталеина. Напишите уравнение реакции.
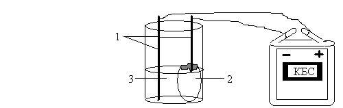
Опыт 5. Электролиз раствора хлорида натрия в соленом огурце.
В срез соленого огурца вставьте кусочек медной проволоки и железный гвоздь. Медную проволочку соедините со знаком "+" батарейки, гвоздик - со знаком "-". У гвоздика на срез поместите кусочек фенолфталеиновой бумажки (Рис.6). Через 10-15 минут проследите за происходящими изменениями на срезе огурца.
Рис.6. Электролиз раствора хлорида натрия в соленом огурце: 1 – медный электрод; 2 – железный электрод; 3 – фенолфталеиновая бумажка.
Цель работы: закрепление знаний и умений учащихся по окислительно-восстановительным реакциям.
Опыт 6. Горение сахара.
Измельченным чаем, который содержит растворимые соли лития (катализатор), посыпьте один из уголков кусочка сахара. Если чай плохо пристает к поверхности сахара, смочите его немного водой. Спичкой подожгите эту часть кусочка сахара. Каким пламенем он горит? Напишите уравнение реакции.
Опыт 7.
Во флаконе раздавите 3-4 ягоды смородины, налейте 1-2 мл воды, прилейте 1 мл раствора пероксида водорода и все это перемешайте. Какие происходят изменения в сосуде? Напишите уравнения реакции.
Приложение 8
Практическая работа: "Окислительно-восстановительные реакции".
Цель: развивать умения работы с веществами и оборудованием, умение применять теоретические знания для объяснения наблюдаемых явлений.
Оборудование: на столах учащихся пробирки, растворы K2SO3, KMnO4, KOH, HCl, CuSO4, KI, Н2SO4, гранулы цинка, алюминия, медная проволока.
Опыт 1. В 3 пробирки налейте раствор KMnO4, в первую добавьте раствор Н2SO4, во вторую – KOH, во все пробирки прилейте раствор K2SO3 до появления изменений. Запишите уравнения реакций, расставьте коэффициенты методом электронного баланса.
Опыт 2. В раствор HCl и CuSO4 положите гранулы алюминия. Запишите свои наблюдения, составьте уравнения реакций. Укажите причину протекания этих реакций.
Опыт 3. В две пробирки поместите гранулы цинка, прилейте соляную кислоту, к одной из гранул прикоснитесь медной проволокой, что наблюдаете? Объясните эти явления. Запишите процессы, происходящие при контакте меди с цинком.
Опыт 4. К раствору CuSO4 прилейте раствор KI. Что наблюдаете? Составьте уравнение реакции, если один из продуктов йодид меди (I).
Сделайте вывод по работе.
Приложение 9
Результаты анкетирования экспериментального класса:
| ответы | сложная | пришлось подумать | не очень сложная | вообще не сложная |
| % | 14 | 38 | 40 | 8 |
1 вопрос:
| ответы | они тянулись | как обычно | быстрее, чем раньше | быстро, незаметно |
| % | 5 | 5 | 27 | 63 |
2 вопрос:
| ответы | никак не помогут | иногда помогут | конечно помогут |
| % | 12 | 38 | 50 |
3 вопрос:
| ответы | нет | немного было | да |
| % | 20 | 26 | 54 |
4 вопрос:
















