105192 (682863), страница 5
Текст из файла (страница 5)
Была разработана чрезвычайно простая кольцевая проба, которая в разных модификациях быстро завоевала популярность при исследовании цветных сплавов. Сплав заливается без специальной литниковой системы прямо в открытую полость формы – простейший кокиль со стальным стержнем. На поверхности кольцевой отливки измеряется суммарная длина трещин, являющаяся показателем горячеломкости. Впоследствии эта проба была ещё более упрощена тем, что стали измерять не суммарную длину трещин, а относительную длину основной трещины.
Как показали подробные исследования двойных и тройных систем на основе алюминия, проведённые в конце 40-х годов в Бирмингемском университете, кольцевая проба обладает довольно высокой чувствительностью к небольшим изменениям состава и хорошей воспроизводимостью результатов опытов. Кольцевая проба чрезвычайно проста, производительна, требует сравнительно небольшого расхода металла и позволяет в лабораторных условиях быстро наладить массовые исследования. На рисунке 5 показан кокиль для отливки кольцевой пробы. Для каждой серии сравниваемых сплавов диаметр стального стержня целесообразно подбирать в предварительных опытах так, чтобы наиболее горячеломкий сплав данной серии давал возможно более длинную трещину (но не длиннее, чем периметр радиального сечения кольца), а наименее горячеломкий сплав давал возможно более короткую трещину.
В пределах одной серии сравниваемых сплавов диаметр стального стержня кокиля должен быть постоянным (так же, как внешний диаметр и высота кольца). Тогда проба для всех сплавов этой серии обладает постоянной жёсткостью ( постоянной степенью локализации усадочных деформаций), и сплавы можно сравнивать по длине трещин на поверхности кольца. Необходимо подчеркнуть, что нельзя сравнивать по длине трещин сплавы из разных серий опытов, не учитывая диаметр стержня кокиля, так как при
Рис. 5 Кокиль для кольцевой пробы на горячеломкость
1 – съёмный стакан; 2 – стержень
разных диаметрах стержня кольцевые пробы обладают разной жёсткостью. Чем больше диаметр стержня, тем больше жёсткость пробы. Именно поэтому, приводя сведения о горячеломкости, необходимо указывать диаметр стального стержня, использованного при отливке кольцевой пробы. В большинстве случаев достаточно шести повторных опытов (заливок), чтобы надёжно определить показатель горячеломкости (суммарную длину всех трещин или относительную длину основной трещины). Длину трещины, которая бывает весьма извилиста, удобно измерять с помощью простого приспособления: укреплённое на конце рукоятки зубчатое колесо катится вдоль трещины и подсчитывает число полных его оборотов, а при неполном обороте – число зубьев, коснувшихся поверхности кольца.
Кристаллизационная трещина в принципе может развиваться в длину как в интервале кристаллизации, так и при температуре ниже солидуса. Поэтому естественен вопрос, какова уверенность в том, что на кольцевой пробе измеряется длина трещин чисто кристаллизационного происхождения. Фрактологический анализ многочисленных кольцевых проб из самых разнообразных цветных сплавов наглядно показал, что в подавляющем большинстве случаев на всей своей длине трещины на поверхности кольца имели кристаллизационное происхождение. Кроме того, данные о запасе пластичности в твёрдо-жидком состоянии и результаты измерения длины трещин на кольцевых пробах, как правило, очень хорошо согласуются. Следовательно, за редкими исключениями, (например, сплавы с очень высокой хрупкостью в твёрдом состоянии), на кольцевых пробах измеряется длина именно кристаллизационных трещин. Это не значит, что все получаемые с помощью кольцевой пробы сплавы не склонны к образованию холодных трещин. Рассматриваемая кольцевая проба обладает сравнительно небольшой жёсткостью, и поэтому холодные трещины на ней при изучении цветных сплавов появляются крайне редко. Само образование радиальной кристаллизационной трещины приводит к разрядке усадочных напряжений в кольце и этим уменьшает вероятность образования холодной трещины в нём. В то же время при непрерывном литье, когда в охлаждаемом водой слитке возникают очень большие термические напряжения, в кокильных отливках сложной конфигурации и при сварке, когда наблюдается сильная концентрация усадочных напряжений, типичные холодные трещины могут появиться и у тех сплавов, у которых, согласно кольцевой пробе, проявляется только горячеломкость.
Относительная длина основной трещины на кольцевых пробах изменяется при изменении состава сплава примерно так же, как суммарная длина всех трещин. Одновременно с развитием трещины в длину происходит её раскрытие, увеличение ширины. Длина и средняя ширина изменяются с составом качественно одинаково. Поэтому площадь трещины на поверхности кольца (произведение её длины на среднюю ширину) изменяется с составом качественно так же, как и длина трещины. Но измерение площади трещины существенно повышает трудоёмкость работы с кольцевой пробой. Для большинства исследований вполне достаточна чувствительность кольцевой пробы с измерением длины трещин. На поверхности отливки измеряется длина макротрещины, которая может объединять многочисленные межкристаллитные микротрещины. Чем больше последних, тем длиннее измеряемая трещина. Поэтому длина макротрещины в определённой мере отражает сопротивляемость сплава появлению очагов разрушения. Вполне очевидно, что длина макротрещины отражает также сопротивляемость сплава её развитию. Следовательно, принятая кольцевая проба даёт комплексный показатель горячеломкости, характеризующий как сопротивляемость сплава образованию, так и развитию кристаллизационных трещин. С практической точки зрения эта комплексность весьма ценна, так как для производственника важен не только факт наличия трещин, но и их размеры: короткие и неглубокие трещины можно заварить, и отливка не бракуется. К пробам, в которых показателем горячеломкости служат размеры, иногда относятся как к примитивным и противопоставляют их более сложным и будто бы более научно обоснованным методам оценки горячеломкости, например, по критическому напряжению. В действительности же кольцевая и подобная ей пробы, отличаясь исключительной простотой, не уступают, а часто и превосходят по чувствительности многие более сложные методы оценки горячеломкости, в том числе и метод определения критической нагрузки. Достоверность данных, полученных более сложными методами, часто проверяют по совпадению с результатами определения размеров трещин на более простых кольцевых пробах.
Применение кольцевой пробы позволило многим исследователям накопить обширный экспериментальный материал о зависимости горячеломкости цветных сплавов от состава и структуры, причём полученные данные прекрасно согласуются с производственным опытом, а также с результатами подсчёта условного запаса пластичности в твёрдо-жидком состоянии. Недостатком кольцевой пробы является малая её жёсткость, не позволяющая исследовать литейные сплавы со сравнительно небольшой горячеломкостью, например, большинство силуминов. Недостатком всех проб с постоянной жёсткостью является узость диапазона определяемой горячеломкости. Если проба недостаточно жёсткая, то она не позволяет различить по величине горячеломкости малогорячеломкие сплавы, так как они вообще не дадут трещин. Если же проба слишком жёсткая, то она не позволяет классифицировать сплавы с высокой горячеломкостью, так как в этом случае трещины приводят к полному разрыву по всему сечению отливок. Поэтому при работе, например, с кольцевой пробой необходимо для данной сплавов подбирать диаметр стержня, т.е. ширину кольцевой отливки при постоянном внешнем её диаметре, так, чтобы проба могла «различать» по величине горячеломкости все эти сплавы. Последнее условие вообще невозможно выполнить, если в исследуемую группу входят сплавы с очень высокой и очень низкой горячеломкостью. Тогда приходится сравниваемые сплавы разделять на две подгруппы и применять к ним пробу с повышенной и пониженной жёсткостью.
-
Стандартная кольцевая проба на горячеломкость
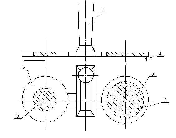
Стандартная кольцевая проба на горячеломкость (рисунок 6) представляет собой отливку в виде плоских колец, заполняемых от одного литника (1). Кольцо (2) толщиной 5 мм имеет во всех пробах один и тот же внешний диаметр, равный 107 мм. Для изготовления формы использовалась формовочная смесь, состоящая из кварцевого песка с 6% бентонита и 3% воды.
Внутренняя поверхность колец оформляется во всех случаях металлическими стержнями (3). Таким образом, в отливке создаются условия, благоприятные для образования усадочных напряжений вследствие механического торможения линейной усадки со стороны стержня. Кроме того, для образования термических напряжений применяют холодильники (4), которые увеличивают перепад температур в отливке. В результате этого возникающие деформации локализуются в одном месте – месте подвода металла к отливке, где заканчивается процесс кристаллизации. В этом месте и образуется трещина, если вынужденная деформация превысила значение предельной деформационной способности сплава.
Холодильники и стержни изготовлены из стали. Одна из сторон холодильника, которая соприкасается с отливкой, была покрыта слоем кварцевого песка со связующим веществом толщиной 1 мм. Ширина колец в радиальном направлении может изменяться от 5 до 47.5 мм с помощью металлических стержней различных диаметров. Критерием горячеломкости служит максимальная ширина кольца (в мм), при которой появляется трещина. Чем больше эта критическая ширина кольца, тем больше сплав предрасположен к образованию горячих трещин.
1.3.2. Во второй группе проб показатели горячеломкости отражают и размеры трещин, и размеры образца. Одновременный учёт обеих этих характеристик производится для того, чтобы сделать пробы более чувствительными и, вместе с тем, способными охватить более широкий диапазон горячеломкости.
Особый интерес представляет проба Хала. В отличие от всех известных проб, она может быть использована для оценки горячеломкости тугоплавких сплавов на основе титана, циркония, ниобия и т. п. Характерные особенности этой пробы: плавка во взвешенном состоянии малых навесок (2.4 см3 ) и заливка металла в медную форму в атмосфере гелия или аргона (рисунок 7).
В образце, который имеет вид шпильки с головками, из-за усадки металла и расширения медной формы возникают растягивающие деформации. С увеличением внешнего диаметра изложницы, т.е. с увеличением её массы, она меньше нагревается при заливке металла и меньше растягивает образец. Следовательно, жёсткость пробы возрастает с увеличением длины шпильки
Рис.6 Кольцевая проба на горячеломкость.
1 – литник; 2 – кольца переменной ширины; 3 – металлический стержень; 4 - холодильник
А и уменьшением внешнего диаметра формы С. Каждая форма характеризуется условным номером N, соответствующим определённым значениям А и С:
N………………………………. 4 5 6 7 8 9
А, дюйм………………………. 23/4 29/16 23/8 23/16 2 113/16
С, дюйм..................................... 3/4 3/4 3/4 3/4 3/4 3/4
N................................................. 10 11 12 13 14 15 16
А, дюйм..................................... 15/8 15/8 15/8 11/2 13/8 11/4 11/8
С, дюйм...................................... 3/4 1 11/4 11/4 11/4 11/4 11/4
На поверхности образца, Поворачиваемого в специальном держателе, По отсчетному лимбу измеряется угловая величина концентрических трещин (осевой их составляющей пренебрегают). Результаты измерений для каждого сплава представляются в виде графика "относительная длина трещин (%) – номер литейной формы». Чем больше этот номер, тем меньше растягивающие деформации и короче трещины. За показатель горячеломкости выбирается номер формы, при котором относительная длина трещины равна 40%.
Проба Хала (CPT-Test - cast-pin tear test) обладает удовлетворительной чувствительностью и позволяет производить сравнительно быстрые и недорогие испытания тугоплавких сплавов на горячеломкость.
-
В третьей группе проб показателем сопротивляемости образования трещин является критическая нагрузка на затвердевающий образец. Здесь можно выделить две подгруппы: пробы с заранее приложенной постоянной нагрузкой и пробы, в которых усадка тормозится непрерывно возрастающей нагрузкой (пружиной).
В пробах с постоянной нагрузкой вся она быстро передаётся на образец, когда начинается линейная усадка. В то же время в производственных отливках усадочные напряжения возникают постепенно по мере развития затруднённой усадки. Поэтому вполне логично использование проб, в которых усадка тормозится пружиной и нагрузка непрерывно возрастает от нуля до некоторой критической величины в момент образования трещины. Этот момент отмечается по появлению максимума на кривой «усилие
Рис.7 Медная форма для пробы Хала
сопротивления усадке – время», так как при образовании трещины усилие окончательно (при полном разрыве) или временно падает. В основе этих методов лежит схема опыта Бриггса и Гезелиуса (рисунок 8), измерявших усилие, которое возникало при торможении усадки образца пружиной. Образец в виде стержня заливается в песчаную форму, в полость которой с двух торцов вставлены шпильки. Одна шпилька жёстко укреплена в опоке, а другая соединена с пружиной. Затвердевающий металл «схватывает» шпильки, и образец с одного торца оказывается жёстко связанным с опокой, а с другого – соединённым через шпильку с пружиной, делающей усадку затруднённой.
Нагрузка на образец измеряется по прогибу пружины с помощью механического индикатора, проградуированного в единицах силы.
Результаты исследований с помощью приборов, в которых усадка тормозится пружиной, в сильной степени зависит от жёсткости пружины. Чем жёстче пружина, тем быстрее после окончания заливки образуется трещина и тем меньше в этот момент нагрузка. Следовательно, абсолютное значение критической нагрузки зависит не только от свойств сплава, но и от жёсткости пружины. Особенно важно то, что жёсткость пружины по-разному сказывается на критической нагрузке, определённой на разных сплавах. В результате можно получить разную зависимость сопротивляемости образованию трещин от состава. Так, при увеличении жёсткости пружины, в ряду сплавов Fe – C сталь с 0.2% С из наименее горячеломкой становится наиболее горячеломкой.
Было замечено, что при наличии у сплава предусадочного расширения, в производственных отливках стержень, расширяющийся при заливке металла, оказывает сопротивление усадке как только она начинается, а в установке с пружиной нагрузка прикладывается к образцу с опозданием. Обусловлено последнее тем, что в период предусадочного расширения пружина из положения oa изгибается в положение oc , а после начала усадки, когда она возвращается в исходное положение, образец не нагружен (рисунок 3). Образец нагружается только после того, как пружина проходит через исходное положение oa и отклоняется в положение ob. Из-за холостого хода пружины критическая нагрузка зависит от величины предусадочного расширения, и результаты испытаний иногда расходятся с производственным















