ochenka (682836), страница 3
Текст из файла (страница 3)
По мнению К. И. Ващенко и С. П. Дорошенко, прямой связи между образованием легкоотделимых пригарных корок и количеством стекловидной фазы не наблюдается. Наоборот, стекловидная фаза более склонна к сцеплению с металлом, чем кристаллическая фаза такого же состава. На основе исследований К. И. Ващенко и С. П. Дорошенко пришли к выводу, что причиной легкого отделения пригарной корки от отливки является слой окислов железа, образующихся между отливкой и пригарной коркой [10]
Если толщина слоя окислов составляет примерно 100 мк, пригарная корка легко отделяется. При меньшей толщине отделение пригарной корки затруднено.
Именно этим исследователи [10] объясняют легкое отделение пригарного слоя при изготовлении в формах с жидким стеклом стальных отливок и в аналогичных условиях трудное отделение корки на чугунном литье. Влияние теплоаккумулирующей способности формы на условия образования легкоотделимого пригара они отрицают.
Заметим, что по нашему мнению, в перспективе, введением в смеси с жидким стеклом специальных добавок удастся, не прибегая к окраске стержней и форм, также и на чугунных отливках получить чистую, свободную от пригара поверхность. Некоторые шаги в этом направлении были сделаны в работе И. В. Рыжкова, вводившего в составы смесей с жидким стеклом флюорит, а также исследовавшего смеси, состоящие из полевого шпата, кремнезема, каолина и жидкого стекла. Перейдем к экспериментальному рассмотрению условий образования пригара на стальных и чугунных отливках при использовании смесей с жидким стеклом.
2.Методы
качественной оценки пригара.
2. КАЧЕСТВО ПОВЕРХНОСТИ ОТЛИВОК
Шероховатость отличается от пригара тем, что
-
концентрация окислов на поверхности металла отливки недостаточна для образования промежуточного соединения, вызывающего плотное приставание поверхности формы к поверхности отливки;
-
как и при химическом пригаре, отдельные выступы на поверхности формы не превосходят радиуса зерна формы.
Качественная оценка величины пригара, предложенная Уральским политехническим институтом, представлена в табл.3. Категории пригара характеризуются степенью трудности удаления пригара при очистке и способами его удаления. Говорить о прочности сцепления механического пригара с отливкой нет смысла, так как в этом случае трудность удаления пригара определяется прочностью самого металла и частотой струек, проникших в форму, на единицу площади. Поэтому в дальнейшем целесообразно говорить о прочности сцепления либо полностью окисленного механического пригара, либо чисто химического пригара. Последний случай часто встречается при использовании жидкостекольных форм для чугунного и высоколегированного литья.
Прочность связи двух разнородных фаз (в нашем случае металла и пригарного вещества) при нормальной температуре определяется несколькими факторами.
Ф. Д. Оболенцев[6] приводит классификацию пригара по способам, необходимым для его удаления, и виду отделяемых частиц пригара (табл. 1).
Таблица 1
КАЧЕСТВЕННАЯ ОЦЕНКА ПРИГАРА
| Категория пригара | Степень трудности удаления пригара при очистке |
| Очень сильный | Пригар с большим трудом удаляется пневматическим зубилом и только вместе с металлом тела отливки. Поверхность отливки после очистки иссечена зубилом, и на ней остаются полосы прочно пригоревшей смеси |
| Сильный | Пригар с трудом удаляется пневматическим зубилом. Поверхность отливки иссечена зубилом. Местами остаются участки пригоревшей смеси |
| Средний | Пригар хорошо удаляется пневматическим зубилом. Ручным зубилом тоже может быть удален, но с большим трудом. Поверхность после очистки очень шероховатая |
| Слабый | Пригар успешно удаляется ручным зубилом. Поверхность отливки после очистки немного шероховатая |
| Очень слабый | Пригар легко очищается ручным зубилом. Поверхность отливки после очистки не имеет следов пригара |
| Нет пригара | Поверхностный слой спекшейся смеси легко очищается даже без применения ручного зубила ударами молотка. Поверхность отливки после очистки гладкая |
С другой стороны, если пригар легко удаляется при проведении какой-либо операции, предусмотренной общим технологическим процессом изготовления отливок (термообработка, дробеструйная очистка и. т. п.), можно допускать на отливках образование пригара определенной величины.
Поэтому естественно стремление литейщиков классифицировать пригар по прочности сцепления с отливкой и дать количественную оценку величины пригара.
Ф. Д. Оболенцев приводит классификацию пригара по методам, необходимым для его удаления, и по виду отделившихся частиц пригара (табл.2).
Таблица 2
КЛАССИФИКАЦИЯ ПРИГАРА ПО СПОСОБАМ, НЕОБХОДИМЫМ ДЛЯ ЕГО УДАЛЕНИЯ
| Способ удаления пригара | Балл | Способ удаления пригара | Балл | |
| Ударом молотка по отливке Стальной щеткой (ручной или механической) Пескоструйной очисткой Дробеструйной очисткой | 1 2 3 4 | Пневматическим зубилом: - пластами - мелкими частицами вместе со слоем металла | 5 6 | |
значения при одинаковой толщине пригарной корки метод Н. Т. Жарова дает одинаковые работы для пригара 5, 6 и 7-го баллов (см. табл.2), и, наоборот, для пригара, отделяющегося пластами (5-й балл), величина работы будет зависеть от толщины пригарной корки, хотя прочность сцепления пригара с отливкой остается одной и той же.
По сопоставлению величин затраченной работы на удаление пригара со временем очистки отливок производственными способами получены корреляционные соотношения, позволяющие рассчитать относительную величину трудозатрат, необходимую для удаления исследуемого пригара в производственных условиях.
Таблица 3
| Способ очистки отливок | относительная величина трудозатрат для удаления пригара Корреляционное соотношение |
| Галтовочный барабан Пневматический молоток Пескоструйная камера Дробеметный барабан | tv. б == -50,6 + + 113,6Ауд Тп.м== 5,23+2,11Ауд Тп.к= 0,14+0,012Тс Тд. Б = 24,91 + + 17.33Ауд+ 1,5Тс |
И.Б. Куманиным предложена классификация пригара (табл.4) в основу которой положено представление о том, что пригар всегда состоит из зерен наполнителя, сцементированных затвердевшей жидкостью. Этой жидкостью могут являтся металл или его окислы, проникшие в поры формы, или легкоплавкие соединения и сплавы, образовавшиеся в результате взаимодействия между окислами металла и формовочными материалами, или, наконец, жидкое вещество может возникнуть в самом формовочном материале за счет расплавления примесей, входящих в его состав, или же за счет образования легкоплавких силикатов.
| Классификация пригара по способу его удаления ( по И.Б. Куманину) Таблица 4 | |||||
| Условная степень пригара | Характеристика слоя пригара | Способ удаления пригара | Механический | Термический | Химический |
| Характеристика пригарных корок | |||||
| 0 (нулевая) | Легкоотделимый | При выбивке | Не связана с отливкой. Легко отделяется в виде кусков спекшейся формовочной смеси, сохранившей зерновое строение | Не связана с отливкой. Хрупкая, легко скалывается | |
| 1 (первая) | Отделимый | При очистке литья | Наружная часть корки рассыпчатая. Отливка умеренно связана с коркой. Четкая граница между пригаром и металлом | От рассыпчатой до монолитной. Четкая граница между пригаром и металлом. Умеренная связь с отливкой | |
| 2 (вторая) | Тонкий слой трудноотделимый | Вырубкой | Состоит из металла и зерен формовочного материала, прочно соединена с отливкой. Толщина слоя до 4 мм | Монолитная и прочная. Нет четкой границы между пригаром и металлом. Прочная связь с отливкой. Толщина слоя до 4 мм | |
| 3 (третья) | Толстый слой трудноотделимый | Вырубкой | Состоит из формовочного материала и металла. Прочно соединена с отливкой. Толщина слоя больше 4 мм | Монолитная и прочная. Нет четкой границы между пригаром и металлом. Прочная связь с отливкой. Толщина слоя больше 4 мм | |
3.Методы
количественной оценки пригара.
В основу количественной оценки величины пригара положены относительные величины трудозатрат на удаление пригарной корки двумя видами механического воздействия: истиранием и ударом. Для количественной оценки трудозатрат на очистку литые образцы, на которых образовался пригар, подвергают испытаниям на двух приборах. Первый из них разработан ВПТИлитпромом (г. Ленинград) и определяет время Тд стачивания пригарного слоя абразивным кругом [4]. Второй прибор, созданный в лаборатории технологии литейных процессов Челябинского политехнического института, измеряет удельную работу разрушения Луд корки пригара ударным воздействием бойка долотчатой формы [6].
3.1. Методика количественной оценки пригара.
Для определения влияния того или иного фактора на образование пригара необходим метод его количественной оценки. Такой метод может быть использован при выборе рациональных технических средств (типа очистного оборудования) или при определении влияния технологических факторов (например, состава смеси) на образование чистой поверхности отливок. С этой целью был изготовлен опытный образец прибора, позволяющий производить оценку химического и механического пригара по трудоёмкости его удаления с поверхности отливок. В качестве основного критерия принято время отсутствия электрического контакта между стальным щупом и поверхностью образца. По времени, затраченному на снятие пригара при постоянном усилие обработки, числу оборотов абразивного круга и образца определяется энергия, израсходованная на удаление пригара.
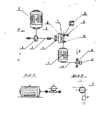
Прибор состоит из двух электродвигателей (типа ДПТ-21-4, N=0,27 квт, n=1400 об/мин и типа АОЛБ-11/2, N=0,08 квт, n=2890 об/мин, имеющего возможность свободного перемещения вокруг вертикальной оси в горизонтальной плоскости), червячной пары, передающей вращательные движения от двигателя исследуемому образцу, абразивного круга и подвижного стального щупа пластинчатого типа. Прибор работает в полуавтоматическом режиме. При нажатии на кнопку «пуск» цепь управления замыкается, через обмотку магнитного пускателя проходит ток, срабатывают контакты магнитного пускателя, осуществляется одновременный пуск двигателей.
Д
вигатели имеют различные направления вращения. На валу двигателя АОЛБ – 11/2 закрепляется абразивный круг с наружным диаметром 50 мм и толщиной 5 мм, двигатель ДПТ – 21-4 через редуктор передает вращательные движения исследуемому образцу со скоростью 20 об/мин. Режим абразивного круга к образцу в процессе обработки остается постоянным и осуществляется с помощью груза посредством гибкой связи через блок. Стальной щуп регулируется таким образом, чтобы в процессе обработки образца абразивным кругом он точно фиксировал траекторию воздействия абразива на образец по кругу.
Рис.3. Принципиальная схема прибора для количественной оценки пригара
По мере воздействия абразива на образец снимается пригарный слой, обнажается металлическая поверхность и через щуп происходит сначала кратковременное, а затем все увеличивающееся по мере обработки замыкания реле времени накопительного типа до тех пор пока сумма времени в замкнутом состоянии не достигнет времени настройки реле. При времени накопления, равном времени настройки, в цепи управления размыкаются контакты, и двигатели автоматически отключаются. Время с момента включения электродвигателей до их автоматического выключения фиксируется секундомером. Указанный процесс повторяется до тех пор, пока время обработки за цикл, замеряемое секундомером, не будет равняться времени настройки реле, что указывает на отсутствие пригара. Таким образом, время удаления комплексного пригара равно разности сумм общего времени обработки образца абразивом, замеряемого секундомером (времени работы электродвигателей за n циклов), и времени соприкосновения щупа с очищенной от пригара поверхностью образца, равного произведению времени настройки реле на число циклов:
Т=(tn + tn-1 + ...+ t1 + t0) - nt (3.1)
















