79991 (674846), страница 12
Текст из файла (страница 12)
- установка железобетонных панелей;
- заделка панелей оград в стаканах фундаментов.
3.1.3. Работы по монтажу оград выполняют при помощи автокрана марки КС-2561К-1 при положительной температуре наружного воздуха.
3.1.4. При привязке технологической карты необходимо уточнить объём работ, калькуляцию трудовых затрат, график производства работ и средства механизации.
3.2 Организация и технология строительного процесса
3.2.1. До начала монтажа элементов железобетонных оград должны быть выполнены следующие работы:
- устроены подъезды для автотранспорта и монтажного крана;
- доставлены на объект монтажный кран, инвентарь, инструмент и приспособления;
- спланированы площадка для складирования элементов ограды, приспособлений и инвентаря;
- завезены на строительную площадку элементы ограждения с созданием не менее 4-х сменного запаса, который постоянно должен поддерживаться;
- выполнена разбивка трассы ограды;
- выкопаны, выровнены и защищены котлованы для сборных фундаментов до проектных отметок, с устройством песчаной подушки.
3.2.2. Доставленные на строительную площадку железобетонные изделия должны отвечать следующим требованиям:
- элементы сборных железобетонных оград должны иметь маркировку и штампы ОТК предприятия-изготовителя;
- на каждую партию однотипных элементов предприятие-изготовитель должно представить акты испытаний контрольных образцов, отвечающих требованиям ГОСТ 7473-85 (испытания изделий могут не производиться, если производится систематический контроль за качеством бетона и арматуры согласно требованиям ГОСТ 8829-85) и паспорта изделий;
- панели оград не должны иметь внешних дефектов и повреждений;
- предельные отклонения фактических размеров панелей оград не должны превышать по длине ± 8 мм, по высоте ± 8 мм, по толщине ± 5 мм;
- предельные отклонения фактических размеров для фундаментов не должны превышать ± 15 мм.
3.2.3. Последовательность выполнения операций при монтаже сборных железобетонных элементов ограды:
- планировка верха котлованов под проектную отметку;
- установка фундаментов, их выверка;
- установка сборных панелей ограды, их выверка и раскрепление клиньями;
- замоноличивание панелей оград бетоном;
- засыпка котлованов и траншей грунтом с уплотнением вручную.
Монтаж элементов ограды производят автомобильным краном КС-1562.
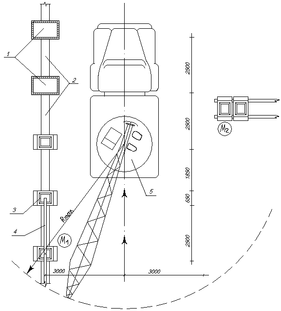
Для размётки мест установки фундаментов следует натянуть вдоль ограды проволоку. На дно котлована, отвесом переносят центры фундаментов, вдоль оси ограды в обе стороны отмеряют расстояние равное половине ширины фундамента, после чего фиксируют эти точки колышками, забитыми в грунт.
Монтаж фундаментов производят двухветвевым стропом. Схема организации рабочего места представлена на рисунке 3.1.
3.2.4. Работы производят при положительной температуре воздуха.
3.2.5. Работы по монтажу элементов ограды выполняет звено монтажников в составе: монтажников 4 разряда – 1 человек, 3 разряда – 1 человек, машиниста 6 разряда – 1 человек.
Рис. 3.1 Схема организации работ
1- котлован под фундаменты; 2 – траншея; 3 – сборный железобетонный фундамент; 4 – сборная железобетонная панель ограды; 5 – автокран КС-2561К-1; М1, М2 - монтажники
3.3 Калькуляция затрат труда
Таблица 3.1
ЕНиР | Наименование работ | Ед. изм. | Объем работ | Норма времени на ед. изм., чел.-ч. | Затраты труда на весь объем работ, чел.-см. |
Е 4-1-19 | Монтаж сборной железобетонной ограды: | ||||
т. 2, п. 1 а | Установка фундаментных блоков | 1 блок | 50 | 0,4 | 2,44 |
т. 2, п. 2 а | Установка столбов | 1 столб | 50 | 0,6 | 3,66 |
т. 2, п. 4 а | Установка панелей ограждений | 1 панель | 48 | 0,86 | 5,03 |
т. 2, п. 6 а | Заделка стыков | 1 стык | 50 | 0,28 | 1,71 |
Итого: | | 12,84 | |||
т. 2, п. 1 б, 2 б, 4 б, 6 б | Обслуживание крана | м/см | | | 6,42 |
Всего: | | 19,26 | |||
3.4 График производства работ
Таблица 3.2
| Наименование работ | Ед. изм. | Объем работ | Трудоем-кость на ед. изм., чел.-ч | Трудоем-кость на весь объем рабрт, чел.-см. | Состав звена, используемые механизмы | Рабочие дни | |||||||
| 1 | 2 | 3 | 4 | 5 | 6 | 7 | 8 | ||||||
| Монтаж сборной железобетонной ограды | м | 100 | 2,194 | 12,84 | Монтажник: 4 разр. – 1 3 разр. - 1 |
| |||||||
| шт. | 48 | ||||||||||||
| Обслуживание монтажного крана | машино-смен | 6,42 | 1,0 | 6,42 | Машинист 6 разр. – 1 | ||||||||
| ИТОГО: | 19,26 | ||||||||||||
3.5 Схема операционного контроля качества работ
Таблица 3.3
| Наименование операций, подлежащих контролю | Контроль качества выполнения операций | ||||
| производите-лем работ | мастером | состав | способы | время | Привлекае-мые службы |
| Подготови-тельные ра-боты | Подготови-тельные ра-боты | Толщина песчаной или гравий-ной подушки. Защита осно-вания от промерзания. Очистка фундаментных блоков от грязи, а зимой от снега и наледи. Проверка основания, геомет-рических размеров фунда-ментных блоков, отсутствие дефектов (трещины, раковины и т.п.) сопоставление пас-портных данных с проектными | Метром, визуально Визуально Метром, рулеткой, визуально | До начала монтажа То же То же | Технадзор - - |
| Установка контрольных визирок по осям фунда-ментов Монтаж и ни-велировка фундаментов | Соответствие перенесенных осей на дно котлована проекту. Точность положения осей и отметок верха контрольных визирок. Точность установки. Соот-ветствие проектным отметкам к осям. | Теодолитом, нивелиром Нивелиром, отвесом | То же Во время монтажа блоков | Геодезист Геодезист | |
Продолжение таблицы 3.3
| Наименование операций, подлежащих контролю | Контроль качества выполнения операций | ||||
| производите-лем работ | мастером | состав | способы | время | Привлекае-мые службы |
| - Установка панелей ог-рад Замоноличива-ние фундамен-тов | Подготовка мест уста-новки пане-лей оград - - | Очистка стаканов фундаментов от грязи, зимой от снега и нале-ди. Наличие рисок на фунда-менте. Отметка дна стакана. Правильность и надежность строповки. Наличие паспортов. Вертикальность установки, соосность стоек в нижнем и верхнем сечении. Надежность временного крепления. Тщательность замоноличивания (внешний дид). Марка консистенция бетонной смеси. Тщательность уплот-нения. | Визуально, метром Визуально, нивелиром Визуально Стандартным конусом | До начала монтажа В процессе монтажа После замоноли-чивания То же | - Геодезист - Лаборатория |
3.6 Материально-технические ресурсы
3.6.1. Потребность в основных конструкциях и полуфабрикатах.
Таблица 3.4
| Наименование | Марка | Ед. изм. | Количество |
| Фундамент Железобетонная панель Бетон | ФО-2 ПО-20 М 200 | шт. шт. м3 | 41 40 2,1 |
3.6.2. Потребность в машинах, оборудовании, инструменте, инвентаре и приспособлениях.
Таблица 3.5
| Наименование | Марка, ГОСТ | Кол. | Техническая характеристика |
| Монтажный кран | КС-256К-1 | 1 | Грузоподъемность 1,75-6,3 т Вылет стрелы 8 м |
| Строп 2-х ветвевой | ТУ 66 234-77 | 1 | Грузоподъемность 10 т |
| Оттяжки из пенькового каната | ГОСТ 483-75 | 2 | |
| Уровень строительный | УС 2-700 ГОСТ 9416-83 | 1 | |
| Отвес | О-400 ГОСТ 7948-80 | 1 | |
| Метр | 1 | ||
| Рулетка | РС-20 | 1 | Длина 20 м |
| Лопата совковая | ГОСТ 19596-87 | 1 | |
| Кельма | ГОСТ 9533-81 | 1 | |
| Проволока, кг | ГОСТ 32828-74 | 60 | Диаметр 2 мм |
| Клинья деревянные | ГОСТ 12235-74 | 150 | |
| Лом монтажный | ГОСТ 1405-83 | 2 | |
| Кувалда | ГОСТ 11402-75 | 1 | |
| Рейка-отвес | ГОСТ 9416-83 | 1 | |
| Каска защитная | ГОСТ 12.4.087-84 | 2 |
3.7 Технико-экономические показатели
Затраты труда на весь объем, чел.-см. 19,26
Затраты труда на 1 м ограды, чел.-см. 0,19
Выработка одного рабочего в смену, м 5,19
Потребность в монтажном кране на весь объем работ, м/см. 6,42
3.8 Техника безопасности
При производстве работ по монтажу сборных железобетонных элементов оград необходимо соблюдать СНиП III-4-80 «Техника безопасности в строительстве».
К производству работ допускаются лица, достигшие 18-ти-летнего возраста, прошедшие медицинский осмотр, обученные и аттестованные по данному виду работ, получившие вводный инструктаж, инструктаж на рабочем месте и аттестованные в качестве стропальщиков.
















