46098 (665382)
Текст из файла
МОСКОВСКИЙ ГОСУДАРСТВЕННЫЙ ИНСТИТУТ РАДИОТЕХНИКИ ЭЛЕКТРОНИКИ И АВТОМАТИКИ (ТЕХНИЧЕСКИЙ УНИВЕРСИТЕТ)
Кафедра №239 НИИ “ВОСХОД”
Курсовая работа на тему:
“Интерфейс пользователя системой”
| Студент: | Позднеев И.А. |
| Группа: | АП-5-92 |
| Преподаватель: | Шемакин Ю.И. |
МОСКВА - 1996г
ВВЕДЕНИЕ
Современные методы проектирования деятельности пользователей АСУ сложились в рамках системотехнической концепции проектирования, в силу чего учет человеческого фактора ограничился решением проблем согласования “входов” и “выходов” человека и машины. Вместе с тем при анализе неудовлетворенности пользователей АСУ удается выявить, что она часто объясняется отсутствием единого, комплексного подхода к проектированию систем взаимодействия.
Использование системного подхода позволяет принять во внимание множество факторов самого различного характера, выделить из них те, которые оказывают самое большое влияние с точки зрения имеющихся общесистемных целей и критериев, и найти пути и методы эффективного воздействия на них. Системный подход основан на применении ряда основных понятий и положений, среди которых можно выделить понятия системы, подчиненности целей и критериев подсистем общесистемным целям и критериям и т.д. Системный подход позволяет рассматривать анализ и синтез различных по своей природе и сложности объектов с единой точки зрения, выявляя при этом важнейшие характерные черты функционирования системы и учитывая наиболее существенные для всей системы факторы. Значение системного подхода особенно велико при проектировании и эксплуатации таких систем, как автоматизированные системы управления (АСУ), которые по существу являются человеко-машинными системами, где человек выполняет роль субъекта управления.
Системный подход при проектировании представляет собой комплексное, взаимосвязанное, пропорциональное рассмотрение всех факторов, путей и методов решения сложной многофакторной и многовариантной задачи проектирования интерфейса взаимодействия. В отличие от классического инженерно-технического проектирования при использовании системного подхода учитываются все факторы проектируемой системы - функциональные, психологические, социальные и даже эстетические.
Автоматизация управления неизбежно влечет за собой осуществление системного подхода, так как она предполагает наличие саморегулирующейся системы, обладающей входами, выходами и механизмом управлением. Уже само понятие системы взаимодействия указывает на необходимость рассмотрения окружающей среды, в которой она должна функционировать. Таким образом, система взаимодействия должна рассматриваться как часть более обширной системы - АСУ реального времени, тогда как последняя - системы управляемой среды.
В настоящее время можно считать доказанным, что главная задача проектирования интерфейса пользователя заключается не в том, чтобы рационально “вписать” человека в контур управления, а в том, чтобы, исходя из задач управления объектом, разработать систему взаимодействия двух равноправных партнеров (человек-оператор и аппаратно-программный комплекс АСУ), рационально управляющих объектом управления.
ПРЕДМЕТНАЯ ОБЛАСТЬ
Итак, очевидно, что человек-оператор является замыкающим звеном системы управления, т.е. субъектом управления, а АПК (аппаратно-программный комплекс) АСУ является инструментальным средством реализации его управленческой (оперативной) деятельности, т.е. объектом управления. По определению В.Ф.Венды, АСУ представляет собой гибридный интеллект, в котором оперативный (управленческий) состав и АПК АСУ являются равноправными партнерами при решении сложных задач управления.
Рациональная организация труда операторов АСУ является одним из важнейших факторов, определяющих эффективное функционирование системы в целом. В подавляющем большинстве случаев управленческий труд - опосредованная деятельность человека, поскольку в условиях АСУ он ведет управление, “не видя” реального объекта. Между реальным объектом управления и человеком-оператором находится информационная модель объекта (средства отображения информации). Поэтому возникает проблема проектирования не только средств отображения информации, но и средств взаимодействия человека-оператора с техническими средствами АСУ, т.е. проблема проектирования системы, которую нам следует назвать интерфейс пользователя.
Интерфейс взаимодействия человека с техническими средствами АСУ может быть структурно изображен (см. на рис.1.). Он состоит из АПК и протоколов взаимодействия. Аппаратно-программный комплекс обеспечивает выполнение функций:
-
преобразование данных, циркулирующих в АПК АСУ, в информационные модели, отображаемые на мониторах (СОИ - средства отображения информации);
-
регенерация информационных моделей (ИМ);
-
обеспечение диалогового взаимодействия человека с ТС АСУ;
-
преобразование воздействий, поступающих от ЧО (человека-оператора), в данные, используемые системой управления;
-
физическая реализация протоколов взаимодействия (согласование форматов данных, контроль ошибок и т.п.).
Назначение протоколов состоит в том, чтобы обеспечить механизм достоверной и надежной доставки сообщений между человеком-оператором и СОИ, а следовательно, между ЧО и системой управления. Протокол - это правило, определяющее взаимодействие, набор процедур обмена информацией между параллельно выполняемыми процессами в реальном масштабе времени. Эти процессы (функционирование АПК АСУ и оперативная деятельность субъекта управления) характеризуются, во-первых, отсутствием фиксированных временных соотношений между наступлением событий и, во-вторых, отсутствием взаимозависимости между событиями и действиями при их наступлении.
Функции протокола связаны с обменом сообщениями между этими процессами. Формат, содержание этих сообщений образуют логические характеристики протокола. Правила же выполнения процедур определяют те действия, которые выполняют процессы, совместно участвующие в реализации протокола. Набор этих правил является процедурной характеристикой протокола. Используя эти понятия, мы можем теперь формально определить протокол как совокупность логических и процедурных характеристик механизма связи между процессами. Логическое определение составляет синтаксис, а процедурное - семантику протокола.
Генерирование изображения с помощью АПК позволяет получать не только двумерные спроецированные на плоскость изображения, но и реализовать картинную трехмерную графику с использованием плоскостей и поверхностей второго порядка с передачей текстуры поверхности изображения.
В зависимости от вида воспроизводимого изображения следует выделить требования по алфавиту ИМ, по способу формирования символов и по разновидности использования элементов изображения. Используемый алфавит характеризует тип модели, её изобразительные возможности. Он определяется классом решаемых задач, задается числом и типом знаков, количеством градаций яркости, ориентацией символов, частотой мерцания изображения и др.
Алфавит должен обеспечивать построение любых информационных моделей в пределах отображаемого класса. Необходимо также стремиться к уменьшению избыточности алфавита.
Способы формирования знака классифицируются в соответствии с используемыми элементами изображения и делятся на моделирующие, синтезирующие и генерирующие. Для знака, который формируется на экране ЭЛТ, предподчительным является матричный формат.
Наблюдение за монитором позволяет пользователю построить изображение режима системы, которое формируется на основе обученности, тренировки и опыта (концептуальная модель), следовательно, возможно сравнение этого изображения с изображением теоретическим в соответствии с ситуацией. Требование адекватности, изоморфизма, сходства пространственно-временной структуры отображаемых объектов управления и окружающей среды определяет эффективность модели.
Частота регенерации, определяющая быстродействие формирования ИМ, а следовательно, и возможность функционирования системы в интерактивном режиме, влияет на все компоненты системы, связанные с обработкой и отображением информации. Воспроизведение изображения осуществляется на основе его цифрового представления, которое содержится в блоке памяти, называемом буфером регенерации.
Рис. 1. Информационно-логическая схема интерфейса взаимодействия.
ИНФОРМАЦИОННАЯ МОДЕЛЬ: ВХОДНАЯ И ВЫХОДНАЯ ИНФОРМАЦИЯ
ПРОЦЕСС ПРЕОБРАЗОВАНИЯ СЛОЖНОЙ ГРАФИЧЕСКОЙ ИНФОРМАЦИИ
Информационная модель, являясь для оператора источником информации, на основе которой он формирует образ реальной обстановки, как правило, включает большое количество элементов. Учитывая различный семантический характер используемых элементов, информационную модель можно представить как совокупность взаимосвязанных элементов:
D ={Dn} ,
где Rj - множество элементов информационной модели j-й группы, n=1,...N; k=1,...K.
Количество групп элементов информационной модели определяется степенью детализации описания состояний и условий функционирования объекта управления. Как правило, элемент информационной модели связан с каким-либо параметром объекта управления.
Наряду с этим информационная модель графического типа может рассматриваться как сложное графическое изображение. Элементы информационной модели здесь выступают как элементы изображения.
Любое изображение состоит из некоторого набора графических примитивов, представляющих собой произвольный графический элемент, обладающий геометрическими свойствами. В качестве примитивов могут выступать и литеры (алфавитно-цифровые и любые другие символы).
Совокупность графических примитивов, которой оператор может манипулировать как единым целым, называют сегментом отображаемой информации. Наряду с сегментом часто используется понятие графический объект, под которым понимают множество примитивов, обладающих одинаковыми визуальными свойствами и статусом, а также идентифицированных одним именем.
При организации процесса переработки информации в системах отображения будем манипулировать следующими понятиями:
-
Статическая информация - относительно стабильная по содержанию информация, используемая в качестве фона. Например, координатная сетка, план, изображение местности и т.д.
-
Динамическая информация - информация, переменная в определенном интервале времени по содержанию или положению на экране. Реально динамическая информация часто является функцией некоторых случайных параметров.
Такое деление считается сильно условным. Несмотря на это, при проектировании реальных систем отображения информации решается без затруднений.
АНАЛИЗ СИСТЕМЫ ОТОБРАЖЕНИЯ ИНФОРМАЦИИ
Системы отображения информации рассматриваемого класса АСУ используют особую область растровой графики - синтез изображения в реальном масштабе времени. Основным показателем, характеризующим подобные системы, является производительность, т.е. количество графических примитивов, обрабатываемых за время формирования кадра. Повышение производительности таких систем дает возможность отображать за время раскадровки больший объем информации, что приведет к возможности решения качественно новых задач.
Непосредственному синтезу изображения в системах реального времени предшествует разработка базы данных моделей сцены. Синтез изображения заключается в формировании последовательности кадров изображения в результате выполнения алгоритма визуализации. Исходными данными являются поступающие в реальном режиме времени параметры, а также информация из базы данных модели сцены.
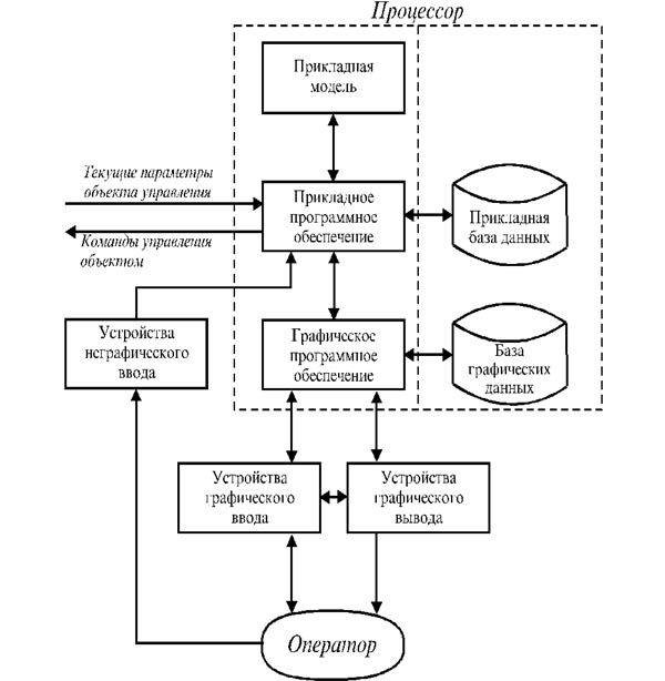
Обобщенная структурная схема системы отображения информации, обеспечивающая формирование поликодовых информационных моделей визуального типа, приведена на рис. 2.
Рис. 2. Структурная схема системы отображения информации.
Прикладная модель представляет собой математическое описание объекта управления, позволяющее моделировать его текущие и прогнозируемые состояния на основе знания совокупности отдельных параметров.
Прикладная база данных реализует хранение параметров управляемого объекта, необходимых для формирования требуемых информационных моделей, и обеспечивает их выбор по запросам прикладного программного обеспечения.
Прикладное программное обеспечение выполняет следующие основные функции:
-
производит обработку запросов оператора по выбору и модификации информационных моделей;
-
формирует исходные данные для программного обеспечения визуализации информации, которые включают перечень графических объектов, соответствующих элементам формируемой информационной модели, а также параметры, определяющие совокупность и характеристики геометрических преобразований, процесса визуализации и привязки отдельных графических объектов к поверхности изображения;
-
обеспечивает прием параметров объекта управления и управляет прикладной базой данных;
-
осуществляет прием команд управления объектом от оператора, их обработку и передачу системе управления.
База графических данных служит для организации хранения графических объектов, соответствующих элементам формируемых информационных моделей, реализуя их выбор по запросам графического программного обеспечения.
Основные функции графического программного обеспечения:
-
выполнение графических или геометрических преобразований;
-
управление базой графических данных;
-
реализация интерфейсной части диалога компьютер - пользователь;
-
формирование запросов к прикладному программному обеспечению в процессе диалога компьютер - пользователь;
-
управление вводом-выводом визуализированной информации.
Устройства графического ввода выполняют функции обеспечения интерфейсной части диалога по вводу запросов в систему, а также функции обеспечения процессов измерений. Кроме того, эти устройства реализуют отображение информационных моделей, выполняя при этом в ряде случаев частичные графические и геометрические преобразования, а также обеспечивают поддержание графического диалога с оператором.
Устройства неграфического ввода обеспечивают передачу команд управления объектом от оператора прикладному программному обеспечению. Необходимо отметить, что данные устройства могут отсутствовать, если в системе отображения информации передача команд управления объектом реализуется с использованием средств графического диалога.
ФУНКЦИОНАЛЬНЫЕ ЗАДАЧИ, КОТОРЫЕ ДОЛЖНА РЕШАТЬ СИСТЕМА
Характеристики
Тип файла документ
Документы такого типа открываются такими программами, как Microsoft Office Word на компьютерах Windows, Apple Pages на компьютерах Mac, Open Office - бесплатная альтернатива на различных платформах, в том числе Linux. Наиболее простым и современным решением будут Google документы, так как открываются онлайн без скачивания прямо в браузере на любой платформе. Существуют российские качественные аналоги, например от Яндекса.
Будьте внимательны на мобильных устройствах, так как там используются упрощённый функционал даже в официальном приложении от Microsoft, поэтому для просмотра скачивайте PDF-версию. А если нужно редактировать файл, то используйте оригинальный файл.
Файлы такого типа обычно разбиты на страницы, а текст может быть форматированным (жирный, курсив, выбор шрифта, таблицы и т.п.), а также в него можно добавлять изображения. Формат идеально подходит для рефератов, докладов и РПЗ курсовых проектов, которые необходимо распечатать. Кстати перед печатью также сохраняйте файл в PDF, так как принтер может начудить со шрифтами.















