LABA (664959), страница 2
Текст из файла (страница 2)
В этой схеме, если на информационный вход триггера подавать сигнал
и поменять местами выходы, получится D-триггер, информационный вход которого работает по негативной логике.
Рассмотрим триггеры со счётными входами, или так называемые Т-триггеры. В простейшем случае Т-триггер можно построить на двух RS-триггерах типа рисунка 2-2а, с добавлением некоторых входов или вентилей, как это делается обычно при построении Т-триггера на булевых элементах. Однако при этом потребуются 4-6 элементов, то есть схема получается сложной.
На рисунке 2-4 показана схема счётного триггера, построенная на трёх мажоритарных элементах. Для работы в счётном режиме на управляющие входы y1 и y2 подаётся постоянно высокий уровень потенциала 1. При каждом поступлении счётного сигнала Т выход Q-триггера переключается в противоположное состояние, причём рабочим перепадом является отрицательный перепад счётного сигнала, то есть триггер работает по принципу Master-Slave, МЭ1 и МЭ2 образуют ведущий триггер, а МЭ3-ведомый. На рисунке 2-4 справа показана временная диаграмма работы триггера. Максимальная частота переключения этого триггера в счётном режиме равна:
, где τ-задержка одного элемента.
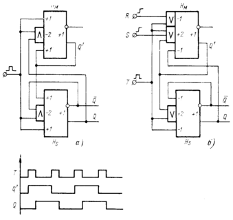
Рис. 2-5. T-триггеры типа MS на ФН
а рисунке 2-5 приведены схемы Т- и RST-триггеров, построенных на двух ФНР и ФНО соответственно. Обе схемы работают согласно временной диаграмме, приведённой на рисунке 2-5 внизу. Верхний нейрон Нм реагирует на положительный перепад счётного сигнала и называется ведущим (Master) элементом, а нижний нейрон Нs реагирует на отрицательный перепад счётного сигнала и называется ведомым (Slave) элементом. Ведомый нейрон Нs напоминает предыдущее состояние триггера на время, равное длительности запускающего сигнала. Это свойство схемы в некоторый момент времени содержать в себе информацию как о текущем, так и о предыдущем состоянии – очень важно. Как будет показано далее, оно широко используется при построении логических устройств на таких триггерах. Рассмотрим работу триггера рисунка 2-5а. Допустим, что триггер находится в состоянии 0, то есть Q’=Q=0, и на вход Т поступает сигнал (высокий потенциал). Этот сигнал возбуждает нейрон Нм через синапс с весом +1, а нейрон Нs остаётся в невозбуждённом состоянии, поскольку в нём до переключения Нм возбуждены два синапса с весами +1 и –2 и суммарная активность
, а после переключения Нм возбуждены все три синапса с весами +1 и –2 и суммарная активность
. Таким образом, пока на входе Т стоит высокий потенциал, Нм находится в возбуждённом состоянии, а Нs – в невозбуждённом. После снятия сигнала на входе Т (подан низкий потенциал) нейрон Нs также переходит в возбуждённое состояние благодаря синапсу, связанному с выходом Q’, а нейрон Нм не изменяет своего состояния. Следовательно, за один период входного сигнала триггер переключается полностью из состояния 0 в состояние 1. Обратное переключение из состояния 1 в состояние 0 происходит аналогичным образом.
Максимальное быстродействие триггера на рисунке 2-5 в счётном режиме равно:
. Для установки триггера в состояние 0 или 1 достаточно на соответствующий вход подать положительный импульс с длительностью
, то есть R- и S- входы триггера работают по асинхронному принципу.
Рис. 2-6. D-триггер типа MS с парафазным входом
На рисунке 2-6 показан ведущий-ведомый (Master-Slave) D-триггер (далее будем называть MSD-триггером) с пара фазным входом и временная диаграмма его работы. При поступлении синхроимпульса его положительный перепад записывает информацию D в ведущем нейроне Нм, при этом состояние ведомого нейрона остаётся прежним. Отрицательный перепад синхроимпульса, состояние ведущего нейрона записывает в ведомом нейроне Нs. Как видно, информация на выходе этого триггера появляется с задержкой, равной длительности синхроимпульса. Поэтому этот триггер иногда называют также задержанным D-триггером в отличие от простого D-триггера. Как известно, универсальным типом триггера является JK-триггер, который может работать как в режиме синхронного RS-триггера, так и в режиме Т-триггера и MSD-триггера. Рассмотренный на рисунке 2-4 Т-триггер можно превратить в JK-триггер, если на управляющие входы y1 и y2 подать сигналы J и K соответственно, а на вход Т подать синхроимпульсы. Если же на вход у1 подать сигнал D, а на вход y2 - сигнал
, то этот триггер превратится в MSD-триггер с парафазным входом.
На рисунке 2-7 приведена схема JK-триггера на ИЛИ – нейронах. Хотя в схеме используются прямое и инверсное значения тактирующего сигнала, но соревнование (гонка) сигналов полностью отсутствует. При J=K=1 тактирующий сигнал не влияет на триггер. Если J=K=0 или эти входы объединены с входом
, то триггер работает в счётном режиме, то есть превращается в Т-триггер. В остальных случаях тактирующий сигнал записывает входную информацию в триггер, причём снова верхний нейрон является ведущим, а нижний - ведомым.
Рис. 2-7. JK-триггер
типа MS на ФНО
Рассмотрим работу приведённого JK-триггера. В исходном состоянии отсутствует тактирующий сигнал, то есть C=0, аАналогичным образом устойчиво также единичное состояние триггера, когда Q=Q’=1, благодаря обратным связям с прямых выходов нейронов к своим же положительным входам.
При отсутствии тактирующего сигнала (С=0) изменение информации на входах J и K не влияет на триггер. Допустим триггер находится в состоянии 0 и J=1, K=0. Пока С=0, то есть
, сигнала J не действует на положительный вход Нм, связанный с элементом ИЛИ, остаётся возбуждённым, так как J=1, а тормозящий вход гасится, так как К=0. В результате Нм возбуждается, то есть Q’=1. Этот сигнал не может возбуждать Нs пока С=1. При снятии тактирующего сигнала высокий потенциал выхода Q’ поддерживает Нм в возбуждённом состоянии и одновременно возбуждает Нs, то есть получается Q=1.
Таким образом, положительный перепад тактирующего сигнала переключает Нм, а отрицательный перепад – Hs. В итоге после одного тактирующего импульса триггер переключается из состояния 0 в состояние 1.
Рис. 2-8. Вариант JK-триггера на ФНР
В этом состоянии, когда Q=1, J=1, K=0, при повторном поступлении тактирующего сигнала состояние Нм, следовательно, и состояние всего триггера не изменится, так как при С=1, При соединении входов J и K с входом
или при подаче на входы J и K постоянного низкого потенциала (J=K=0) триггер изменяет своё состояние на противоположное при каждом поступлении тактирующего сигнала С, то есть превратиться в Т-триггер.
Работу описанного JK-триггера можно выразить следующим образом:
, где Q(t) – состояние триггера в момент t.
Если на входы J и K триггера подавать инверсные значения сигналов, то триггер будет работать аналогичным образом. Для перехода в счётный режим необходимо на эти входы подавать сигнал 1 или объединить их со сходом С.
На рисунке 2-8 показан вариант JK-триггера, где используются однополярные тактирующие сигналы C и все выходы работают по позитивной логике.
Можно привести множество других вариантов триггеров, построенных на ПЭ и ФН различных типов.
ИСПОЛЬЗОВАННАЯ ЛИТЕРАТУРА
-
С.О.Мкртчян «Проектирование логических устройств ЭВМ на нейронных элементах», Москва, «Энергия», 1977, Стр.74-78
-
С.О.Мкртчян «Проектирование логических устройств ЭВМ на нейронных элементах», Москва, «Энергия», 1977, Стр.40-49
8
















