diplom (664173), страница 6
Текст из файла (страница 6)
Отказы исполнителя возникают, если команда вызывается при недопустимом для нее состоянии среды.
В информатике универсальным исполнителем алгоритмов является компьютер.
Свойства алгоритма
Основные свойства алгоритмов:
Понятность — исполнитель алгоритма должен понимать, как его выполнять. Иными словами, имея алгоритм и произвольный вариант исходных данных, исполнитель должен знать, как надо действовать для выполнения этого алгоритма.
Дискретность (прерывность, раздельность) — алгоритм должен представлять процесс решения задачи как последовательное выполнение простых (или ранее определенных) шагов (этапов).
Определенность — каждое правило алгоритма должно быть четким, однозначным и не оставлять места для произвола. Благодаря этому свойству выполнение алгоритма носит механический характер и не требует никаких дополнительных указаний или сведений о решаемой задаче.
Результативность (или конечность) состоит в том, что за конечное число шагов алгоритм либо должен приводить к решению задачи, либо после конечного числа шагов останавливаться из-за невозможности получить решение с выдачей соответствующего сообщения, либо неограниченно продолжаться в течение времени, отведенного для исполнения алгоритма, с выдачей промежуточных результатов.
Массовость означает, что алгоритм решения задачи разрабатывается в общем, виде, т.е. он должен быть применим для некоторого класса задач, различающихся лишь исходными данными. При этом исходные данные могут выбираться из некоторой области, которая называется областью применимости алгоритма. [Светозарова Г.И., Мельников А.А., Козловский А.В.]
Способы записи алгоритмов
На практике наиболее распространены следующие формы представления алгоритмов:
-
словесная (запись на естественном языке);
-
графическая (изображения из графических символов);
-
программная (тексты на языках программирования).
Словесный способ записи алгоритмов
Словесный способ записи алгоритмов представляет собой описание последовательных этапов обработки данных. Алгоритм задается в произвольном изложении на естественном языке.
Например. Записать алгоритм нахождения наибольшего общего делителя (НОД) двух натуральных чисел (алгоритм Эвклида). [диплом стр.21]
Алгоритм может быть следующим:
-
задать два числа;
-
если числа равны, то взять любое из них в качестве ответа и остановиться, в противном случае продолжить выполнение алгоритма;
-
определить большее из чисел;
-
заменить большее из чисел разностью большего и меньшего из чисел;
-
повторить алгоритм с шага 2.
Словесный способ не имеет широкого распространения, так как такие описания.
Графический способ записи алгоритмов
Графический способ представления алгоритмов является более компактным и наглядным по сравнению со словесным.
При графическом представлении алгоритм изображается в виде последовательности связанных между собой функциональных блоков, каждый из которых соответствует выполнению одного или нескольких действий.
Такое графическое представление называется схемой алгоритма или блок-схемой. В блок-схеме каждому типу действий (вводу исходных данных, вычислению значений выражений, проверке условий, управлению повторением действий, окончанию обработки и т.п.) соответствует геометрическая фигура, представленная в виде блока. Блоки соединяются линиями переходов, определяющими очередность выполнения действий. В таблице приведены наиболее часто употребляемые символы.
| Обозначение и пример заполнения | Пояснение |
| Вычислительное действие или последовательность действий | |
| Проверка условий | |
| Начало цикла | |
| Вычисления по подпрограмме, стандартной подпрограмме | |
| Ввод-вывод в общем виде | |
| Начало, конец алгоритма, вход и выход в подпрограмму | |
| Вывод результатов на печать |
Базовые алгоритмические структуры
Алгоритмы можно представлять как некоторые структуры, состоящие из отдельных базовых (т.е. основных) элементов. Естественно, что при таком подходе к алгоритмам изучение основных принципов их конструирования должно начинаться с изучения этих базовых элементов.
Логическая структура любого алгоритма может быть представлена комбинацией трех базовых структур: следование, цикл, ветвление.
Х
арактерной особенностью базовых структур является наличие в них одного входа и одного выхода.
1
. Базовая структура "следование". Образуется последовательностью действий, следующих одно за другим, представлена на рис1.
Применение этой структуры рассмотрим на примере 1.
Пример 1. Найти корень линейного уравнения вида ах+b=0.
Д
ля решения примера 1 составим блок-схему алгоритма (рис. 2.). Следуя последовательности блоков в алгоритме можно составить программу на языке Лого, которая может быть представлена, так как на рис. 3.
Для запуска программы в командном поле введем имя программы – УРАВНЕНИЕ и нажмем клавишу .
В появившемся диалоговом окне введем значение для коэффициента А=2, во втором – В=5. В третьем диалоговом окне появится значение рассчитанного параметра Х=-2,5.
Пример 2. Тело движется прямолинейно с ускорением а м/с2 и начальной скоростью м/с. Требуется определить, какой путь пройдет тело за Т секунд. [Гейн А.Г., Житомирский В.Г., стр.15].
Описание и использование функций
В число Лого входят стандартные функции: SQRT - квадратный корень, SIN - синус, COS - косинус градусного аргумента, POWER - квадрат.
Д
ля вычисления тангенса применяется соответствующая процедура.
Для нахождения модуля числа решим уравнение вида:
.
И
спользование функций может сделать программу короче и яснее. Кроме того, отпадает необходимость заводить вспомогательные переменные для хранения промежуточных результатов.
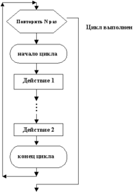
2. Базовая структура "цикл"
Обеспечивает многократное выполнение некоторой совокупности действий, которая называется телом цикла. Предписывает выполнять тело цикла до тех пор, пока выполняется условие, записанное после слова пока.
В
языке Лого существует только один вид цикла, применяемый для повторения определенных действий. Базовую структуру «цикл» и команду REPEAT можно применять не только для перемещения Черепашки и рисования, но также и решения вычислительных задач, подразумевающих получения результата. Рассмотрим применение структуры Цикл на примере 3 (рис.8). П
ример 3. Получить цифру 5 с помощью операции сложения и цифры 1.
Можно заметить, что команды (пусть "a :a + 1, сообщи :a), повторяются 5 раз, следовательно применив структуру «Цикл» получим блок-схему применимо к рассматриваемому примеру 3 (рис.8). При вводе А=1, производится операция сложения А+1 и повторяется 5 раз, что в результате получаем А=5.
Принцип действия: прочитав, в наборе команд REPEAT Черепашка ищет указание числа повторений – указатель начала цикла «[». Запомнив его место, Черепашка будет выполнять команды, пока не встретит указатель конца цикла - «]». После этого Черепашка возвращается к началу цикла и проверяет, выполнила ли она цикл заданное число раз. Если нет, то она продолжает выполнять цикл, в противном случае (если она уже выполнила задуманное число раз) Черепашка начинает выполнять команды расположенные в квадратных скобках. Таким образом, тело цикла выполняется задуманное число раз.
Цикл с изменяющейся переменной для печатания числовых рядов могут быть построены по одной единой схеме. Сначала команды присваивания ПУСТЬ (MAKE) заводится новая переменная и ей присваивается начальное значение. Затем начинаются, повторения – многократно выполняется один и тот же набор действий. В этом наборе обязательно есть действие изменения значения переменной.
В такой программе команда присваивания ПУСТЬ (МАКЕ) встречается дважды. Первый раз при начальной установке переменной (а=0), второй раз – в цикле, при изменении значения переменной (а=а+1).
Первая команда присваивания выполняется один раз, вторая – многократно. При изменении переменной в цикле используется ее же предыдущее значение. Поэтому в команде ПУСТЬ "а :а + 1 (MAKE "а :а + 1) переменная упоминается дважды (присвоить переменной с именем “a” то значение, которое сейчас имеет переменная – “a”, увеличенное на единицу). Сначала упоминается имя, а затем – значение.
П
ример 4. Вычислить уравнение: y=a+b четыре раза и получить результат.
Команда (пусть "y :a + b, сообщи :y), повторяются 4 раза, следовательно применив структуру «Цикл» получим блок-схему применимо к рассматриваемому примеру 4 (рис.9). При вводе А=12, а B=24 производится операция сложения А+B и повторяется 4 раза, что в результате получаем y=36.
Пример 5. Вычислить 5 раз значения X=i3, Y=X/2 и вывести значения на экран.
Сначала команды присваивания ПУСТЬ заводится новая переменная I и ей присваивается начальное значение. Затем начинаются, повторения – многократно выполняется один и тот же набор действий. В этом наборе обязательно есть действие изменения значения переменной. Команда (пусть "y :x / 2, сообщи :y, пусть “x :I * :I * :I ,сообщи :x ), повторяются 5 раз, следовательно применив структуру «Цикл» получим блок-схему применимо к рассматриваемому примеру 5 (рис.10). При выводе значений :y и :x производится операция возведения :x в степень, а :y=x/2 , что в результате получаем y=32, x=64.
Пустой цикл
Это такой цикл, когда тело цикла отсутствует, т.е. после слова REPEAT в квадратных скобках ничего не стоит.
Например: REPEAT 1000 [ ]
Если ввести эту команду в ЭВМ, то Черепашка какое-то время не будет реагировать на команды, а будет 1000 раз выполнять НИЧЕГО. Иногда это полезно, потому что обеспечивает паузу между выполнением команд.
Это можно рассмотреть на примере 6.
Пример 6. Вывести две фразы “СЕГОДНЯ ПРЕКРАСНАЯ ПОГОДА” с паузой, затем фразу “ВСЕМ ПРИВЕТ”.















