44935 (664029)
Текст из файла
Министерство образования Российской федерации
Алтайский государственный технический университет им. И.И. Ползунова
Кафедра информационных технологий
МИКРОПРОЦЕССОР Z80
Описание и принцип действия телефонного сервера на Z80
| Выполнил: | Колесников Андрей Викторович |
| Группа: | 9ИИТ-61 |
| проверил: | |
2001
содержание
введение 3
AOH HA Z80 4
1. СТРУКТУРНАЯ СХЕМА АОН 4
Цифровая часть: 4
Аналоговая часть: 4
2. РАБОТА УЗЛОВ ПО ПРИНЦИПИАЛЬНОЙ СХЕМЕ 6
Микропроцессор Z80A 6
Постоянная память 9
Временная память 10
Таймер 11
Порт ввода-вывода 12
Узел сброса 13
Задающий генератор 14
Узел выборки ОЗУ 14
Узел индикации и опроса клавиатуры 16
Узел определения положения трубки 17
Узел охранного устройства 17
Узел управления магнитофоном 17
Компаратор 18
Схема анализа вызова из линии 18
Ключ подключения к линии 18
Узел выдачи сигналов в телефонную линию 19
Узел формирования звука 19
Выпрямитель 20
Разговорная схема 20
заключение 22
литература 23
приложение 24
введение
Первые упоминания о системах, производящих автоматическое определение номера звонящего абонента, в "полулегальной" радиолюбительской литературе появились в 1990 году. К этому времени в крупных городах закончилось оснащение районных АТС аппаратурой АОН. Эта аппаратура предназначается для работы с автоматической междугородной телефонной станцией (АМТС). Она выдает по запросу последней номер абонента, осуществившего запрос услуг АМТС. Это необходимо для автоматического учета услуг, оказываемых АМТС, а также автоматического выписывания счета абоненту, который при этом избавляется от трудоемкого набора собственного номера при работе с АМТС. Поскольку работа данной аппаратуры осуществляется непосредственно по физическим соединительным линиям в общепринятых и известных кодах, то негласно доступ к ней получили и широкие круги радиолюбителей. Это, а также ослабление многолетних запретов, существовавших в этой области, обусловило всплеск активности радиолюбителей, который не спадает уже на протяжении большого периода времени.
Коротко расскажем об истории АОН. Отметим, что разработки подобных систем могут вестись по двум направлениям:
— с использованием аналоговых фильтров;
— с использованием цифровых методов обработки.
Первые конструкции использовали ряд узкополосных фильтров и их "обвязку" на дискретных элементах. Они являлись упрощенными копиями профессиональных систем. Данные системы при правильном исполнении и тщательной регулировке обеспечивали высокую вероятность определения номера, достигающую 100 %. Однако использование в первых конструкциях неперспективной элементной базы не позволило реализовать сколько-нибудь приемлемый уровень сервиса. Поэтому данные системы не получили широкого распространения. В последнее время, однако, возрождается интерес к данному направлению ввиду его главного достоинства — высокой вероятности определения номера. Дальнейшее развитие этого направления связано с трансформацией элементов схемы в единую БИС.
Первым представителем второго направления, получившим широкое распространение, явился АОН на ИС КР580ВМ80А. Недостатки АОН большое потребление энергии, использование 3-х источников питания, низкое быстродействие МП, низкая вероятность определения трудности с формированием сигналов фиксированных частот, сложность в настройке, стирание информации при пропадании напряжения в электросети определялись типом используемого процессора.
На данной конструкции были опробованы основные принципы телефонного сервера, и затем она была вытеснена следующей конструкцией АОН на Z-80A.
Конструкция АОН на Z-80A оказалась настолько удачной, что выпускается целым рядом государственных, частных и "нелегальных" фирм в практически неизменном виде с 1992 года. По статистике более 50 % индивидуальных АОН выполнены по этой схеме.
За это время появилось большое количество доработок и усовершенствований, носящих не принципиальный характер - как удачных, так и неудачных.
A
OH HA Z80
1. СТРУКТУРНАЯ СХЕМА АОН
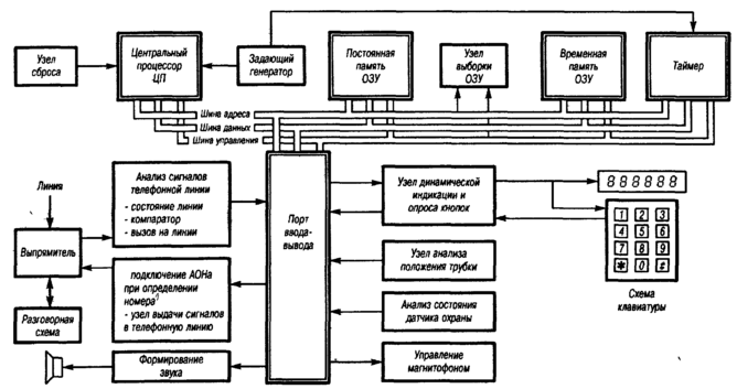
На рисунке приведена структурная схема АОНа. Он состоит из цифровой и аналоговой частей.
Цифровая часть:
1. ЦП - центральный процессор
2. ПЗУ - постоянная память
3. ОЗУ - временная память
4. Таймер - счетчик времени
5. Порт В.-В. - порт ввода-вывода
Аналоговая часть:
6. Узел сброса
7. Задающий генератор
8. Узел выборки ОЗУ
9. Узел индикации и опроса кнопок
10. Узел определения положения трубки
11. Узел охранного устройства
12 Схема управления магнитофоном
13. Схема анализа состояния линии
14. Компаратор
15. Схема анализа вызова из линии при определении номера
16. Узел подключения к линии (ключа)
17 Узел выдачи сигналов в телефонную линию
18. Узел формирования звука
19. Выпрямитель
20. Разговорная схема
Рассмотрим назначение вышеупомянутых блоков и узлов.
ЦП (Центральный процессор)
Основа функционирования всего телефона Он формирует необходимые адреса, данные, устанавливая необходимые сигналы управления. Это настоящий диспетчер в этом «муравейнике». Он организовывает передачу данных между всеми микросхемами, подключенными к микропроцессорным магистралям адреса, данных, управления
ПЗУ (Постоянная память)
Содержит программы управления работой ЦП (соответствующую версию) Реализована на микросхеме, информация в которую заносится заранее В процессе эксплуатации информацию можно многократно стирать ультрафиолетовым излучателем и запрограммировать новую, т о ЦП будет выполнять новую последовательность команд
ОЗУ (Временная память)
Служит для хранения показаний часов, будильников, календаря. В ней размещена память телефонов и номера Вашей электронной записной книжки. Она участвует в процессе определения номера, так как содержит результаты анализа двухчастотных посылок.
Таймер
Управляется ЦП и служит для формирования звуковых сигналов и временных интервалов:
— формирование музыкальной заставки при включении питания;
— озвучивание клавиш при их нажатии;
— формирование вызывного сигнала;
— сигнал будильника;
— организация отображения информации;
— другие функции.
Порт В.-В. (Порт ввода-вывода)
Содержит 24 триггера, которые доступны для анализа ЦП. Причем 8 из 24 ориентированы им на прием информации из различных узлов телефона, а остальные 16 триггеров настроены ЦП на вывод информации, управляя аналоговой частью телефона.
Узел сброса
Служит для приведения ЦП в исходное состояние и восстановление работы устройства при начальном включении телефона, при пропадании питания в сети, а также для предотвращения от «зависания».
Узел задающего генератора
Обеспечивает тактовыми сигналами ЦП (4MHz) и работу таймера (1 MHz).
Узел выборки ОЗУ
В соответствии с логикой работы обеспечивает доступ к ОЗУ, а также сохранность информации в ней при пропадании напряжения питания.
Узел индикации и опроса кнопок
Поразрядно отображает информацию на короткие промежутки времени и определяет код нажатой клавиши. При большой скорости смены отображения очередного разряда создается картина, будто все разряды засвечены одновременно. С помощью этого метода достигается уменьшение количества элементов для отображения и понижения энергопотребления.
Узел определения положения трубки
При поднятии и опускании телефонной трубки срабатывает датчик положения телефонной трубки и ЦП становится известно об этом факте. Далее ЦП, в соответствии с программой, решает: подключить телефон и его разговорную схему к линии или выполнить другое действие.
Узел охранного устройства
Во многих последних версиях АОНа реализована возможность работы с датчиком охраны. При замыкании/размыкании (в разных версиях программы по-разному) датчика охранной сигнализации этот узел формирует для ЦП сигнал, который в соответствии с заложенным алгоритмом осуществляет подачу тревожных сигналов.
Узел управления магнитофоном
Позволяет в одном из режимов работы управлять включением магнитофона для записи сообщения из телефонной линии.
Узел анализа состояния линии
Выдает ЦП сигналы о подключении к телефонной сети и о снятии трубки на параллельном телефоне. Сигналы этого узла используются также для организации режима автодозвона.
Компаратор
Высокочувствительный элемент, преобразующий аналоговые сигналы телефонной линии в последовательность импульсов различной длительности, которые в дальнейшем обрабатываются ЦП.
Узел вызова из линии
По сигналам индукторного вызова от АТС формирует сигнал «вызов» для сообщения через порт ввода-вывода ЦП.
Узел подключения к телефонной линии при определении номера
Коммутирует необходимую нагрузку для обеспечения необходимого уровня сигнала во время приема кодированной последовательности двухчастотных посылок от АТС с номером звонящего
абонента.
Узел выдачи сигналов в телефонную линию
Передает в линию формируемые в АОНе сигналы: гудки, запрос на работу системы АОН, импульсы набора номера, голосовое сообщение.
Узел формирования звука
Объединяет сигналы от различных источников в общий сигнал, усиливая до необходимой мощности для подачи на встроенный громкоговоритель.
Выпрямитель
Позволяет подключаться к телефонной линии, независимо от полярности сигналов.
Разговорная схема
Обеспечивает абоненту возможность подключения к телефонной линии для ведения беседы.
2. РАБОТА УЗЛОВ ПО ПРИНЦИПИАЛЬНОЙ СХЕМЕ
Микропроцессор Z80A
Данная БИС выполнена по n-канальной МОП-технологии с кремниевыми затворами и работает от одного источника питания +5V. Все входы и выходы TTL-совместимы. ЦП Z80A позволяет работать с памятью общим объемом до 64К. Память имеет байтовую структуру. Возможна прямая адресация в памяти любого байта. При обращении к памяти используется шестнадцатиразрядный адрес. Набор команд Z80A является расширенным набором команд 18080, поэтому Z80A может выполнять программы, написанные для 18080.
| Тип | Fт | Iпот |
| Z80 | 2,5 MHz | — |
| Z80A | 4MHz | — |
| Z80B | 6MHz | — |
| Z80H | 8 MHz | — |
| Z80L | — | — |
| Z8300-1 | 1 MHz | 15mA |
| Z8300-3 | 2,5 MHz | 25mA |
| KR1858BM1 | аналог Z80A | |
Микросхема Z80A выпускается в стандартном 40-выводном корпусе типа DIP.
Назначение выводов:
АО-А15 Adress Bus — Адресная шина
Выход с тремя состояниями. Активный уровень - высокий. АО-А15 образуют 16-разрядную адресную шину, которая выдает адреса для обмена с памятью (64К максимум) и с устройствами ввода-вывода (65536 каналов максимум). АО является самым младшим адресным битом.
D0-D7 Data Bas - Шина данных
Трехстабильный вход-выход. Активный уровень - высокий; DO-D7 образует 8-разрядную двунаправленную шину данных, по которой осуществляется обмен между ЦП и памятью, либо между ЦП и устройствами ввода-вывода. Для увеличения нагрузочной способности шина данных выполнена по схеме с открытым коллектором. Поэтому необходимо каждый из 8 выходов шины данных подключить через резистор 2,2-6,8 Ком к потенциалу Ucc =+5V.
Характеристики
Тип файла документ
Документы такого типа открываются такими программами, как Microsoft Office Word на компьютерах Windows, Apple Pages на компьютерах Mac, Open Office - бесплатная альтернатива на различных платформах, в том числе Linux. Наиболее простым и современным решением будут Google документы, так как открываются онлайн без скачивания прямо в браузере на любой платформе. Существуют российские качественные аналоги, например от Яндекса.
Будьте внимательны на мобильных устройствах, так как там используются упрощённый функционал даже в официальном приложении от Microsoft, поэтому для просмотра скачивайте PDF-версию. А если нужно редактировать файл, то используйте оригинальный файл.
Файлы такого типа обычно разбиты на страницы, а текст может быть форматированным (жирный, курсив, выбор шрифта, таблицы и т.п.), а также в него можно добавлять изображения. Формат идеально подходит для рефератов, докладов и РПЗ курсовых проектов, которые необходимо распечатать. Кстати перед печатью также сохраняйте файл в PDF, так как принтер может начудить со шрифтами.















