44541 (663374), страница 25
Текст из файла (страница 25)
Более 70% российского рынка пейджинговой связи сосредоточено в крупнейших российских центрах. Наибольшее развитие этот рынок получил в Москве, где пользователями пейджеров является 1,1% населения, и в Санкт-Петербурге (0,6% городского населения). В целом по России пейджинговой связью охвачено до 100 городов, главным образом областные и промышленные центры. Если первая волна распространения пейджинговой связи в России захватила Москву и Санкт-Петербург, то следующая захватит крупные промышленно-развитые российские регионы: Урал, Поволжье, Западную Сибирь, юг Восточной Сибири, Алтай, Дальний восток. По прогнозам, наиболее интенсивно пейджинговая связь в ближайшие четыре, пять лет будет развиваться в таких городах, как Екатеринбург, Нижний Новгород, Новосибирск, Омск, Самара, Уфа, Челябинск, Пермь, Казань, Волгоград, Ростов - на - Дону. Сейчас около 30-35% российских операторов объединено в единые межрегиональные пейджинговые сети. Клиенты могут пользоваться услугами пейджинговой связи в любом городе, охваченном сетью роуминга. В ближайшие два-три года ожидается сетевой бум и число городов, охваченных сетями пейджинговой связи, будет расти.
Лидирующее положение среди производителей на рынке пейджеров занимает компания Motorola (68%), NEC (20%), Philips (9%), Oi Electric (2%). Среди моделей бестселлером по-прежнему остается Motorola Advisor, далее по популярности следуют NEC 21A, Philips 2310, Scriptor LX2, NEC 26B и Oi Electric. Проведенные маркетинговые исследования показали, что почти 80% пейджеров у российских абонентов - четырех строчные, двух строчные пейджеры занимают 10% рынка, чуть меньше (8%) занимают модели с большим дисплеем.
Постепенно меняется отношение к пейдженгу. Еще некоторое время назад пейджер воспринимался исключительно как атрибут "новых русских" и "младший брат" сотового телефона. Сейчас среди потенциальных пользователей пейджинга происходит постепенная трансформация отношения к этому виду связи. Фактически пейджер на поясе все чаще воспринимается не как символ престижа, а как удобное и доступное средство мобильной связи.
-
"Будущее пейджинговой связи"
Во всем мире пейджинг остается наиболее быстро развивающейся отраслью телекоммуникаций. Наглядно это демонстрирует ситуация, сложившаяся в Америке и странах Юго-Восточной Азии: количество абонентов пейджинговых сетей увеличиваются там каждый год более чем на треть. В том же Китае к концу тысячелетия прогнозируется увеличение количества владельцев пейджеров до 100 миллионов человек.
В Западной Европе ситуация развивается не столь стремительно, однако даже по самым пессимистическим оценкам, к 2000 году число владельцев пейджеров в европейских странах превысит 20 миллионов.
Уже сейчас очевидно, что пейджер постепенно становится не только оперативным средством личной коммуникации, но и средством массовой информации, персональным информаторов. Речь идет не только об информационных каналах. Находит все более широкое применение другой вариант этой услуги - получение информации по запросу. К примеру, абоненту пейджинговой компании необходимо срочно узнать время вылетов всех самолетов в определенный город. В таком случае, он может просто позвонить оператору, и через минуту на дисплее появится нужная информация, которую к тому же можно будет при желании сохранить в памяти аппарата. О том, что в ближайшее время пейджинговая связь будет развиваться именно в этом направлении, говорит и тот факт, что в Америке и некоторых странах Европы уже существуют компании, предоставляющие своим абонентам подобные услуги. Данная услуга нашла спрос и на Российском рынке операторов связи. При этом спрос на такой сервис постоянно растет. По прогнозам аналитиков, именно эта сфера услуг в ближайшие годы станет основной для российских пейджинговых компаний.
Отдельного внимания заслуживает тема организации федеральных сетей - предлагается считать, что только те интегрированные сети могут претендовать на статус федеральной F-сети, если они действуют на территории не менее чем 50% субъектов Российской Федерации.
С каждым днем все большее количество компаний объединяется в сети, которые в свою очередь присоединяются к более крупным с целью создания сети покрывающей всю территорию России.
В данный момент к этому близится "Единая Пейджинговая Система России", где отдельным операторам региональных сетей удалось согласовать использование одного номинала частоты на всей территории России и некоторых странах СНГ (Грузия, Казахстан), на сегодняшний день более 80 городов, что позволило им перейти к организации сетей, охватывающих многие регионы России.
Создание таких сетей позволит перейти на протокол федерального уровня FLEX.
"Выводы"
За период с 1980 года по 1993 год возникли и стали бурно развиваться другие виды персональной связи, реализующие в отличие от пейджеров двунаправленную передачу сообщений. Например, сотовая связь. Многие, быть может, удивятся, почему двунаправленные системы связи, обладающие богатыми функциональными возможностями, не вытеснили пейджинг с рынка. Однако популярность пейджинга не только не уменьшается, но даже растет. В чем же кроются причины успеха пейджинговой связи? Во-первых, пейджеры очень компактны и мало весят. Во-вторых, стоимость услуг пейджинга невысока. В-третьих, частотные ресурсы очень эффективно используются данными системами. Это означает, что один радиоканал с полосой, скажем 25 Кгц, может обслуживать большое число абонентов. И, наконец, пейджеры - очень комфортное средство персональной связи: вы можете получать сообщения во время деловой встречи или, находясь за рулем автомобиля, и они не оторвут вас от выполнения текущих дел. У вас всегда будет время обдумать полученный вызов или сообщение и только затем реагировать на него.
Складывающаяся в европейских странах ситуация показывает, что даже при значительном удешевлении услуг сотовой связи, мобильный телефон не вытесняет пейджер. Более того, проведенные опросы (в том числе и среди российских пользователей), показывают, что 72% респондентов воспринимают рынки сотовой и пейджинговой связи не как конкурентные, а как взаимодополняющие.
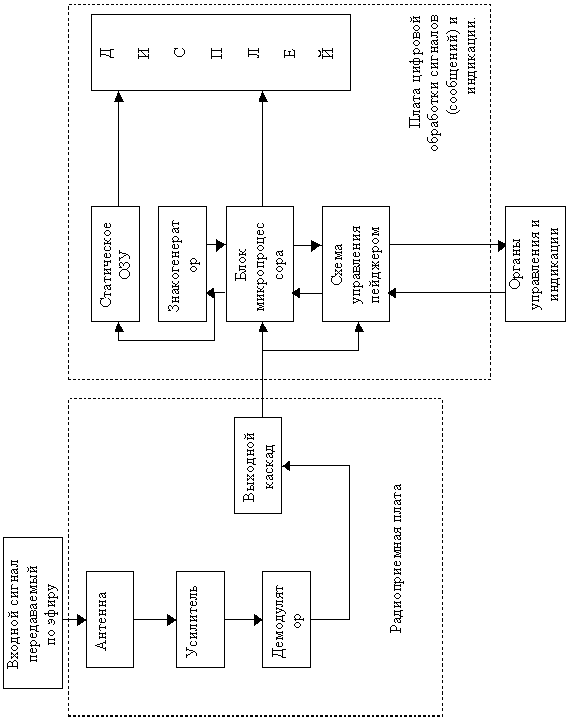
Рис. 8.5.75. Блок-схема приемника персонального радиовызова (пейджера).
Приложение
ИНСТРУКЦИЯ ПО ЭКСПЛУАТАЦИИ АЛФАВИТНО-ЦИФРОВОГО ПЕЙДЖЕРА "BUMERANG"
-
Дисплей – 2 стоки по16 символов.
-
Приветствие до 32 символов.
-
Количество личных сообщений - 65.
-
Максимальная длина личного сообщения -550 знаков
-
Количество информационных каналов -12.
-
Информационные каналы могут вмещать до 100 сообщений.
-
15 уровней регулировки контрастности.
-
Календарь.
-
Часы.
-
Будильник
-
Удаление личных сообщений избирательно и полностью.
-
Защита личных сообщений от удаления (до 35 сообщений).
-
Индикатор повторного сообщения и индикатор помех при приеме.
-
Индикатор времени поступления сообщения.
-
Оповещение о непрочитанном сообщении
-
Индикатор отсутствия сообщений.
-
Два типа сигнала оповещения: звук и вибрация.
-
Индикатор о нахождении вне зоны обслуживания.
-
Подсветка дисплея.
-
Оповещение о разрядке батарейки.
-
10 мелодий.
-
Ручное включение/выключение питания.
-
Функция быстрого чтения сообщений.
-
Звуковое напоминание о не прочтенных сообщениях.
-
При смене батарейки данные не теряются.
-
Индикатор автоматического включения/выключения питания.
-
Индикатор переполнения памяти и защиты сообщения.
-
Срок работы батарейки – 800 часов без отключения.
-
Размер – 75х51х18 мм.
-
Вес – 65 г. с батарейкой.
-
Телекоммуникационные средства связи
-
Локальные и глобальные вычислительные сети
-
Понятие: локальные и глобальные ВС
-
-
Локальная сеть (Local Area Network, LAN) представляет собой соединение нескольких РС с помощью соответствующего аппаратного и программного обеспечения. Слово “локальная” в этом названии означает, что все соединённые РС находятся, как правило, в одном здании или в соседних зданиях. Кроме LAN, существуют и другие сети:
MAN (Metropolitan Area Network). В этой сети основой является соединение систем в пределах города. В качестве области её применения можно представить компьютеризированную главную управляющую систему или управление информацией о жителях большого города.
WAN (Wide Area Network). В данном случае речь идёт о сети, которая может соединять несколько стран.
GAN обозначает сеть, которая соединяет континенты, и происходит от английского термина Global Area Network.
Естественно, РС может работать в любой из этих сетей. Однако типичной областью его применения является именно локальная сеть. Благодаря открытой архитектуре сети компьютер имеет возможности для подключения в сеть.
Преимущество, предоставляемое при использовании локальной сети:
-
Распределение данных. Данные в сети хранятся на центральном РС и могут быть доступны для любого РС, подключенного к сети. Таким образом, не надо на каждом рабочем месте иметь накопители для хранения одной и той же информации.
-
Распределение ресурсов. Периферийные (часто всего дорогие) устройства могут быть доступны для всех пользователей сети, например, факс или лазерный принтер;
-
Распределение программ. Все пользователи сети могут иметь доступ к программе, которые были один раз централизованно установлены. При этом должна работать сетевая версия соответствующих программ.
-
Электронная почта. Все пользователи сети могут предавать или принимать сообщения.
На предприятии, имеющею сет, включающей несколько сотен рабочих мест, должен быть специалист, который отвечает функционирование всей сети. Такого специалиста называют сетевым администратором или супервизором.
Для защиты информации в первую очередь необходимы устройства на случай выхода из строя промышленной электрической сети. Для этой цели используют аппаратные средства, например устройство непрерывного питания компьютера (UPS).
В качестве другой меры необходимо иметь в распоряжении дополнительный компьютер, который может заменить вышедший из строя сервер или рабочую станцию.
Так как в сети циркулирует большое количество данных, то необходимо тщательно и планомерно заботиться о защите информации. Например, могут быть установлены дополнительные винчестеры (зеркальные), на которых дублируется информация, или накопители большой емкости (стримеры), с помощью которых обеспечивается планомерное копирование (архивирование) данных.
Кроме того, в сети каждый пользователь может иметь доступ ко всей информации, то есть прочитать и изменить любые данные. Обычно это нежелательно, и не только из соображения безопасности.
Соответствующие действия пользователей сети регулируются определенными правилами доступа, которые устанавливают, какому пользователю разрешено читать или записывать определенные данные. Для разграничения доступа, распределения ресурсов сети и обеспечения сохранности данных необходимо сетевое администрирование.
Способ соединения компьютеров в сети называется топологией. Поэтому прежде чем говорить об отдельных компонентах, необходимо рассмотреть важнейшие топологии сетей.
Прежде всего, следует запомнить, что файловый сервер (или просто сервер) - это центральный компьютер всей локальной чети, с которым тем или иным способом связаны рабочие станции - клиенты.
РС - РС (псевдосеть)
Рис. 9.1.76. Связанные между собой РС
Речь идет не о сети (псевдосеть), а лишь о связи между двумя РС (Рис. 9.1 .76.). однако и в этом случае имеется возможность обмена данными.
Обмен информацией осуществляется через разъемы последовательного интерфейса обоих компьютеров с помощью специального кабеля нуль - модема. В этом случае для осуществления передачи данных необходимо лишь соответствующее терминальное программное обеспечение.
















