30420-1 (663154), страница 3
Текст из файла (страница 3)
2.Регистр SPH во всех моделях, кроме 40, используется как
регистр общего назначения GPR (отмечено знаком "*").
При программировании МК следует учитывать способ доступа к регистрам. Чтение регистров, предназначенных только для записи, будет давать результат FFH. Поэтому использование этих регистров в командах, где они считываются (например, в логических командах OR и AND), будет давать неправильный результат. Когда линии портов 0 и 1 определены как выходы адреса, они приобретают статус регистров только для записи. И, наконец, регистр WDTMR должен быть записан в течение первых 64 тактов синхронизации после сброса.
РОНы, с точки зрения системы команд, могут рассматриваться не только как отдельные восьмибитные регистры, но и как шестнадцатибитные пары регистров. При этом должно соблюдаться четное выравнивание, т.е. адрес регистровой пары должен быть четный. При этом старший байт регистровой пары размещается по четному адресу, а младший -по нечетному. В рабочей регистровой группе регистровых пар будет 8, и им соответствуют только четные номера: 0,2,...,14.
Доступ к отдельным битам регистров осуществляется логическими командами с масками.
Функция защиты ОЗУ заключается в том, что старшая часть адресного пространства от 80H до EFH (исключая управляющую группу регистров) может быть защищена от чтения и записи. Бит защиты ОЗУ программируется одновременно с ПЗУ (масочно или электрически). Если этот бит запрограммирован, то функция защиты управляется программно битом D6 регистра IMR. Логическая 1 включает функцию защиты, логический 0 -отключает. Эту функцию имеют только модели МК 30 и 40.
1.2.2.2. Адресное пространство памяти
Адресное пространство памяти состоит из адресного пространства памяти программ и адресного пространства памяти данных. Память программ состоит из внутреннего ПЗУ и внешней памяти. Память данных также является внешней. Структура адресного пространства памяти МК показана на рис.1.3. Доступность фрагментов адресного пространства для различных моделей МК показана на рисунке столбиковой диаграммой.
Рис. 1.3 Структура памяти
Внутреннее ПЗУ имеют все рассматриваемые модели МК. Модели с литерами C и L имеют масочное ПЗУ, а модели с литерой E -однократно -программируемое (One Time Programmable -OTP) ПЗУ. Размер внутреннего ПЗУ составляет для разных моделей МК от 512 байт до 4 Кбайт. Первые 12 байт зарезервированы для векторов прерываний (см. рис.1.3). Эти ячейки содержат 6 шестнадцатибитных векторов прерываний, которые соответствуют 6 возможным запросам прерывания: IRQ0 -IRQ5 (Interrupt Request). Начиная с ячейки 12 (0CH) размещается программа.
Модель 40 имеет возможность подключения внешней памяти программ объемом до 60 Кбайт. Такое подключение возможно с использованием мультиплексных линий адреса/данных (AD7 -AD0) порта 1 и адресных линий (A15 -A8) порта 0. Максимальный адрес внешней памяти программ -65535 (FFFFH). Этот интерфейс внешней памяти поддерживается управляющими линиями /AS, /DS и R//W. Доступ к памяти программ (в том числе и к внешней) осуществляется с помощью программного счетчика для считывания команд, а также командами загрузки констант LDC и LDCI.
Модель 40 также имеет возможность дополнительно адресовать до 60 Кбайт внешней памяти данных с адресами от 4096 (1000H) до 65535 (FFFFH) путем программирования выхода порта 3 P34 на выдачу сигнала /DM (Data Memory), позволяющего аппаратно разделить адресные пространства внешней памяти программ и внешней памяти данных. Обращение к внешней памяти данных осуществляется специальными командами загрузки LDE и LDEI, при исполнении которых сигнал /DM будет иметь активный низкий уровень.
В МК предусмотрен специальный бит защиты ПЗУ (ROM Protect), который программируется одновременно с внутренней памятью программ. Сущность защиты ПЗУ заключается в предотвращении "дампинга" содержимого ПЗУ. Эта функция в более ранних версиях МК реализована путем запрета команд LDC, LDCI, LDE и LDEI. При таком подходе защищенная программа не могла использовать эти команды, что не разрешало программисту реализовывать эффективные алгоритмы с просмотром таблиц. В последних версиях МК использование функции защиты ПЗУ никаких ограничений на программирование не накладывает.
1.2.2.3. Стек
Стек МК Z8 может располагаться во внутреннем ОЗУ или во внешней памяти данных. Размещение стека программируется путем записи бита D2 в регистр режима портов 0 и 1 -P01M. Запись 0 в этот бит задает внешний стек, 1 -внутренний. Такой выбор возможен только для модели 40, имеющей интерфейс внешней памяти, для остальных моделей бит D2 должен быть установлен в 1.
Расположение верхушки стека задается шестнадцатибитным указателем стека, размещенным в регистрах SPH и SPL стандартного регистрового файла. Для всех моделей, кроме модели 40, достаточно восьмибитного указателя стека (т.к. объем внутреннего ОЗУ не превышает 256 байт), и он размещается в регистре SPL. Регистр SPH с адресом FEH используется при этом как регистр общего назначения GPR. Указатель стека декрементируется перед операцией загрузки и инкрементируется после операции извлечения. Его содержимое -это всегда адрес верхушки стека.
Стек МК Z8 -это стек возврата из подпрограмм и прерываний, а также стек данных. При работе МК возможно переполнение стека вниз и вверх. Ответственность за недопустимость переполнения лежит на разработчике программы, иначе результат будет непредсказуем.
1.2.3. Синхронизация
Обобщенная структурная схема синхронизации МК показана на рис 1.4.
Рис. 1.4 Структурная схема синхронизации
Схема состоит из задающего генератора, рассчитанного на подключение внешней времязадающей цепи или внешнего источника синхронизации, делителя частоты на 2 и делителя частоты на 16 (последний в моделях 02, 03, 04, 08 отсутствует). К входным контактам XTAL1 и XTAL2 (eXternal crysTAL) подключается времязадающая цепь, заставляющая генератор формировать синхроимпульсы с частотой XTAL. С выхода синхронизирующей схемы снимаются импульсы внутренней системной синхронизации SCLK (System CLocK) и синхронизации таймеров TCLK (Timer CLocK). Назначение делителя на 2 -формирование сигнала, а делитель на 16 предназначен для уменьшения рабочей частоты синхронизации и, соответственно, потребляемого тока, особенно в резервных режимах HALT и STOP.
Управление частотой в разных моделях МК осуществляется двумя способами. В моделях 02, 04, 08 управление сводится только к переводу схемы в малошумящий режим путем программирования (масочно или электрически) бита малошумящего режима Noise"(см. верхнюю часть рис.1.4.). При этом задающий генератор переводится в малошумящий режим и отключается делитель на 2. Максимальная частота работы генератора в этом режиме ограничивается 4 МГц и несколько снижается нагрузочная способность.
В моделях 03, 06, 30, 31 и 40 управление схемой синхронизации осуществляется путем записи управляющей информации в регистры PCON и SMR в процессе выполнения прикладной программы МК (см. нижнюю часть рис 1.4). Бит D7 регистра PCON управляет режимом задающего генератора, а биты D1 и D0 регистра SMR -делителями на 2 и на 16 соответственно. Логика управления показана на схеме.
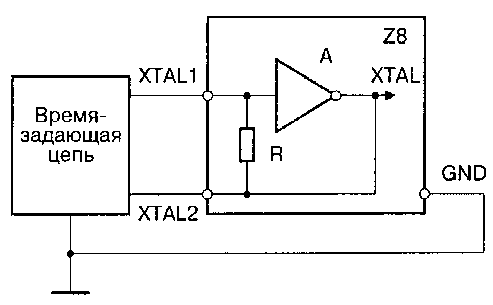
Схема задающего генератора показана на рис 1.5. Генератор построен на основе инвертирующего усилителя постоянного тока A с выполненной внутри кристалла резистивной обратной связью R. Схема генератора рассчитана на подключение внешней времязадающей цепи, являющейся гибкой обратной связью усилителя.
Рис. 1.5 Схема задающего генератора
Для устойчивого самовозбуждения генератора необходимо соблюдение условий баланса амплитуд и баланса фаз на частоте генерации. Условие баланса амплитуд заключается в равенстве 1 произведения коэффициента усиления усилителя на коэффициент передачи цепи обратной связи. Условие баланса фаз требует, чтобы суммарный сдвиг фаз в схеме был равен 0 (360о). Поскольку инвертирующий усилитель дает сдвиг фазы 180о, то цепь обратной связи должна обеспечивать фазовый сдвиг также на 180о.
Этим условиям удовлетворяют схемы времязадающих цепей, показанные на рис.1.6. Генератор может работать с кварцевым или керамическим резонатором, LC -цепью, RC -цепью и внешним генератором. Работа генератора с RC -цепью требует определенной реконфигурации внутренней схемы, что достигается программированием (масочно или электрически) специального бита RC. Такую возможность имеют модели 03, 06, 30, 31, 40. Что касается моделей 02, 04, 08, то возможность запуска от RC - цепи имеют только самые последние версии этих моделей. Устойчивое возбуждение генератора возможно на частотах от 10 КГц до максимальной (см. табл.1.1.).
Рис. 1.6 Времязадающие цепи генератора
1.2.4. Сброс и сторожевой таймер
Функция сброса (Reset) необходима для инициализации важнейших элементов МК: схемы управления и синхронизации, программного счетчика (он устанавливается в состояние 000СН), управляющих регистров и портов (для определения их состояния после сброса для разных моделей МК, см. приложение 1).
Функция сброса активируется в следующих случаях:
- при подаче низкого уровня на вход /RESET (только для модели 40);
- при включении питания VСС;
- при переполнении сторожевого таймера WDT;
- при восстановлении из режима STOP.
В последнем случае (так называемый "теплый" старт) и в случае переполнения сторожевого таймера в режиме STOP порты и управляющие регистры не реинициализируются.
Функция сброса используется также для защиты памяти МК от падения напряжения питания. Это обеспечивается включением функции сброса при падении питающего напряжения VСС ниже порога защиты VLV (Low Voltage) -2-.6 В. Если уровень напряжения не снизится ниже уровня работоспособности КМОП-логики VCMOS (1.2 В), то возможно сохранение содержимого памяти МК и продолжение нормальной работы после восстановления VСС и автосброса. Это позволяет защитить МК от кратковременных "провалов" питающего напряжения.
Пока сброс активен, на выход /AS подаются импульсы внутренней синхронизации, выход /DS имеет низкий потенциал, R//W -высокий.
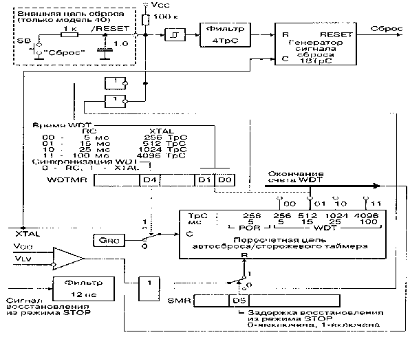
Обобщенная структурная схема сброса и сторожевого таймера показана на рис. 1.7.
Рис. 1.7. Схема сброса/сторожевого таймера
Схема содержит генератор сигнала внутреннего сброса, синхронизируемого импульсами основного генератора XTAL. Этот генератор обеспечивает минимальную длительность сигнала сброса 18 периодов TpC частоты XTAL. Запуск генератора осуществляется через фильтр длительности в 4 TpC. Иначе говоря, если длительность запускающего сигнала будет меньше 4 TpC, то сброса не произойдет. Если запускающий сигнал длиннее 18 TpC, то сброс будет удерживаться на время этого сигнала плюс 18 TpC.
Объединение сигналов запуска сброса осуществляется по схеме "монтажное ИЛИ", поэтому к внешнему выводу МК /RESET (только для модели 40) можно подключать схемы с выходными каскадами с открытым стоком. Для сброса МК с помощью кнопки SB "Сброс" следует применять внешнюю RC-цепь, показанную на том же рисунке. Для возможности использования RC-цепи вход запуска дополнен триггером Шмитта.
Таймер автосброса POR (Power-On Reset) и сторожевой таймер WDT (Watch-Dog Timer) выполнены в виде пересчетной цепи, которая, в общем случае, синхронизируется от дополнительного RC-генератора GRC или от основного генератора XTAL. Таймер POR имеет для всех моделей постоянное время, а таймер WDT -программируемое (за исключением моделей 02, 03, 04 и 08).
Запуск таймера автосброса POR осуществляется в следующих случаях:
- если уровень VСС поднимается выше уровня VLV;
- если становится активным сигнал восстановления из режима STOP;
- если имеет место окончание счета сторожевого таймера WDT.
В первом случае сигнал запуска вырабатывается специальным компаратором А. Во втором случае паразитные всплески сигнала источника подавляются фильтром 12 нс.
Во всех этих случаях происходит запуск таймера автосброса POR, время задержки которого гарантирует окончание переходных процессов в цепи питания VСС и выход на нормальный режим основного генератора синхронизации XTAL, после чего корректно выполняется внутренний сброс МК.
При восстановлении из режима STOP в случае применения LCили RC-времязадающих цепей основного генератора (см. п.1.2.3) нет необходимости выдерживать задержку автосброса, т.к. эти конфигурации генератора имеют малое время установления. Для сокращения задержки восстановления из режима STOP в этом случае сигнал от источника может быть подан непосредственно на вход запуска генератора сигнала сброса. При этом необходимо, чтобы сигнал от источника восстановления имел длительность не менее 4 TpC.
В МК, имеющих расширенную группу регистров F (модели 03, 06, 30, 31, 40), управление схемой сброса / сторожевого таймера осуществляется с помощью регистров режима сторожевого таймера WDTMR (Watch-Dog Timer Mode Register) и режима восстановления из режима STOP-SMR (STOP-Mode Recovery Register). Логика управления понятна из рисунка. Следует отметить, что поскольку генератор основной синхронизации выключается в режиме STOP, прежде чем перейти в этот режим необходимо, чтобы бит D4 WDTMR был установлен в состояние 0. Необходимо помнить, что регистр WDTMR доступен для записи только в течение первых 64 тактов (128 TpC) процессора после сброса, вызванного любым источником. Назначение разрядов регистра WDTMR полностью показано на рис. 1.8.
Рис. 1.8. Регистр WDTMR















