25349 (654677), страница 2
Текст из файла (страница 2)
Станки могут бурить вертикальные и наклонные скважины.
Станки комбинированного бурения
Эти станки являются универсальными машинами, позволяющими вести бурение скважин в сложных горно-геологических условиях с перемежающимися породами различной крепости и структуры. Эффективность разрушения твердых горных пород достигается за счет комбинированного воздействия на породу различных механических и немеханических способов бурения.
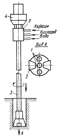
Рис. 6. Конструктивная схема станка комбинированного (термомеханнческого) бурения
Из немеханических способов бурения широкое применение получил термический, который в сочетании с механическим способом позволяет эффективно бурить плотные породы высокой крепости.
При термическом бурении разрушение горной породы происходит вследствие интенсивного одностороннего нагревания забоя скважины раскаленными струями газов. Наиболее эффективно разрушаются кварцсодержащие породы, имеющие низкую теплопроводность при большом коэффициенте линейного расширения.
Сущность термомеханического способа бурения заключается в том, что нагрев породы вызывает значительное снижение ее прочности, а окончательное разрушение достигается механическим способом.
Схема станка термомеханического бурения показана на рис. 6. Станок оснащен термошарошечным рабочим инструментом. Высокотемпературные газовые струи, вытекающие из сопел / термобура, разрушают и ослабляют горную породу на забое скважины. С помощью шарошечного бурового инструмента 2 производится разрушение породы. Термошарошечный рабочий инструмент, закрепленный на штанге 3, вращается с помощью вращателя 4. Рабочие компоненты — керосин, кислород и вода — подаются к входному коллектору 5 на вращателе и далее по каналам в штанге поступают к горелке термобура. Разрушенная порода выносится парогазовой смесью.
Станки термошарошечного бурения позволяют вести проходку скважины шарошечным долотом, с последующим расширением до необходимого диаметра термобуром.
Новые методы разрушения горных пород
Рассматривая перспективы развития открытых горных работ, можно утверждать, что преобладающим способом бурения шпуров и скважин по-прежнему будет механический. Ввиду роста объемов добычи полезных ископаемых будут возрастать и объемы бурения, что, естественно, требует дальнейшего совершенствования способов и средств бурения.
Опыт ведения буровзрывных работ показал, что с ростом крепости и абразивности пород значительно возрастает трудоемкость их бурения и дробления. Установлено, что с увеличением крепости пород скорость механического бурения снижается, в то же время при термическом воздействии на породу наблюдается обратная картина, т. е. с ростом крепости возрастает и скорость бурения. Это и обусловливает основное направление в поисках эффективных средств и устройств, реализующих принцип теплового воздействия на породу. Конкретные варианты реализации этого принципа имеют большое разнообразие, так как все зависит от принятой схемы контакта источника (генератора) тепла и породы.
В настоящее время разработаны следующие принципиально новые схемы теплового воздействия на породу для ее разрушения:
-
контактная передача теплового поля от генератора непосредственно горной породе (использование тепловых потерь при трении от контактного воздействия инструмента на породу, разрушение с помощью термита, электронагревательный бур, атомный бур);
-
свободная передача теплового поля от генератора горной породе (электродуговой бур);
-
воздействие на породу высокотемпературной струей газов (кислородное копье, огневое бурение, плазматрон);
-
воздействие лучистой энергии оптической области, основанное на ее поглощении горной породой и последующем переходе в тепловую (бипараболоидный генератор, эллипсоидный генератор);
-
разрушение горных пород с помощью частиц высокой энергии (электронов, фотонов), основанное на том, что при про-
-
вождении этими частицами горной породы их кинетическая энергия в результате торможения переходит в тепловую (бур на базе вакуумной электронно-лучевой трубки, лазерный бур);
-
контактная передача преобразуемой энергии породе и ее разрушение при электрическом пробое (импульсный высоковольтный разрядник, высокочастотный контактный нагрев);
-
разрушение пород в переменном электромагнитном поле (конденсаторные устройства, магнетрон, одновитковый или спиральный индуктор).
Перспективность применения того или иного способа бурения целесообразно рассматривать с позиций обеспечения высокой производительности бурения.
Список использованной литературы
-
Куличихин Н.И., Воздвиженский Б.И., Разведочное бурение, М., 1966;Техника бурения при разработке месторождений полезных ископаемых, М., 1966
-
Скрыпник С.Г., Данелянц С.М., Механизация в автоматизация трудоёмких процессов в бурении, М., 1968
-
Арш Э.И., Виторт Г.К., Черкасский Ф.Б., Новые методы дробления крепких горных пород. К., 1966. Волков С.А., Сулакшин С.С., Андреев М.М., Буровое дело, М., 1965;
-
Куличихин Н.И., Воздвиженский Б.И., Разведочное бурение, М., 1966;
-
Техника бурения при разработке месторождений полезных ископаемых, М., 1966.
















