20345 (651727)
Текст из файла
СИСТЕМА СМАЗКИ
УСТРОЙСТВО СИСТЕМЫ СМАЗКИ
Система смазки циркуляционная, комбинированная, под давлением и разбрызгиванием, предназначена для очистки масла от механических примесей, смазки трущихся поверхностей и отвода от них тепла.
В систему смазки входят масляный бак 6 (рис. 1), сверху которого закреплены маслозаправочный бачок 13, масляный насос 1, масло-закачивающий насос МЗН-3, центробежный масляный фильтр 25, масляный радиатор 19 и маслопроводы.
Масляный бак расположен в силовом отделении и крепится стяжной лентой к правому борту машины. Заправочная емкость бака 48 л. Внутрь масляного бака входит котел 30 подогревателя и крепится к его стенке на шпильках. К передней стенке бака на шпильках крепится маслозака-чилзающий насос 5. На верху бака имеется две горловины, одна из которых связана дюритовым шлангом с маелозалравочмым бачком 13, а к другой подсоединяется трубопровод 20, по которому отводится масло из радиаторов в бак. На днище бака расположен клапан 32 для слива масла. Внутри бак разделен перегородками, уменьшающими плескание масла на ходу машины.
Внутри бака перегородки образуют компенсационный бачок, который служит для ускорения прогрева масла в зимних условиях. Из этого бачка осуществляется забор масла через перфорированную трубку.
На машинах выпуска до 1968 г. компенсационного бачка и трубки
нет.
В нижней части бака имеется штуцер, к которому 'подсоединен обогреваемый маслопровод 2, подводящий масло к масляному насосу двигателя.
В заправочном бачке 7 (рис. 2) имеется два штуцера, один из них заправочный, закрыт пробкой 4, а в другой установлен маслоиз-мерительный щуп 8. Накидная гайка щупа навинчивается на резьбу штуцера бачка. В заправочной горловине установлен сетчатый фильтр б.
В пробку 4 заправочной горловины вмонтирована набивка 3 из проволочной канители, предназначенная для задержания масла при выходе воздуха через дренажное отверстие. Кроме того, набивка предотвращает попадание пыли в масло снаружи вместе с воздухом.
Из масляного бака осуществляется отсос газов. Для этой цели к баку подсоединен трубопровод, сообщающий его с коробом 16 (рис. 1) эжектора. Конец этого трубопровода соединен с обратным (дренажным) клапаном 17, закрепленным на коробе эжектора.
Дренажный клапан предотвращает попадание газов сгорания из короба эжектора в бак. Он состоит из штуцера 33, сообщающегося с коробом эжектора, соединительной трубки 34, корпуса 39, в котором смонтирован клапан 37, поджимаемый к седлу пружиной 36.
При возрастании давления в баке клапан 37 открывается и под действием разрежения в коробе эжектора газы отсасываются из бака.
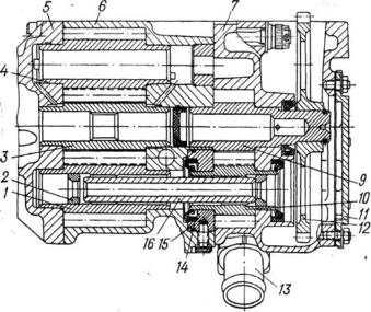
Масляный насос (рис. 3) двухсекционный, шестеренчатого типа, служит для подачи масла из масляного бака в главную магистраль двигателя и для откачки масла из блок-картера в бак. Насос крепится на шпильках к блок-картеру двигателя. Он состоит из корпуса, шестерен нагнетательной и откачивающей секций, шестерни 12 привода, редукционного клапана, обратного клапана 8 и двух крышек.
Корпус состоит из трех частей, стянутых болтами 18; стыки между частями корпуса и крышками уплотняются паронитовыми прокладками.
Нагнетающая секция состоит из двух цилиндрических шестерен 9 и 10. На хвостовике ведущей шестерни 9 сидит на шлицах шестерня 12 привода масляного насоса. В ступицу шестерни 10 входит рессорка 16, которая приводит во вращение ведущую шестерню 1 откачивающей секции.
Откачивающая секция состоит из трех шестерен 1, 3 и 4, работающих попарно. Одна пара шестерен откачивает масло из картера, а вторая откачивает масло, слившееся из сопел форсунок центробежного фильтра и из муфты опережения впрыска топлива.
Выход масла из обеих секций общий.
Редукционный клапан обеспечивает поддержание давления в нагнетательной магистрали двигателя 6—10 кгс/см2. Корпус 17 клапана ввернут в штуцер корпуса насоса. Во внутреннюю резьбу пробки корпуса клапана ввернут винт 20, на конце которого жестко закреплен тарельчатый клапан 22. Винт 20 контрится гайкой и проволокой и пломбируется.
Для регулировки клапана необходимо расшплинтовать болт и ослабить контргайку 24 и проворачивать винт 20 за шестигранную головку.
Обратный клапан 8 установлен на выходе из нагнетательной полости. Он предназначен для предотвращения перетекания масла из магистрали через масляный насос в бак при неработающем двигателе. Клапан состоит из корпуса, шарика и пружины.
При работе двигателя вращение от коленчатого вала через про
межуточную шестерню 6 механизма передач передается на
шестерню 12 (рис. 3) и от нее на шестерни нагнетательной и откачи-
' вающей секций насоса.
Масло из бака самотеком поступает в приемную полость нагнетающей секции через штуцер /3. Вращаясь, зубья шестерен 9 и 10 захватывают масло и перегоняют его в полость нагнетания, где создается давление, под действием которого открывается обратный клапан 8 и масло поступает в магистраль.
Рис. 3. Масляный насос:
1 — ведущая шестерня откачивающей секции; 2 — кольцо; 3 и 4 — ведомые шестерни откачивающей секции; 5 — крышка-фланец; 6 — корпус откачивающей секции; 7 — корпус нагнетающей секции; 8 — обратный клапан; 9 — ведущая шестерня нагнетающей секции; 10 — ведомая шестерня нагнетающей секции; 11 - задняя крышка; 12 — шестерня привода масляного насоса; 13 — штуцер; 14 — самоподжимной сальник; 15 — заглушка; 16 — рес-сорка привода; /7 —корпус редукционного клапана; 18 — стяжной болт; 19 — шайба; 20 — винт; 21 — пружина; 22 — клапан; 23 — седло клапана; 24 — контргайка винта; а — отверстие для подвода масла из картера; б — отверстие для подвода масла из центробежного фильтра; в —канал выхода масла из откачивающих секций радиатора; г — осевой канал; д —радиальный канал
При возрастании оборотов коленчатого вала двигателя производительность насоса повышается и давление в полости нагнетания увеличивается. Когда давление выходит за пределы допустимого, отжимает ся тарель редукционного клапана 22 и часть масла через осевой канал г и радиальный канал д перепускается в приемную полость нагнетательной секции. Одновременно масло из блок-картера двигателя и из сопел центробежного фильтра поступает через отверстия а и б в при* емяые полости откачивающей секции, откуда оно подается в масляный радиатор.
Масляный фильтр предназначен для очистки масла от смол и механических примесей. Фильтр сдвоенный, включает последовательно соединенные фильтр грубой очистки и центробежный фильтр.
Фильтр установлен в развале блок-картера на четырех шпильках. Фильтр состоит из корпуса 23 (рис. 4) с двумя раздельными крышка-ми 6 и 20, центробежного фильтра, фильтра грубой очистки и шарикового обратного клапана.
Корпус алюминиевый, разделен «а две полости. В меньшей полости размещается фильтр грубой очистки, состоящий из полого стержня 21, ввернутого в днище корпуса, фильтрующего сетчатого цилиндра 18, надетого на стержень и прижимаемого сверху пружиной 19.
: 56 78 9 10 11 12 13 а 14 15 16 б 171819 20 21
Рис. 4. Масляный фильтр:
/ — бронзовая втулка; 2 — форсунка; 3 — крышка ротора; 4 — маслозаборная трубка; 8, 14 и 22 — гайки; 6 — крышка фильтра; 7—«корпус ротора; 8 — сетка; 9 — стержень ротора; 10 — втулка; 11— пробка смотрового отверстия; 12 — стопорное кольцо; 13 — бронзовая втулка стержня ротора; 15 — шпилька; 16 — щиток; 17 — резиновое кольцо; 18 — сетчатый цилиндр; 19 — пружина; 20 — крышка фильтра грубой очистки; 21 — стержень; 23 — корпус; 24 — маслоотражательный щиток; 25 — опорный подшипник; 26 — штуцер; 27 — трубка отвода очищенного масла; 28 — заглушка; 29 — шарик обратного клапана; а — отверстие стержня ротора; б — канал; в — верхнее отверстие; г — нижнее отверстие; д — нижнее отверстие стержня
Центробежный фильтр состоит из стержня 9, вставленного в ра-
сточку корпуса и опирающегося сверху в расточку крышки 6, ротора и
маслоотражательного щитка 24.
Ротор состоит из корпуса 7 и крышки 3, стянутых друг с другом: двумя шпильками 15. В крышке ротора установлены две маслозабор-; ные трубки 4 с защитными сетками 8 и щиток 16, который прижимается к крышке буртиками шпилек 15. Ротор опирается на подшипник 25 и вращается вокруг стержня 9 на двух бронзовых втулках (подшипниках) 1 и 13, запрессованных в крышку и корпус ротора.
Внутренняя полость стержня 9 закрывается снизу резьбовой заглушкой 28, а сверху пробкой 11. Пробка от выпадания зафиксирована стопорным кольцом 12. Внутрь стержня завальцована медная трубка 27 для отвода очищенного масла. Вторым концом трубка выходит в полость обратного клапана, который (Предотвращает перетекание масла из центрального масляного канала блок-картера в фильтр при прокачке масла перед запуском.
В нижней части корпуса фильтра установлен сваренный из двух половин маслоотражателыный щиток 24.
При работе двигателя масло насосом подается через штуцер, фильтрующую сетку и радиальные отверстия В в полость стержня 21. Из полости стержня по каналу в днище корпуса масло идет в нижнюю полость стержня 9 «ротора и через отверстия д заполняет внутренний объем ротора. Часть масла из ротора поступает в две маслозаборные трубки 4, установленные в крышке 3 ротора.
В нижней части трубок 4 установлены форсунки 2, сопла которых натравлены по касательной к образующей трубок. Масло из трубок под давлением с большой скоростью вытекает через сопла, и под действием реактивных сил, создаваемых струями масла, ротор вращается с большой скоростью. В зависимости от величины давления масла ротор вращается со скоростью 6000—9000 об/мин. Под действием центробежных сил тяжелые частицы примесей, попавших в масло, устремляются к периферии ротора и откладываются на его внутренних стенках, а в полости, близкой к оси ротора, образуется зона чистого масла. Чистое масло проходит через отверстия а в полость стержня 9, откуда по трубке 27, отжав шарик 29 обратного клапана, проходит через выходной штуцер в масляную магистраль двигателя и на смазку муфты опережения подачи топлива. Другая часть масла из полости ротора непосредственно поступает через отверстия а, минуя трубки 4.
Маслозакачивающий насос МЗН-3 предназначен для подачи масла в двигатель перед пуском. Он крепится на шпильках к фланцу масляного бака с левой стороны.
Насос шестеренчатый, с приводом от электродвигателя МН-1, состоит из корпуса с крышкой. В корпусе установлены две шестерни 7 и 9. Ведущая шестерня 9 выполнена заодно с валиком, который муфтой 3 связан с валом 5 электродвигателя 4.
В насосе смонтирован шариковый перепускной клапан с пружиной 12, отрегулированной на давление 12±2 кгс/см2. Масло из бака самотеком по каналам в корпусе насоса попадает в приемную полость, где захватывается зубьями шестерен 7 и 9 и подается в нагнетательную полость и из нее в магистраль двигателя. Если давление в магистрали становится выше допустимого, отжимается шарик 11 перепускного клапана и масло из нагнетательной полости перепускается через канал а обратно в приемную полость.
Масляный радиатор трубчато-пластинчатый, предназначен для охлаждения масла, выходящего из двигателя. Он установлен в коробке эжектора под броневыми жалюзи крыши. Радиатор 19 (рис. 1) состоит из пакетов латунных трубок овального сечения, на которые надеты охлаждающие пластины, трубных досок и коллекторов.
При работе двигателя масло из масляного насоса подается к коллектору радиатора и, проходя по трубкам, охлаждается в них потоком воздуха, засасываемого в эжектор системы охлаждения двигателя. Для лучшего охлаждения входной коллектор выполнен раздельным, и масло проходит вначале по одной половине пакетов трубок, затем по второй, чем удлиняется его путь и время нахождения под воздействием потока воздуха.
РАБОТА СИСТЕМЫ СМАЗКИ
При включении маслозакачивающего насоса 8 (рис. 1) масло из бака 6 проходит через сетчатый фильтр 10 и по трубопроводу 11 подается к двигателю. После запуска двигателя сразу же начинает работать масляный насос У, который подает масло из бака к центробежному фильтру 25.
Масло из бака
Масло к коленчатому валу двигателя
Рис. 185. Маслозакачивающий насос МЗН-3:
Характеристики
Тип файла документ
Документы такого типа открываются такими программами, как Microsoft Office Word на компьютерах Windows, Apple Pages на компьютерах Mac, Open Office - бесплатная альтернатива на различных платформах, в том числе Linux. Наиболее простым и современным решением будут Google документы, так как открываются онлайн без скачивания прямо в браузере на любой платформе. Существуют российские качественные аналоги, например от Яндекса.
Будьте внимательны на мобильных устройствах, так как там используются упрощённый функционал даже в официальном приложении от Microsoft, поэтому для просмотра скачивайте PDF-версию. А если нужно редактировать файл, то используйте оригинальный файл.
Файлы такого типа обычно разбиты на страницы, а текст может быть форматированным (жирный, курсив, выбор шрифта, таблицы и т.п.), а также в него можно добавлять изображения. Формат идеально подходит для рефератов, докладов и РПЗ курсовых проектов, которые необходимо распечатать. Кстати перед печатью также сохраняйте файл в PDF, так как принтер может начудить со шрифтами.















