20103 (651379), страница 9
Текст из файла (страница 9)
Δамнов= Δамст+ Δ
Если новый район расположен восточнее старого, поправку Δ учитывают со знаком +, если западнее -.Поправку берут из таблицы по абсциссе Х развертывания и по дальности Д.
| Хкм | Дкм | ||||
| 10 | 15 | 20 | 25 | 30 | |
| 4000 | 1 | 2 | 2 | 3 | 3 |
| 4500 | 1 | 2 | 3 | 3 | 4 |
| 5000 | 2 | 2 | 3 | 4 | 5 |
| 5500 | 2 | 3 | 4 | 4 | 5 |
| 6000 | 2 | 3 | 4 | 5 | 6 |
| 6500 | 3 | 4 | 5 | 6 | 7 |
| 7000 | 3 | 4 | 6 | 7 | 9 |
| 7500 | 4 | 5 | 7 | 9 | 11 |
| 8000 | 5 | 7 | 9 | 12 | 14 |
Дальность Д (в км.) определяется по карте как разность координаты Уа места выверки и координаты Ув нового района:
Д=Ув-Уа
Для учета поправки буссоли, ее записывают на специальную бирку, которая крепится на буссоли.
|
НОРМЫ ВЫРАБОТКИ ГРУНТА
ОДНИМ ЧЕЛОВЕКОМ В ЧАС В М3 (до 1,5 метра)
| Грунты | Пехотной лопатой | Саперной лопатой | Дополнительный инструмент |
| Слабый | 0,6 | 1,25 | - |
| Средний | 0,5 | 1,0 | - |
| Твердый | - | 0,5-0,6 | Кирка, мотыга, ломы |
| Скальный | - | 0,25-0,3 | Стальные клинья, молотки |
| Мерзлый | - | 0,1-0,2 |
При выработке грунта с глубиной более 1,5 м нормы времени увеличиваются в 1,5-2раза.
РАСЧЕТ ИНЖЕНЕРНОГО ОБОРУДОВАНИЯ
| Наименование сооружений | Количество | Объем грунта на ед.м3 | Всего | Чел\час на един. | Всего чел\час |
| Окопы системы | |||||
| Окоп СОБ | 43(7,5) | 52\9 | |||
| Окоп КОВ | 1,7 | 1,6 | |||
| Окопы для самообороны | 1,5 | 1,7 | |||
| Погребки | 19-27 | 30-40 | |||
| Щели открытые (перекрытые) | 5,5(8,5) | 10(24) | |||
| Укрытия для тягачей (УРАЛ,ЗИЛ) | 100\50 | 100\80 | |||
| Блиндаж | 12 | 4,5 |
СХЕМА
и
нженерного оборудования ОП батареи буксируемых орудий
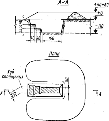
ОТКРЫТОЕ СООРУЖЕНИЕ
для пункта управления старшего офицера батареи
На устройство сооружения(без щели)требуется 7,5 м3
О
К О П
для машины старшего офицера батареи
Объем вынутого грунта 43 м3. На устройство окопа (без щели) требуется 52 чел.-часа
ОТКРЫТОЕ
сооружение для командира огневого взвода
Объем вынутого грунта 1,7 м3. На устройство сооружения требуется 1,6 чел.-час.
О К О П
для 152 мм пушки-гаубицы Д-20(изделия 2А36)
Объем вынутого грунта 65 (75)м3. На устройство окопа(без щели)требуется 82(95) чел.-часа
О К О П
для 122 мм гаубицы Д-30
Объем вынутого грунта 55м3. На устройство окопа(без щели)требуется 68 чел.-часа
О К О П
для 120 мм (82 мм) миномета
Объем вынутого грунта 19(15)м3. На устройство окопа(без щели)требуется 24(18) чел.-часа
О К О П
для автоматического миномета
Объем вынутого грунта 23м3. На устройство окопа(без щели)требуется 30 чел.-часа
Для стрельбы с закрытой ОП окоп устраивается глубиной 90 см, а бруствер высотой 60 см.
О К О П
д
ля самоходных гаубиц 2С3 и 2С1
Объем вынутого грунта 75(62) м3. На устройство окопа (без щели) с применение встроенного оборудования для самоокапывания гаубицы 2С3 требуется 1,5 маш.-час. и 12 чел.-час.
О К О П
д
ля изделия 9П140
Объем вынутого грунта 87 м3. На устройство окопа требуется 0,3 маш.-час. МДК-3 и 13 чел.-час.
УКРЫТИЕ
для тягача МТ-ЛББ и 100 мм пушки
М
Т-12(Т-12)
Объем для вынутого грунта 50 м3. На устройство укрытия требуется 65 чел.-час.
П
ОГРЕБОК ПОД БОЕПРИПАСЫ
| Артиллерийская система | Размеры, м. | Вынутый грунт, м3 | Требуется чел.-час | |
| а | Б | |||
| 122 мм гаубица Д-30 | 1 | 3 | 27 | 40 |
| 152 мм пушка-гаубица Д-20 | 1 | 5,5 | 29 | 45 |
О
коп для двух стрелков
Объем для вынутого грунта 1,6 м3. На устройство окопа требуется 1,8 чел.-час.
О К О П
д
ля стрельбы из пулемета стоя
-
ниша для боеприпасов; 2- ступень для ведения огня в дополнительном секторе.
Объем вынутого грунта 2,3 м3. На устройство окопа требуется 2,5 чел.-час.
ОТКРЫТАЯ ЩЕЛЬ
на расчет из 8(4) человек
Объем вынутого грунта со входом с поверхности 7(5,5)м3, со входом из траншеи 6(4,5) м3. На устройство щели со входом с поверхности требуется 12(10)чел.-час., о входом из траншеи 8(6) чел.-час., круглого леса 0,1 м3
УСЛОВНЫЕ ЗНАКИ
Пункт управления (штаб) корпуса
Пункт управления (штаб) дивизии
Пункт управления (штаб) бригады, укрепленного района (цвет знака в соответствии с принадлежностью к виду ВС, роду войск, спец. войск)
Пункт управления (штаб) полка, отряда, комендатуры.
Командно-наблюдательный (командный) пункт (штаб) батальона, дивизиона, пункт управления комендатуры ВОСО, радиолокационной роты.
Командно-наблюдательный пункт роты: 1 - в обороне и в пешем порядке в наступлении; 2 - в движении на БМП (на другой технике - с соответствующим знаком). Командно-наблюдательный пункт взвода - с одной черточкой.
Наблюдательный пункт (пост), с указанием принадлежности с буквами внутри знака: А - артиллерийской, И - инженерный, Х - химический, Т - технического наблюдения. Цвет знака по роду войск.
Пункт управления (штаб)в движении.
.Пункты управленияП р и м е ч а н и я:
1. Стационарные защищенные пункты управления обозначаются теми же знаками с короткой подсечкой у основания флажка, передовые и вспомогательные - знаками 3/4 их размера.
2. Воздушные, железнодорожные и корабельные пункты управления обозначаются теми же знаками, но 3/4 их размеры с обозначением соответствующего транспортного средства у основания флажка.
3. Цвет знака - по роду войск. Возле знаков или внутри них при необходимости могут наносится дополнительные надписи (время, состав, принадлежность и др.)
4. Без надписи возле знака - штаб.
Разграничительная линия между армиями, тыловая граница армии.
Разграничительная линия между корпусами, тыловая граница корпуса.
Разграничительная линия между дивизиями (бригадами), их зонами, районами ответственности, тыловая граница соединения.
Разграничительная линия между полками отрядами.
Разграничительная линия между батальонами, заставами.
Районы расположения (сосредоточения), исходный район соединения, части и подразделения. Планируемый район обозначается пунктирной линией.
ПАБ-2А № 567466
нженерного оборудования ОП батареи буксируемых орудий
















