9955 (646180)
Текст из файла
Министерство образования Российской Федерации
Марийский государственный технический университет
Кафедра: РтиМБС
Применение
лазеров в биологии и медицине.
Реферат
по дисциплине «Введение в специальность».
Выполнил: _______________.
Проверил: __________________
Йошкар-Ола 2003 год.
-
-
СОДЕРЖАНИЕ.
Ââåäåíèå ………………………………………………………………............................. 3
-
Ëàçåðíûå ìåòîäû äèàãíîñòèêè……………………………………………..4
-
ÎÏÒÈ×ÅÑÊÈÅ ÊÂÀÍÒÎÂÛÅ ÃÅÍÅÐÀÒÎÐÛ…………………………………………..4
-
ÎÑÍÎÂÍÛÅ ÍÀÏÐÀÂËÅÍÈß È ÖÅËÈ ÌÅÄÈÊÎ-ÁÈÎËÎÃÈ×ÅÑÊÎÃÎ ÈÑÏÎËÜÇÎÂÀÍÈß ËÀЗЕРОВ ….……………………………………………………….6
-
Ëàçåðíàÿ äèàãíîñòèêà â îôòàëüìîëîãèè…………………………….7
-
ÀÍÃÈÎÃÐÀÔÈß………………………………………………………………………. 7
-
ÄÈÀÃÍÎÑÒÈ×ÅÑÊÈÅ ÂÎÇÌÎÆÍÎÑÒÈ ÃÎËÎÃÐÀÔÈÈ……………….10
-
-
Термография………………………………………………………………………….11
2.1 Биофизические аспекты тепловидения……………………………...11
2.2 МЕТОДИКИ ТЕПЛОВИЗИОННОГО ИССЛЕДОВАНИЯ……………………… 13
-
2.3 ТЕПЛОВИЗИОННАЯ ТЕХНИКА И ПЕРСПЕКТИВЫ ЕЕ СОВЕРШЕНСТВОВАНИЯ……………………………………………………………………………………………...15
3. Лазерная медицинская установка для целе лУчевой терапии "Импульс-1"………………………………………………………………………………..19
3.1 Структурная схема……………………………………………………………19
3.2 Функциональная схема………………………………………………… 20
3.3 Принцип действия………………………………………………………… 21
3.4 Основные параметры и характеристики………………………….23
3.5 Âûâîäû…………………………………………………………………………. .24
Список используемой литературы……………………………………… 25
-
-
-
Ââåäåíèå
 íàñòîÿùåå âðåìÿ ëàçåðíîå èçëó÷åíèå ñ áîëüøèì èëè ìåíüøèì óñïåõîì ïðèìåíÿåòñÿ â ðàçëè÷íûõ îáëàñòÿõ íàóêè. Óíèêàëüíûå ñâîéñòâà èçëó÷åíèÿ ëàçåðîâ, òàêèå, êàê ìîíîõðîìàòè÷íîñòü, êîãåðåíòíîñòü, ìàëàÿ ðàñõîäèìîñòü è âîçìîæíîñòü ïðè ôîêóñèðîâêå ïîëó÷àòü î÷åíü âûñîêóþ ïëîòíîñòü ìîùíîñòè íà îáëó÷àåìîé ïîâåðõíîñòè îáåñïå÷èëè øèðîêîå ïðèìåíåíèå ëàçåðîâ. Èñïîëüçîâàíèå êâàíòîâîé ýëåêòðîíèêè îêàçàëîñü, â ÷àñòíîñòè, î÷åíü ïîëåçíûì äëÿ êëèíè÷åñêîé ìåäèöèíû.  ìåäèöèíñêèõ öåëÿõ èñïîëüçóþòñÿ, â îñíîâíîì, òâåðäîòåëüíûå è ãàçîâûå ëàçåðû. Èìïóëüñíûå òâåðäîòåëüíûå ëàçåðû ïðèìåíÿþò ïðåèìóùåñòâåííî â îôòàëüìîëîãèè äëÿ îïåðàöèé ïî óñòðàíåíèþ îòñëîåíèÿ ñåò÷àòêè ãëàçà è ïðè ëå÷åíèè ãëàóêîìû. Äëÿ ýòèõ öåëåé áûëà ðàçðàáîòàíà ñïåöèàëüíàÿ àïïàðàòóðà ñ èñïîëüçîâàíèåì íåîäèìîâûõ è ðóáèíîâûõ ëàçåðîâ. Äëÿ îïåðàöèé ñ ðàññå÷åíèåì òêàíåé èìïóëüñíûå ëàçåðû îêàçàëèñü íåïðèãîäíû, ïîýòîìó äëÿ ýòèõ öåëåé ïðèìåíÿþò ëàçåðû íåïðåðûâíîãî äåéñòâèÿ.  Ñîâåòñêîì Ñîþçå áûëà ñîçäàíà õèðóðãè÷åñêàÿ àïïàðàòóðà íà ÑÎ2 ëàçåðàõ. Òàêèå õèðóðãè÷åñêèå óñòàíîâêè ïðèìåíÿþò â îáùåé õèðóðãèè, îíêîëîãèè è äðóãèõ îáëàñòÿõ.
Óñòàíîâêàìè íà îñíîâå àðãîíîâûõ ëàçåðîâ íåïðåðûâíîãî äåéñòâèÿ ñ èñïîëüçîâàíèåì ñïåöèàëüíûõ ñâåòîâîäîâ ïîëüçóþòñÿ ìåäèêè ïðè âíóòðèïîëîñòíûõ îïåðàöèÿõ.
 òåðàïèè ðàçíûõ áîëåçíåé øèðîêî ïðèìåíÿþòñÿ ãàçîâûå ãåëèé-íåîíîâûå ëàçåðû. Íàïðèìåð, ïîëîæèòåëüíûå ðåçóëüòàòû ïîëó÷åíû ïðè ëå÷åíèè òðîôè÷åñêèõ ÿçâ, ðàí, âîñïàëèòåëüíûõ ïðîöåññîâ, íåêîòîðûõ ñîñóäèñòûõ çàáîëåâàíèé è â êàðäèîëîãèè. Íå âûçûâàåò ñîìíåíèÿ ñòèìóëèðóþùåå äåéñòâèå èçëó÷åíèÿ ãåëèé-íåîíîâûõ ëàçåðîâ ïðè ðåãåíåðàöèè è óëó÷øåíèè îáìåííûõ ïðîöåññîâ.
Îñíîâíûìè ïðåèìóùåñòâàìè, ñòèìóëèðóþùèìè ïðèìåíåíèå ëàçåðîâ â ìåäèöèíå, ÿâëÿþòñÿ ðàäèêàëüíîñòü ëå÷åíèÿ, ñíèæåíèå ñðîêîâ âìåøàòåëüñòâà, óìåíüøåíèå ÷èñëà îñëîæíåíèé, êðîâîïîòåðè, óëó÷øåíèå óñëîâèé ñòåðèëüíîñòè è ò. ä.
-
I. Ëàçåðíûå ìåòîäû äèàãíîñòèêè
-
ÎÏÒÈ×ÅÑÊÈÅ ÊÂÀÍÒÎÂÛÅ ÃÅÍÅÐÀÒÎÐÛ
Лазеры представляют собой источники света, работающие на базе процесса вынужденного (стимулированного, индуцированного) испускания фотонов возбужденными атомами или молекулами под воздействием фотонов излучения, имеющих ту же частоту. Отличительной чертой этого процесса является то, что фотон, возникающий при вынужденном испускании, идентичен вызвавшему его появление внешнему фотону по частоте, фазе, направлению и поляризации. Это определяет уникальные свойства квантовых генераторов: высокая когерентность излучения в пространстве и во времени, высокая монохроматичность, узкая направленность пучка излучения, огромная концентрация потока мощности и способность фокусироваться в очень малые объемы. Лазеры создаются на базе различных активных сред: газообразной, жидкой или твердой. Они могут давать излучение в весьма широком диапазоне длин волн - от 100 нм (ультрафиолетовый свет) до 1.2 мкм (инфракрасное излучение) - и могут работать как в непрерывном, так и в импульсном режимах.
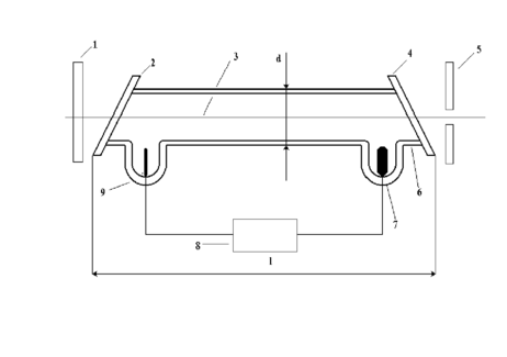
Лазер состоит из трех принципиально важных узлов: излучателя, системы накачки и источника питания, работа которых обеспечивается с помощью специальных вспомогательных устройств. Упрощенная конструктивная схема гелий-неонового лазера показана на рисунке ниже.
Излучатель предназначен для преобразования энергии накачки (перевода гелий-неоновой смеси 3 в активное состояние) в лазерное излучение и содержит оптический резонатор, представляющий собой в общем случае систему тщательно изготовленных отражающих, преломляющих и фокусирующих элементов, во внутреннем пространстве которого возбуждается и поддерживается определенный тип электромагнитных колебаний оптического диапазона. Оптический резонатор должен иметь минимальные потери в рабочей части спектра, высокую точность изготовления узлов и их взаимной установки. В лазере, показанном на рисунке, оптический резонатор выполнен в виде двух параллельных зеркал 1 и 5,расположенных вне активной части среды 3,которая отделена от окружающей среды колбой 6 разрядной трубки и двумя окнами 2,4 с плоскопараллельными границами, образующими с осью излучения угол Брюстера. Внешние зеркала 1 и 5 обеспечивают многократное прохождение излучения через активную среду с нарастанием мощности потока лазерного излучения. Для выхода излучения одно из зеркал (5) делается с отверстием или полупрозрачным.
Система накачки предназначена для преобразования энергии источника электрического питания 8 в энергию ионизированной активной среды 3 лазера. Накачка осуществляется электрическим разрядом, для чего в нем устанавливаются два электрода - катод 7 и анод 9, между которыми подается напряжение от источника питания. Атомы гелия возбуждаются при соударениях с быстрыми электронами и, сталкиваясь с атомами неона, передают им свою энергию. В некоторых типах лазеров применяют фокусирующие магниты или обмотки и специальные отводные трубки для циркуляции активной среды.
-
ÎÑÍÎÂÍÛÅ ÍÀÏÐÀÂËÅÍÈß È ÖÅËÈ ÌÅÄÈÊÎ-ÁÈÎËÎÃÈ×ÅÑÊÎÃÎ ÈÑÏÎËÜÇÎÂÀÍÈß ËÀÇÅÐÎÂ.
Современные направления медико-биологического применения лазеров могут быть разделены на две основные группы :
В нижней половине схемы сгруппированы направления использования лазерного излучения в качестве инструмента исследования. Лазер здесь играет роль уникального светового источника при спектральных исследованиях, в лазерной микроскопии, голографии и др. В верхней половине схемы показаны основные пути использования лазеров в качестве инструмента воздействия на биологические объекты. можно выделить три типа такого воздействия.
К первому типу отнесено воздействие на ткани патологического очага импульсным или непрерывным лазерным излучением при плотности мощности, недостаточной для глубокого обезвоживания, испарения тканей и возникновения в них дефекта. Этому типу воздействия соответствует применение лазеров в дерматологии и онкологии для облучения патологических тканевых образований, которое приводит к их коагуляции. Второй тип - рассечение тканей, когда под влиянием излучения лазера непрерывного или частотно-периодического действия часть ткани испаряется и в ней возникает дефект. В этом случае плотность мощности излучения может превосходить используемую при коагуляции на два порядка и более. Этому типу воздействия соответствует хирургическое применение лазеров. К третьему типу можно отнести влияние на ткани и органы низкоэнергетического излучения, обычно не вызывающего явных морфологических изменений, но приводящего к определенным биохимическим и физиологическим сдвигам в организме, т.е. воздействие типа физиотерапевтического. Сюда же следует включить применение гелий-неонового лазера в целях биостимуляции при вяло текущих раневых процессах, трофических язв и др.
Несмотря на всю условность схемы (нетрудно видеть, например, что при рассечении тканей наблюдается одновременно гибель части клеток, т.е. реализуется и воздействие по первому типу, рассечение и коагуляция тканей сопровождается определенными физиолого-биохимическими изменениями и др.),она дает представление о тех основных эффектах, которые достигаются с помощью лазерного облучения и практически используются специалистами медико-биологического профиля. Задача исследований по механизму биологического действия лазерной радиации сводится к изучению тех процессов, которые лежат в основе интегральных эффектов, вызываемых облучением — коагуляции тканей, их испарения, биостимуляционных сдвигов в организме.
-
Ëàçåðíàÿ äèàãíîñòèêà â îôòàëüìîëîãèè
-
ÀÍÃÈÎÃÐÀÔÈß
Исследование сосудистой системы и гемодинамики глазного дна является одним из важнейших средств ранней диагностики тяжелых патологических изменений органа зрения и, в конечном счете, профилактики преждевременной слепоты.
Наибольшее распространение для исследования гемодинамики в настоящее время получили флюоресцентная ангиография и ангиоскопия глазного дна. Эти методы обладают большой информационной емкостью.
Флюоресцентная ангиография (ФАГ) с фоторегистрацией позволяет зафиксировать результаты исследования, но нарушает целостность динамической картины кровообращения.
Перед исследователем, который работает над усовершенствованием и разработкой аппаратуры для исследования гемодинамики глазного дна, встают следующие задачи:
1) выбор фотоприемника, имеющего достаточно высокую чувствительность как в видимом, так и в ближнем инфракрасном диапазоне и дающего возможность оперативно регистрировать и воспроизводить в реальном времени динамическую картину кровообращения глазного дна
2) выбор соответствующего источника освещения глазного дна, который излучает в диапазоне возбуждения применяемых контрастирующих красителей и позволяет достаточно простым способом изменять длину волны излучения.
Желательно, чтобы источник освещения в нужном диапазоне излучения имел возможно более узкую ширину спектра, лучше всего излучение на одной линии максимального поглощения соответствующего красителя. Применение источника освещения с такой характеристикой исключает высокую общую засветку глаза.
Выбранный фотоприемник должен обладать как можно большей чувствительностью в рабочем диапазоне, что даст возможность снизить уровень освещенности глазного дна.
Фотоприемник должен иметь разрешающую способность, достаточную для передачи мелких деталей глазного дна, и высокое отношение сигнал-шум для воспроизведения изображения глазного дна с необходимым контрастом.
Проведенные эксперименты показали, что оптимальным с точки зрения всех требований, предъявляемых к фотоприемнику, является использование в качестве такового телевизионной передающей трубки. Телевизионный фотоприемник преобразует оптическое изображение на его мишени в последовательность электрических импульсов— телевизионный видеосигнал. Видеосигнал передается на устройства отображения - телевизионные мониторы с экранами различного размера для непосредственной визуализации, и записывается на магнитную ленту с помощью видеомагнитофона. В видеосигнал чисто электронными методами может быть введена дополнительная информация. Наблюдение гемодинамической картины производилось в реальном масштабе времени, а регистрация сигнала на видеомагнитофоне позволяла многократно просматривать сделанную запись для детального диагностического анализа. При использовании соответствующего видеомагнитофона можно просматривать запись с пониженной скоростью воспроизведения и в обратном движении, а также возможна остановка изображения.
Необходимая разрешающая способность телевизионной трубки определяется величиной самых мелких деталей глазного дна, которые необходимо передать, и увеличением оптического канала, формирующего изображение. Если принять размер самых мелких деталей в 50 мкм, то для фундус-камеры "Opton" с увеличением фотоканала 2.5 получим необходимую разрешающую способность телевизионного фотоприемника 8 мм. Изображение участка глазного дна, создаваемое фундус-камерой, представляет собой круг диаметром 20 мм. Следовательно, если изображение занимает всю поверхность мишени, то требуется не более 200 строк разложения, чтобы обеспечить требуемое разрешение. Таким образом, стандартная телевизионная развертка позволит передавать детали мельче 50 мкм.
Проведенные исследования позволили выбрать следующую структурную схему телевизионной системы для ангиографических исследований. В качестве источника освещения глазного дна используется перестраиваемый лазер, длина волны которого выбирается в полосе максимального поглощения используемого красителя. При помощи специального электронного блока оптимальным образом связаны модуляция лазерного луча и параметры развертки телевизионной системы. Вид зависимости выбирается исходя из необходимости обеспечить минимальную паразитную засветку глазного дна, то есть так, чтобы получить максимальное отношение сигнал-шум в тракте телесигнала. При этом на экране телевизионного дисплея получается наиболее контрастное изображение. Применение в качестве источника света лазера позволяет получить максимальную спектральную плотность излучения в нужном участке спектра и исключить засветку глазного дна на других длинах волн, при этом отпадает необходимость в применении узкополосного фильтра с низким коэффициентом пропускания. Для регистрации видеосигнал записывается на магнитную ленту. Параллельно видеосигнал поступает на спецвычислитель, при помощи которого непосредственно во время исследования или во время воспроизведения ранее сделанной записи могут быть определены следующие параметры: калибр сосудов в некотором выбранном сечении глазного дна; площадь занимаемая сосудами на глазном дне; доля сосудов определенного заданного калибра; распределение сосудов по калибрам; скорость распространения красителя и др.
-
ÄÈÀÃÍÎÑÒÈ×ÅÑÊÈÅ ÂÎÇÌÎÆÍÎÑÒÈ ÃÎËÎÃÐÀÔÈÈ
Особый интерес для голографической диагностики представляет орган зрения. Глаз является органом, позволяющим получать изображение его внутренних сред обычным освещением извне, так как преломляющие среды глаза являются прозрачными для излучения видимого и ближнего инфракрасного диапазона.
Характеристики
Тип файла документ
Документы такого типа открываются такими программами, как Microsoft Office Word на компьютерах Windows, Apple Pages на компьютерах Mac, Open Office - бесплатная альтернатива на различных платформах, в том числе Linux. Наиболее простым и современным решением будут Google документы, так как открываются онлайн без скачивания прямо в браузере на любой платформе. Существуют российские качественные аналоги, например от Яндекса.
Будьте внимательны на мобильных устройствах, так как там используются упрощённый функционал даже в официальном приложении от Microsoft, поэтому для просмотра скачивайте PDF-версию. А если нужно редактировать файл, то используйте оригинальный файл.
Файлы такого типа обычно разбиты на страницы, а текст может быть форматированным (жирный, курсив, выбор шрифта, таблицы и т.п.), а также в него можно добавлять изображения. Формат идеально подходит для рефератов, докладов и РПЗ курсовых проектов, которые необходимо распечатать. Кстати перед печатью также сохраняйте файл в PDF, так как принтер может начудить со шрифтами.
















