4855 (643268)
Текст из файла
Федеральное агентство по образованию
Государственное образовательное учреждение
Высшего профессионального образования
Камышинский технологический институт (филиал)
Волгоградского государственного технологического университета
Факультет: Промышленные технологии
Семестровое задание
По дисциплине:
«Безопасность жизнедеятельности»
На тему:
Меры защиты от прямого и косвенного прикосновений.
Выполнил:
Студент группы КЭЛ-051(с)
Ермаков М.М.
Проверил:
Хавроничев С. В.
Камышин 2007г.
Содержание.
Введение. Воздействие электрического тока на организм человека……..…...2
1. Условия поражения электрическим током………………………………...…3
2. Технические способы и средства электробезопасности………………….....8
3. Оптимизация защиты в распределительных сетях………………...…….…19
Заключение………………………………………………………………...….….22
Список использованной литературы……………………………………....…..23
Введение. Воздействие электрического тока на организм человека.
Электротравматизм на производстве и в быту представляет серьезную опасность для здоровья людей. По статистике в России на долю электрических травм приходится более 3% общего числа производственных травм, при этом 12-13% из них являются смертельными. Бытовые электротравмы составляют примерно 40% всех несчастных случаев, которые привели к смерти пострадавших. Основными причинами поражения людей электрическим током являются:
-
Прикосновение к неизолированным токоведущим частям электропотребителей или распределительных устройств при эксплуатации или тех. обслуживании под напряжением (случайное прикосновение из-за невнимательности, усталости, нарушении правил техники безопасности; использование для работы инструмента с токопроводящими рукоятками и др.)
-
Ошибочная подача напряжения на оборудование или электроприборы при тех. обслуживании и ремонте по халатности, невнимательности, технической неграмотности или из-за отсутствия на включающем устройстве предупреждающих знаков и плакатов безопасности;
-
Прикосновение к находящимся под напряжением электрическим проводам с нарушенной изоляцией;
-
Прикосновение к металлическим частям оборудования, электроприемников, а также сооружений, случайно оказавшимся под напряжением в результате пробоя изоляции или соприкосновения с проводами линии электропередачи, оголенными жилами сети (кабеля) электропитания;
-
Воздействие шагового напряжения при передвижении человека в непосредственной близости от упавшего на землю и находящегося под напряжением провода линии электропередачи или контактного провода электротранспорта.
Электротравма – результат воздействия на человека электрического тока и электрической дуги. Электрический ток, проходя через тело человека, производит термическое, биохимическое и биологическое воздействие, а электрическая дуга – термическое, световое и ультрафиолетовое воздействие.
-
Условия поражения электрическим током.
Поражение электрическим током происходит в результате прямого или косвенного прикосновения, а также недопустимого приближения человека к металлическим частям, находящимся или оказавшимся под напряжением.
Прямым называется прикосновение к неизолированным токоведущим частям, нормально находящимся под напряжением (оголенные провода, шины, клеммы, контакты и т.д.). Прикосновения к нетоковедущим, но токопроводящим (металлическим) частям оборудования, инструмента или инженерных сооружений, оказавшихся под напряжением, относятся к косвенным. Прямые прикосновения случаются, как правило, по вине человека – самого пострадавшего либо должностного лица, не обеспечившего безопасность. Косвенные прикосновения происходят из-за пробоя изоляции по тем или иным причинам, не связанным с действиями пострадавшего, и могут рассматриваться как отказ техники. Условия поражения электрическим током при прямом или косвенном прикосновениях определяются видом и параметрами электрической сети, типом прикосновения, применяемыми способом и средствами защиты, классом опасности помещения (условий работ) и степенью изоляции человека от земли (под землей понимается точка почвы с нулевым потенциалом).
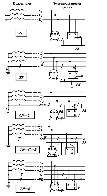
В настоящее время нашли применение следующие виды (по ГОСТ Р 50571 – 94) электрических сетей напряжением до 1 кВ для питания электропотребителей на предприятиях, в административных и жилых зданиях.
IT – сеть с изолированной нейтралью (используется только на отдельных видах предприятий, таких как шахты, рудники, торфоразработки);
TT, TN – C, TN – C, TN – S – сеть с глухозаземленной нейтралью.
Прямые прикосновения к токоведущим частям могут быть однополюсными и двухполюсными. При однополюсном прикосновении человека, стоящий на земле, касается рукой или головой неизолированных токоведущих частей. Ток протекает по пути «рука – нога» или «голова – нога». При двухполюсном прикосновении человек, изолированный от земли, двумя ногами или головой и одной рукой касается неизолированных проводов разных фаз или фазного и нулевого провода. Изоляция человека от земли может обеспечиваться сопротивлением пола и обуви. В этом случае ток проходит по пути «рука – рука» или «голова – рука».
Рис. 1. Разновидности систем электроснабжения:
2
Рис. 3. Трехфазные электрические сети с заземленной нейтралью:
а – однополюсное прикосновение; б – двухполюсное прикосновение; С, В, А, N – фазы; Iч – ток, протекающий через человека; R0 - сопротивление заземлителя в нейтральной точке трансформатора на подстанции.
Рис. 4. Напряжение прикосновения к заземленным нетоковедущим частям, оказавшимся под напряжением:
I - потенциал растекания тока в грунте; II – напряжение прикосновения; R3 – сопротивление заземлителя; Uпр1, Uпр2, Uпр3, - напряжения прикосновения; U3 – напряжение заземлителя.
Рис. 5. Напряжение шага:
Uш1, Uш2 – напряжение шага; x – расстояние от заземлителя до ближней точки касания человеком поверхности земли; а – ширина шага; U3 – напряжение заземлителя.
Наиболее опасными являются двухполюсные прикосновения во всех видах сетей, так как в этом случае человек попадает под линейное напряжение.
Однополюсные прикосновения во всех сетях с глухозаземленной нейтралью также опасны. В сетях с изолированной нейтралью вследствие очень большого сопротивления между фазами величина тока, проходящего через человека, при однополюсном прикосновении будет малой, равной величине тока утечки, и поражения не произойдет. В этом отношении сети ТT более безопасны, чем сети TT и TN. Косвенные прикосновения являются однополюсными. По опасности поражения они соответствуют прямым однополюсным прикосновениям. Величина тока, протекающего через человека при косвенном прикосновении, зависит от напряжения прикосновения. Для человека, стоящего на земле и касающегося заземленного оборудования, корпус которого оказался под напряжением прикосновения будет являться разность потенциалов руки и ноги.
Поражение человека электрическим током может произойти также вследствие его попадания под шаговое напряжение. В этом случае ток протекает в теле человека по пути «нога - нога». Напряжением шага называется разность потенциалов между двумя точками земли, на которые одновременно опирается человек при перемещении в поле растекания тока в земле.
При пробое изоляции на корпус установки, присоединенной к заземлителю, обрыве и падении находящегося под напряжением фазного провода на землю потенциалы земной поверхности или токопроводящего пола приобретают повышенные значения. Наибольший потенциал, равный потенциалу заземлителя или фазы, имеет точка земли, расположенная непосредственно над заземлителем или в месте касания упавшего провода с землей. По мере удаления от этой точки в любую сторону потенциалы точек земной поверхности снижается по закону, близкому к гиперболическому. На расстоянии 20м от заземлителя зона растекания тока заканчивается – потенциалы земли имеют нулевое значение.
2. Технические способы и средства электробезопасности.
В соответствии с государственными стандартами по электробезопасности и Правилами устройства электроустановок (ПУЭ) номенклатура видов защиты от поражения электрическим током включает в себя следующие способы и средства.
При прямых прикосновениях необходимо:
- применение защитных оболочек и ограждений;
- расположение токоведущих неизолированных частей вне зоны досягаемости;
- применение изоляции (рабочей, дополнительной, усиленной) токоведущих частей;
- использование малого напряжения;
- защитное отключение;
- блокировка опасных зон (пространств);
- применение предупредительной сигнализации, знаков безопасности;
- использование во время работ на сетях или электрооборудовании под напряжением средств индивидуальной защиты;
- контроль изоляции.
При косвенных прикосновениях необходимо:
- зануление с использованием защитных проводников;
- заземление;
- уравнивание потенциалов;
- защитное отключение;
- применение двойной изоляции;
- использование малого напряжения;
- контроль изоляции;
- электрическое разделение сети.
Технические способы и средства защиты применяются раздельно или в комплексе, так чтобы получилась оптимальная защита.
Для предотвращения случайного соприкосновения человека с неизолированными токоведущими частями или приближения к ним на опасное расстояние они должны располагаться в недоступном месте (в нише, внутренних полостях строительных конструкций и т.п.) или на недосягаемой высоте (выше уровня рабочей зоны). В том случае, если это не удается сделать, токоведущие части закрываются ограждениями или заключаются в оболочки. Ограждения выполняются различными по виду, конструктивному исполнению и способу установки. Они обычно закрывают токоведущие части не со всех сторон, поэтому обеспечивают только частичную защиту от прикосновения. Оболочки представляют собой замкнутые пространства и обеспечивают различную степень защиты, вплоть до полной защиты, от прикосновения с токоведущими частями, попадания внутрь твердых токопроводящих предметов и воды. При использовании этих способов и средств должны быть обеспечены установленные нормативные изоляционные расстояния от токоведущих частей до ограждений, оболочек, а также до находящегося вблизи человека с учетом его рабочих поз, возможных движений, применяемого инструмента и приспособлений.
Различают изоляцию рабочего места и изоляцию в электроустановках. Изоляция рабочего места как способ защиты используется при невозможности выполнения заземления, зануления и защитного отключения. На рабочем месте изолируется от земли пол, настил, площадка и т.п., а также все металлические детали, потенциал которых отличается от потенциала токоведущих частей и прикосновение, к которым является предусмотренным или возможным. Предусмотренное рабочее место изолируется таким образом, чтобы работник ни при каких условиях не смог одновременно прикоснутся к обслуживаемому электрооборудованию и каким-либо заземленным элементам здания или другого оборудования.
В электроустановках применяются следующие виды изоляции:
- рабочая изоляция - электрическая изоляция токоведущих частей (проводов, шин и т.п.), обеспечивающая предотвращение коротких замыканий в электроустановке и защиту человека от поражения электрическим током;
- дополнительная изоляция – электрическая изоляция нетоковедущих в нормальном состоянии частей электроустановки, предусмотренная дополнительно к рабочей изоляции токоведущих частей, для защиты человека в случае повреждения (пробоя) рабочей изоляции;
- двойная изоляция – электрическая изоляция, состоящая из рабочей и дополнительной изоляции;
Характеристики
Тип файла документ
Документы такого типа открываются такими программами, как Microsoft Office Word на компьютерах Windows, Apple Pages на компьютерах Mac, Open Office - бесплатная альтернатива на различных платформах, в том числе Linux. Наиболее простым и современным решением будут Google документы, так как открываются онлайн без скачивания прямо в браузере на любой платформе. Существуют российские качественные аналоги, например от Яндекса.
Будьте внимательны на мобильных устройствах, так как там используются упрощённый функционал даже в официальном приложении от Microsoft, поэтому для просмотра скачивайте PDF-версию. А если нужно редактировать файл, то используйте оригинальный файл.
Файлы такого типа обычно разбиты на страницы, а текст может быть форматированным (жирный, курсив, выбор шрифта, таблицы и т.п.), а также в него можно добавлять изображения. Формат идеально подходит для рефератов, докладов и РПЗ курсовых проектов, которые необходимо распечатать. Кстати перед печатью также сохраняйте файл в PDF, так как принтер может начудить со шрифтами.















