4855 (643268), страница 2
Текст из файла (страница 2)
- усиленная изоляция – улучшенная рабочая изоляция с такой же степенью защиты от поражения электрическим током, как и у двойной изоляции.
В настоящее время промышленность выпускает электропотребители различных классов защиты от поражения электрическим током.
Для электроустановок, имеющих только рабочую изоляцию, установлен 0 – й класс. В производственных условиях эти установки должны в обязательном порядке иметь зануление или заземление, а также другие виды защиты. Бытовые электроприборы этого класса не имеют дополнительные электрические защиты, поэтому их использование допускается только в помещениях без повышенной опасности.
Электроустановкам, имеющим двойную изоляцию, присвоен II – класс. Все электроинструменты с движущимся рабочим органом, ручные светильники, а также большинство электроприемников имеют II- й класс защиты от поражения электрическим током. Корпусные части таких инструментов защищают от поражения электрическим током не только при пробое изоляции внутри корпуса, но и при случайном прикосновении рабочего органа к токоведущим частям обрабатываемого изделия. Они без дополнительных средств защиты могут применяться в помещениях любых категорий опасности. Электроустановки, имеющие двойную изоляцию и металлический корпус, запрещается занулять или заземлять. На паспортной табличке таких изделий помещается специальный знак - квадрат внутри квадрата.
Усиленная изоляция используется только в случаях, когда двойную изоляцию затруднительно применять по конструктивным причинам, например в выключателях, щеткодержателях и др.
Малое напряжение – напряжение не более 42В переменного и не более 100В постоянного тока, применяемое для уменьшения опасности поражения электрическим током. Малое напряжение используется для питания ручного электрифицированного инструмента, переносных светильников для помещений с повышенной и особой опасностью, местного освещения на станках, светильников общего освещения при высоте их подвеса менее 2,5м. Изделиям, рассчитанным на малое напряжение, присвоен III – й класс защиты от поражения электрическим током.
Источниками малого напряжения являются гальванические элементы, аккумуляторы, понижающие трансформаторы, выпрямители и преобразователи. Корпуса электроприемников малого напряжения не требуется занулять или заземлять, кроме электросварочных устройств и установок, работающих во взрывоопасных помещениях, а также при работах в особо опасных условиях.
Защитное отключение – это быстродействующее автоматическое отключение всех фаз участка сети, обеспечивающее безопасное для человека сочетания тока и времени его прохождения при замыкании на корпус (или человека), а также снижения уровня изоляции ниже определенного предела. Функция устройств защитного отключения (УЗО), которые имеют быстродействие от 0,03 до 0,2с, заключается в ограничении не величины тока, проходящего через тело человека, а времени его протекания.
Основаны УЗО на различных принципах действия. Наиболее совершенным являются УЗО, реагирующие на ток утечки. Такие устройства защищают человека от поражения электрическим током не только в случае прикосновения к металлическим корпусам, оказавшимся под напряжением из-за повреждения изоляции, но и при прямом прикосновении к токоведущим частям. Кроме того, УЗО защищают электроустановки от возгораний, первопричиной которых являются точки утечки, вызванные ухудшением изоляции.
Устанавливаться УЗО могут на вводе в здание, на групповых линиях или на линии питания отдельной электроустановки.
Блокировка опасных зон исключает доступ к токоведущим частям, пока с них не снято напряжение, либо обеспечивает автоматическое снятие напряжения при появлении возможности прикосновения или опасного приближения к токоведущим частям. Часто блокировки применяют совместно со звуковыми или световыми сигнальными устройствами. Блокировочные устройства основаны на различных принципах действия и разнообразны по конструктивному принципу действия и разнообразны по конструктивному устройству. Наиболее распространенны механические, электрические и фотоэлектрические блокировки.
Сигнализация и знаки безопасности применяются в дополнение к другим средствам защиты. Чаще всего они используются для предупреждения о наличии напряжения на электроустановке или недопустимом приближении к токоведущим частям, находящимся под напряжением.
Средства индивидуальной электрозащиты (СИЭЗ) предназначены для защиты человека, который ими пользуется, от поражения электрическим током, воздействия электрической дуги и электромагнитного поля. Они подразделяются на основные и дополнительные.
К основным относятся средства защиты, изоляция которых длительно выдерживает рабочее напряжение электроустановки и которые позволяют прикасаться к токоведущим частям, находящимся под напряжением. В группу основных СИЭЗ входят: в электроустановках напряжением выше 1000В – диэлектрические перчатки толщиной 0,7мм, инструмент с изолирующими рукоятками и указатели напряжения; в электроустановках напряжением выше 1000В – изолирующие штанги, изолирующие и электроизмерительные клещи, резиновые перчатки толщиной 1,2мм.
Рис. 6. Средства индивидуальной защиты:
а – основные; б – индивидуальные; 1 – клещи для вставки предохранителей; 2 – гаечный ключ; 3 – отвертка; 4, 6, 9 – указатель напряжения; 5 – пассатижи; 7 – перчатки резиновые диэлектрические; 8 – токоизмерительные клещи; 10, 11 – галоши и боты диэлектрические; 12 – сапоги диэлектрические; 13 – туфли антистатические; 14 – резиновый коврик и дорожка; 15 – изолирующая подставка.
К дополнительным относятся средства защиты, которые сами по себе не могут при данном напряжении обеспечить защиту от поражения, а применяются совместно с основными средствами. В группу дополнительных СИЭЗ входят: в электроустановках напряжением до 1000В диэлектрические сапоги, галоши, коврики и изолирующие подставки; в электроустановках напряжением выше 1000В – диэлектрические болты, коврики и изолирующие подставки.
Поддержание сопротивления изоляции токоведущих частей на высоком уровне уменьшает вероятность короткого замыкания, замыкания на землю или на корпус электропотребителя, поражения человека электрическим током.
Контроль изоляции должен осуществляться при приемо-сдаточных испытаниях новых или отремонтированных электроустановок и в процессе их эксплуатации. В сетях с глухозаземленной нейтралью контроль изоляции должен проводится периодически: в помещениях без повышенной опасности – не реже одного раза в год, в повышениях с повышенной опасности и особо опасных – не реже одного раза в 6 мес.
Согласно ПУЭ сопротивление изоляции в установках напряжением до 1000В должно быть не менее 0,5Мом на фазу. Контроль изоляции проводится на специальных стендах или с помощью переносных приборов – мегаомметров. При контроле изоляции сеть или электроустановка должны быть обесточены. Измерения сопротивления изоляции проводятся между фазами и каждой фазы относительно земли. В настоящее время разработаны приборы и методы непрерывного контроля изоляции электрических сетей без снятия напряжения, которые являются более удобными и повышают уровень безопасности.
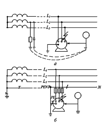
Зануление–это преднамеренное соединение с нулевым защитным проводником металлических нетоковедущих частей, которые могут оказаться под напряжением. Зануление применяется в электроустановках, питающихся от сетей напряжением до 1кВ с глухозаземленной нейтралью видов TN – C, TN – C – S, TN – S.
При пробое изоляции одна из фаз попадает на корпус установки, который через защитный проводник PE соединен с нулевым рабочим проводником N или с совмещенным рабочим и защитным проводником PEN. Возникает однофазное короткое замыкание, под действием тока которого срабатывает защита электроустановки, и поврежденная часть установки отключается от питающей сети. Чем быстрее произойдет отключении, тем эффективнее защитное отключение, тем эффективнее защитное действие зануления, так как пока корпус находится под напряжением, опасность поражения током сохраняется. С целью обеспечение требуемой безопасности для каждого уровня фазного напряжения сети нормированы наибольшие значения времени отключения и полного сопротивления цепи «фаза - нуль».
При случайном обрыве проводника PEN в наружной питающей линии или во внутренней разводке на участке ввода до электроустановки будет иметь место вынос потенциала фазы на все зануленные металлические корпуса электроприемников, подключенных после точки обрыва по ходу энергии. Цепь выноса потенциала: фаза – рабочая обмотка электроустановки – нулевой рабочий проводник - точка соединения нулевого рабочего и защитного проводников – нулевой защитный проводник – корпус. Наиболее вероятен такой обрыв в системе TN – C.
Рис. 7. Защитное заземление (а), зануление (б):
L1,L2,L3 – фазы; N – нулевой рабочий провод; PE – защитный проводник; PEN – защитный проводник, совмещенный с нулевым проводом.
Для устранения этой опасности в сетях с глухозаземленной нейтралью выполняется многократное повторное заземление нулевого провода, а также применяются разновидности систем TN – C, TN – C – S и TN – S, отличающиеся между собой уровнем безопасности.
В системе TN – C – S однофазные линии внутренней проводки выполняются на двух, а трехпроовдными с выводом на розеточный разъем защитного проводника PE, заземленного в распределительном электрощите. В этой системе питания обрыв нулевого провода N не влияет на безопасность, а вынос потенциала возможен лишь при условии одновременного обрыва проводника PEN в питающей линии и повторного заземления проводника PE, что маловероятно.
В системе TN – S проводник PEN отсутствует, а значит, вынос потенциала фазы на корпус при обрыве нулевого или защитного проводников исключен. Эта система обладает наибольшей надежностью и безопасностью, но требует значительных дополнительных затрат, связанных с прокладкой дополнительного проводника от потребителя до подстанции. В связи с этим она не нашла широкого применения.
Заземление – преднамеренное соединение металлических частей электроустановок, нормально находящихся под напряжением с землей. Принцип действия защитного заземления заключается в том, что человек, который прикоснулся к корпусу оборудования, оказавшегося под напряжением, включается в цепь замыкания тока на землю параллельно с заземлителем. Так как сопротивление заземлителя значительно меньше сопротивления тела человека, большая часть тока пройдет через заземлитель и лишь незначительная – через тело человека. Областью применения защитного заземления в электроустановках до 1кВ являются системы электроснабжения видов IT и TT.
Защитное заземление электроустановок осуществляется их присоединением к естественным и искусственным заземлителям. В качестве естественных заземлителей используются любые электропроводящие элементы конструкции зданий и сооружений. К искусственным заземлителям относятся электроды, специально забиваемые в грунт.
Уровень защиты системы заземления в основном зависит от двух факторов – величины сопротивления заземления и надежности контакта в цепи «оборудование - заземлитель».
В качестве защитного устройства в системе ТТ следует рассматривать любое защитное устройство, отключающее питание от поврежденной электроустановки, однако высокий уровень электробезопасности в этой системе может обеспечить защитное заземление только в совокупности с УЗО, реагирующим на дифференциальный ток утечки.
Сущность способа уравнивания потенциалов как защитной меры от поражения током при косвенном прикосновении заключается в создании на определенной площади, на которой установлено электрооборудование и находятся люди, поля одинаковых потенциалов, равному потенциалу заземлителей, к которым присоединены корпуса этого оборудования.
В соответствии с законом распределения напряжения прикосновения ток, протекающий через тело человека, касающегося заземленного корпуса оборудования с поврежденной изоляцией, будет уменьшаться по мере приближения точки опоры человека к заземлителю. С этой точки зрения заземлитель следует располагать как можно ближе к оборудованию. Для устранения этого противоречия по всей площади пола помещения необходимо иметь равные потенциалы точек поверхности, близкие по величине потенциалу заземлителя. Это достигается устройством системы заземления в виде одного заземлителя, а в виде замкнутого контура, состоящего из совокупности вертикальных и горизонтальных металлических электродов, соединенных между собой и рассредоточенных по всей площади пола помещения или рабочей зоны.















