4667 (643158), страница 2
Текст из файла (страница 2)
В случае воспламенения газа при утечке его из газопровода низкого давления тушение пламени производится путем замазывания места выхода газа глиной; набрасывания на пламя мокрых брезентов или кошмы; сбивания пламени струей воды, воздуха или инертного газа (азота, углекислого газа) давлением 392266-588399 Па (4-6 атмосфер).
На газопроводах высокого и среднего давления тушение пламени осуществляется путем частичного закрытия задвижек для снижения давления газа не ниже 392 Па (40 мм ртутного столба), после чего пламя обязательно гасится одним из указанных выше способов.
5. Технологические особенности при сварке и резке трубопроводов в колодцах
При наличии горючего газа производить сварочные работы не разрешается. Крышка люка и перекрытие колодца при газовой сварки и резке должны быть сняты.
Газовая сварка и резка на действующих газопроводах ведутся при условии, если давление газа в них находится в пределах 392-13330 Па (40-100 мм водного столба), что должно проверяться во время работы по манометру. Если давление газа превышает верхний указанный предел, оно должно быть снижено. При снижении давления ниже 392 Па (40 мм водного столба), сварка и резка должны быть прекращены.
СОВРЕМЕННЫЕ СПОСОБЫ ОЧИСТКИ ВЫБРОСОВ В АТМОСФЕРУ
Выбросы в атмосферу вредных веществ ведут к нарушению экологического равновесия природной среды. Основными способами очистки воздуха от паров и газов являются сорбционные и окислительные (Рис.2.3.9.). При применении сорбционных методов вредные вещества извлекаются из газового потока твердыми или жидкими поглотителями. Собственно сорбционные способы можно разделить на две большие группы - адсорбционные и абсорбционные способы.
Адсорбционный метод. При применении адсорбционного метода улавливаются пары многих органических растворителей органических и неорганических веществ. Принцип построения установок очень прост и практически постоянный для работы по улавливанию различных газов. Адсорбционная установка состоит из двух адсорберов, заполненных твердым поглотителем (адсорбентом) и вспомогательного оборудования. Загрязненная газо-воздушная смесь, проходя через слой адсорбента, очищается от вредных примесей, а адсорбент насыщается поглощенным веществом. После полного насыщения поглотитель заменяется новым, а старый регенерируется. Регенерация, как правило, осуществляется обдувкой водяным паром. В результате такой работы, поглотитель очищается, а вредные вещества конденсируется в виде ценных растворителей, и возвращаются в производство. В качестве адсорбентов широко используются вещества с высокоразвитой удельной поверхностью и пористостью, такие как активированный уголь, пемза, силикагель, окись алюминия, цеолиты и другие поглотители. Достоинством адсорбционного метода является высокая эффективность очистки выбросов от вредных (ядовитых) веществ, которая достигает 97-99%. Возвращение (рекуперация) уловленного вещества в производства осуществляется в виде товарного продукта. Недостатками адсорбционного метода является высокая эффективность очистки вредных выбросов только при низких температурах. Однако вредные выбросы производства в атмосферу в большинстве своем имеют высокую температуру, что затрудняет применение адсорбционного способа очистки. Существенными недостатками являются ограниченный срок службы адсорбента и большие энергозатраты, связанные с его регенерацией, низкие объемные скорости (м3/с) очистки, что приводит к увеличению адсорбентов.
Абсорбционный метод основан на физическом и химическом поглощении жидкими абсорбентами токсичных газообразных веществ. Обезвреживание производится в скрубберах, барботажных и пенных аппаратах, ловушках, трубах Вентури. В абсорбционной колонне промывочная жидкость, (с которой контактируют загрязненные газы), может быть представлена водой, едким натром, известковым молоком, аммиачной щелочью, раствором соды и др. Эффективность очистки с применением аппаратов различных конструкций колеблется от 90- 99%.
К недостаткам абсорбционного способа очистки вредных выбросов в атмосферу можно отнести следующие. Это громоздкое оборудование, требующее больших производственных площадей; образование твердых осадков, забивающих оборудование; возникновение коррозионных сред; охлаждение вредных выбросов до температур 30С –40С; нейтрализация сточных вод.
Для санитарной очистки выбросов, имеющих многокомпонентный состав вредных горючих веществ, применяют окислительные способы. Окислительные способы можно разделить на две большие группы – прямое сжигание и каталитическое дожигание.
Каталитическое дожигание
Предприятия промышленности часто выбрасывают в атмосферу вредные выбросы с очень малой концентрацией (до 2 г/м3) токсичных горючих газов. Прямое сжигание их экономически не выгодно, так как для поддерживания высокой температуры (950С – 1300С) требуется большой дополнительный расход топлива.
Процесс очистки газовоздушной смеси при каталитическом дожигании протекает при низкой температуре 250С – 450С, с разрушением молекул органического вещества до СО2 (диоксида углерода) и H2O. Преимущество данного способа заключается в его универсальности, так как можно очищать выбросы с различными вредными горючими веществами; простотой аппаратурного оформления; небольшими габаритами; пониженным расходом топлива (на 20 – 60 % меньше, по сравнению с прямым сжиганием) за счет применения катализаторов; высокой эффективностью очистки (97
2%); отсутствием побочных продуктов очистки.
Прямое сжигание
Если выбросы в атмосферу имеют многокомпонентный состав горючих газов и высокую концентрацию, то необходимо обезвреживать выбросы прямым сжиганием в специальных топочных устройствах (нейтрализаторах) или в открытом диффузионном факеле.
Экономически каталитический способ в три раза дешевле других методов очистки. Выбор технологической схемы очистки и конструкции аппаратов зависит от конкретных условий производства, количества, температуры выбросов, состава и концентрации горючих компонентов и других факторов.
Рис. 2.3.10. Каталитические нейтрализаторы НК и НКД.
Принципиальная схема установки каталитического дожигания (2.13.) включает вентилятор – для протягивания загрязненного воздуха; теплообменник – подогреватель, в котором воздушная смесь нагревается до определенной температуры и контактный аппарат, где на катализаторе при повышенной температуре происходит деструктивное окисление токсичных соединений.
Катализатор должен характеризоваться большой удельной поверхностью, стойкостью к контактным ядам, высокой механической прочностью, термостойкостью, легкостью регенерации, обладать сроком службы от 3 до 5 лет.
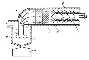
Рис.2.3.11. Схема нейтрализатора выхлопных газов с каталитическим дожиганием: 1 – катализатор; 2 – фильтр грубой очистки; 3 – фильтр тонкой очистки; 4 – масло и топливосборник; 5 – лопатки для выравнивания газового потока; 6 – теплоизоляционный слой; 7 – газы от двигателя; 8 – выход газов в атмосферу
Материалом для катализаторов может быть силикагель, окись алюминия, окислы не благородных металлов и т.д. По форме катализаторы могут быть с упорядоченной структурой и насыпные катализаторы (рис.3.5.2.). Насыпные катализаторы представлены в виде проволок, гранул, сеток. Однако они создают высокое сопротивление газовому потоку до 2943 Па и выше. Катализаторы с упорядоченной структурой очень эффективны и по форме напоминают гофрированную ленту, фарфоровые стержни.
Таким образом, для предупреждения загрязнения атмосферы промышленными выбросами необходимо более широко и квалифицировано применять современные способы очистки и своевременно контролировать их эффективную работу.















