112235 (640817), страница 3
Текст из файла (страница 3)
Л – фигура, имеющая начало, но не имеющая конца (луч).
М – знак сравнения (меньше).
Н – числа, используемые для счета предметов (натуральные).
II команда
Б – знак сравнения (больше).
К – прямоугольник, у которого все стороны равны (квадрат).
П – сумма длин всех сторон (периметр).
Т – фигура, состоящая из трех точек, трех отрезков, попарно их соединяющих (треугольник).
У – фигура, ограниченная двумя лучами, выходящими из одной точки (угол).
Условие: математическое понятие начинается с той же буквы, что и животное, например, лось (л) и т.д.
6. Сосчитайте сколько здесь животных. Перечислите их. Какие это животные?
Домашние: гусь, коза, корова, лошадь, свинья, петух, курица (7).
На плакате контурами изображены 8–10 животных (желательно разноцветными красками).
VII. Задание всей команде “Все о бобрах”.
В нашей стране водится много бобров. Бобр – крупный грызун, ведет полуводный образ жизни, обитает по лесным рекам, сооружает из ветвей и ила домики, поперек реки делает плотины длиной 5–6 м.
Задание 1.
Узнайте длину тела бобра (в дециметрах). Поможет вам удивительный квадрат:
| 5,9 | 6,3 | 3,6 |
| 2.3 | 2,7 | 0 |
| 3,7 | 4,1 | 1,4 |
А) из первой строки выберите наименьшее число (3, 6)
Б) из второй стоки наибольшее число (2, 7)
В) из третьей число, которое не является наименьшим и не является наибольшим (3, 7)
Г) найдите сумму выбранных чисел: 3,6 + 2,7 + 3,7 = 10,0 (дц ) или (1 метр)
Задание 2.
Узнайте массу бобра (в кг)
(25 кг)
Как называются фигуры, которые использовались в задании?
(Круг, четырехугольник, шестиугольник, прямоугольник, треугольник).
Задание 3.
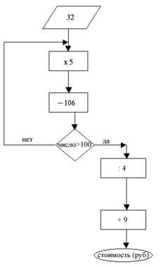
Узнать сколько стоят 100 граммов жира бобра (в рублях) поможет вам схема:
Задание 4
а) В строки таблицы впишите название чисел: 900, 600, 1000, 500. В одном из столбцов прочтите название числа, показывающего сколько минут бобр может находиться под водой.
(Пять минут).
б ) Расскажите , что вы узнали о бобрах.
в) Скороговорка: “по бревну бредут бобры”.
VIII. Конкурс художников.
Соедините точки по порядку и назовите получившееся животное (см. Приложение №3).
(Верблюд)
IX. Заключительный конкурс капитанов.
1. Отгадать название животного:
Правда, дети, я хорош, на большой мешок похож. По морям в былые годы обгонял я пароходы. (Дельфин)
2. Отгадать шараду:
Я по России протекаю, я всем известна, но когда ко мне прибавит букву с краю, свое значенье я теряю и птицей становлюсь тогда. (Иволга)
X. Домашнее задание.
1. Инсценирование сказки , в которой есть и математические понятия, и животные.
2. Считалочки, в которых упоминаются животные.
XI. Подведение итогов.
Награждение.
-
За победу – медаль со львом (лев – царь зверей, математика – царица всех наук).
-
За участие – медаль с лисой (в будущем будем хитрее).
Игры, конкурсы, фокусы с болельщиками.
1. Какого числа здесь не хватает, чтобы сумма была равной 60? (Собака с цифрами)
2. Помогите колобку пройти через лес, чтобы его не съели звери.
3. Загадки о животных.
Пришли мужички без топоров,
Срубили избу без углов. (Муравьи и муравейник)
Лежит – молчит
Подойдешь – заворчит.
Кто к хозяину идет
Она знать дает. (Собака)
Мохнатенька
Усатенька
Лапки мягоньки
А коготки востры. (Кошка)
Белый по белому
Написал белым
Рыжая пойдет
Белого найдет. (Лиса заяц).
Лежала под елками
Подушечка с иголками
Лежала, лежала
Да побежала. (Еж).
4. Фокусы:
1) Угадай животное.
2) Гипноз (любимое животное).
3) Гипноз (вес животных).
5. Считалки с упоминанием животных (1 класс).
6. Кто быстрее сделает ослика? (см. Приложение №4)
Кисточкой – хвостик,
Мохнатые ножки
Маленький ослик
Стоит на траве
Ослик умеет двигать ушами
И обожает играть с малышами!
7. Поиграем-угадаем!
Что вы знаете, ребятки,
Про мои стихи, загадки?
Где отгадка, там конец
Кто подскажет – молодец!
Важно по двору ходил
С острым клювом крокодил,
Головой весь день мотал,
Только то, верно, был
Никакой е крокодил,
А индюшек лучший друг.
Угадайте – кто? (Индюк!)
Да! Индюк! Признаться, братцы,
Трудно было догадаться!
С индюком случилось чудо –
Превратился он в верблюда!
Стал он лаять, и рычать,
По земле хвостом стучать.
Я запуталась, однако
Он верблюд или …. Кто? (Собака).
Не зовут собаку Шавкой,
И не спит она под лавкой,
А глядит она в окошко
И мяукает … Как кто? (Кошка).
8. Шутка
Почему, почему
Говорят коровы – му
Кошки – мяу
Гав – собаки
Овцы – ме
Козы – ме
А киты – ни бе ни ме?
Почему киты молчат,
Ничего не говорят,
Хоть имеют киты
Преогромные рты?
(Потому что киты в рот набрали воды).
9. Отвечайте, правда ли
В этот час, веселый час
Вам загадки я припас
Вам загадки я припас
Уж послушаю я вас.
Любит кошка на обед
Виноград и винегрет
Отвечайте, правда ли?
Ночью в дождик, как пастух
Вывел кур гулять петух
Отвечайте, правда ли?
Лебедь плавает в пруду
Спит на яблоне в саду
Отвечайте, правда ли?
Закудахтал пес Барбос
И в гнезде яичко снес
Отвечайте, правда ли?
Лапой хвать, зубами – щелк
Хищник – тигр и хищник – волк
Отвечайте, правда ли?
Верно, дети, молодцы!
Вам в награду леденцы
Но растаял леденец
И стихам пришел конец.
10. Игра “Сосчитай-ка”.
Вместо чисел, делящихся на 2 – “гав-гав”, на 3 – “мяу-мяу”.
11. Кто внимательней? (Игрушки зверей).
12. Пословицы и поговорки о животных и упоминание числа.
Добр бобр до бобрят.
Во поле затопали кони.
В пруду у Поликарпа –
Три карася, три карпа.
Добры бобры идут в боры.
Идет с козой косой козел.
Краб крабу сделал грабли,
Подарил грабли крабу.
Грабь граблями гравий, краб.
Кукушка кукушонку
Купила капюшон,
Надел кукушонок капюшон,
В капюшоне он смешон.
Перепелка перепелят прятала от ребят.
Проворонила ворона вороненка.
Уже ужи в луже.
У четырех черепашек по четыре черепашонка.
Литература
1. Токмакова И. “Зоопарк”
2. Журналы: “Мурзилка”, “Миша”, “Веселые картинки”.
3. “Математика вне уроков”, Брянск, 1994г.
4. Коваленко В.Г. “Дидактические игры на уроках математики”, М, Просвещение, 1990г.
5. Стихи:
А.Босев “Поиграли-угадали”
И. Мазнин “Шутка”
Г. Чичинадзе “Правда, ли?”
Приложение 1
Приложение 2
АЛФАВИТ
| А | Б | В | Г | Д | Е | Ё | Ж | З |
| И | Й | К | Л | М | Н | О | П | Р |
| С | Т | У | Ф | Х | Ц | Ч | Ш | Щ |
| Ъ | Ы | Ь | Э | Ю | Я |
|
|
|
Приложение 3
Приложение 4
Приложение 5
Внеклассное мероприятие по математике на тему: "Путешествие в мир математики". 5-й класс
Андруша Марина Николаевна, учитель математики
Предмет математики настолько серьезен, что полезно не упускать случаев делать его немного занимательным.
Б.Паскаль
Цели и задачи:
-
развивать математические способности, сообразительность, любознательность, логическое мышление, укреплять память учащихся;
-
развивать и укреплять интерес к математике;
-
развивать коммуникативные возможности учащихся в процессе подготовки к внеклассным мероприятиям по предмету;
-
познакомить учащихся с известными учеными математиками древности и нашего времени.
Место проведения: актовый зал, 4 кабинета математики.
Форма проведения: путешествие по станциям “Историческая”, “Блиц-вопрос”, “Умники и умницы”, “Творческая мастерская”.
Предварительная подготовка:
-
создание жюри и обеспечение его необходимыми материалами;
-
помощь учащимся в организации команд, выборе капитанов;
-
в наглядном оформлении и подготовке “Визитной карточки” команд;
-
подбор материала для конкурсов.
Оборудование: слова Б.Паскаля на доске, эмблемы команд, математические газеты, плакаты болельщиков, карточки с заданиями, макет из проволоки, портреты Великих математиков, маршрутный лист и оценочная карта для команд, призы.
Ход игры
Вступительное слово учителя:
С тех пор, как существует мирозданье,
Такого нет, чтоб не нуждался в знанье.
Какой мы не возьмем язык и век, -
Всегда стремился к знанью человек.
Из выше сказанных слов становится ясно, что в зале собрались именно те, кто “всегда стремился к знанью”.
Наше мероприятие посвящено самой точной, самой важной, самой нужной из наук - математике!
Математика – наука















