151170 (631537), страница 4
Текст из файла (страница 4)
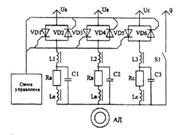
При увеличении угла включения тиристоров a в целях ограничения действующего значения фазного тока продолжительность интервалов отключенного состояния возрастает, и для обеспечения непрерывности тока в паузе (а также соответствия направления его протекания полярности сигнала модуляции) емкость С следует увеличить.
Индуктивности L1, L2, L3 не участвуют в формировании тока в интервалах отключенного состояния, однако включение дросcелей в продольную ветвь фильтра необходимо для ограничения бросков зарядного тока конденсаторов. Значение индуктивности выбирается из условия ограничения тока до допустимого для тиристоров значения или из условия обеспечения электромагнитной совместимости преобразователя с сетью.
В результате определены следующие параметры элементов фильтра в преобра-зователе: С1…С3 = 100 мкФ, L1…L3= 45 мГн. Емкость С рассчитывается по формуле С і 4LН/(
), выбранное значение соответствует минимально возможному при соблюдении условия непрерывности протекания тока в обмотках статора АД в интервалах откпюченного состояния.
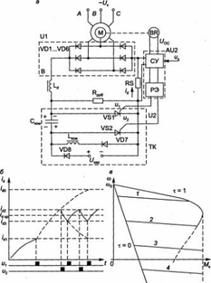
Экспериментально полученные механические характеристики АД 4А71А4УЗ (Рном = 0,55 кВт) при его работе с данным преобразователем показаны на рис. 2 (выходная частота МНПЧ fвых = fс/7, где fс – частота питающей сети; действующее значение фазного тока равно номинальному при угле включения тиристоров a = 900 эл.). Максимальное значение электромагнитного момента, развиваемого АД, в схеме без фильтра составило около 0,45 Мнои, с фильтром – до 0,8Мном. Пусковой момент увеличился более чем вдвое.
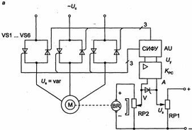
Рис. 1. Схема тиристорного преобразователя с LC-фильтрами
Рис. 2. Экспериментальные механические характеристики АД типа 4А71А4УЗ в двигательном режиме при квазичастотном регулировании (m = М / Мном):
1 – без фильтра, 2 – с фильтром
Функциональные схемы управления АД.
Т-образная схема замещения АД
Функциональная схема электропривода с АД и регулятором напряжения
Схема тиристорного регулятора напряжения (а) и форма напряжения на статоре АД при различных значениях угла регулирования (б, в)
Функциональная схема замкнутой системы электропривода с АД и ТРН (а) и включение тиристоров для реверсивного управления (б)
Схема импульсного регулятора скорости АД на симмисторах в цепи ротора
Импульсное регулирование в цепи ротора АД:
а – электрическая схема; б – временные диаграммы работы регулятора; в-механические характеристики в замкнутой системе
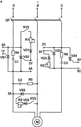
Для управления асинхронным двигателем могут использоваться тиристоры в сочетании с релейно-контакторными аппаратами. Тиристоры применяются в качестве силовых элементов и включаются в статорную цепь, релейно-контакторные аппараты включаются в цепь управления.
Используя тиристоры в качестве силовых коммутаторов, можно на статор при пуске подавать напряжение от нуля до номинального значения, ограничивать токи и моменты двигателя, осуществлять эффективное торможение либо шаговый режим работы. Такая схема приведена на рис. 1.33.
Силовая часть схемы состоит из группы тиристоров VS1…VS4, включенных встречно-параллельно в фазы Аи С. Между фазами Аи В включен короткозамыкающий тиристор VS5. Схема состоит из силовой цепи (рис. 1.33, а), цепи управления (рис. 1.33, б) и блока управления тиристорами – БУ (рис. 1.33, в).
Для пуска двигателя включается автоматический выключатель QF, нажимается кнопка SB1 «Пуск», в результате чего включаются контакторы КМ1 и КМ2. На управляющие электроды тиристоров VS1…VS4 подаются импульсы, сдвинутые на 60е относительно питающего напряжения. К статору двигателя прикладывается пониженное напряжение, что приводит к снижению пускового тока и пускового момента.
Рис. 1.33. Тиристорное управление асинхронным двигателем с короткозамкнутым ротором
Размыкающий контакт КМ1 отключает реле KV1 с выдержкой времени, которая определяется резистором R7 и конденсатором С4. Размыкающими контактами реле KV1 шунтируются соответствующие резисторы в блоке управления, и на статор подается полное напряжение сети.
Для торможения нажимается кнопка SB2 «Стоп». Схема управления теряет питание, отключаются тиристоры VS1…VS4. Это приводит к тому, что на период торможения включается реле KV2 за счет энергии, запасенной конденсатором С5, и своими контактами включает тиристоры VS2. и VS5. Через фазы А и В статора проходит постоянный ток, который регулируется резисторами R1 и R3. Обеспечивается эффективное динамическое торможение.
















