4641 (630157), страница 5
Текст из файла (страница 5)
Род и частота токов в значительной степени определяют исход поражения. Наиболее опасным является переменный ток с частотой 20—100 Гц.
Токи частотой свыше 500 000 Гц не оказывают раздражающего действия на ткани и поэтому не вызывают электрического удара. Однако они могут вызвать термические ожоги.
Переменный ток опаснее постоянного, однако при высоком напряжении (более 500 В) опаснее постоянный ток. Из возможных путей протекания тока через тело человека (гол, - рука, гол, - ноги, рука - рука, нога - рука, нога - нога и т. д.) наиболее опасен тот, при котором поражается головной мозг (гол, - руки, гол, - ноги), сердце и легкие (руки - ноги). Неблагоприятный микроклимат (повыш, температура, влажность) увеличивает опасность, так как влага (пот) понижает сопротивление кожных покровов.
29. Описать типовые случаи поражения электрическим током при касании к электрической сети
Действие электрического тока на живую ткань носит разносторонний и своеобразный характер. Проходя через организм человека, электроток производит действия:
-
термическое: проявляется ожогами отдельных участков тела, нагревом до высокой температуры органов, расположенных на пути тока, вызывая в них значительные функциональные расстройства
-
электролитическое: выражается в разложении органической жидкости, в том числе крови, в нарушении ее физико-химического состава
-
механическое: приводит к расслоению, разрыву тканей организма в результате электродинамического эффекта, а также мгновенного взрывоподобного образования пара из тканевой жидкости и крови
-
биологическое: проявляется раздражением и возбуждением живых тканей организма, а также нарушением внутренних биологических процессов.
Это многообразие действий электрического тока нередко приводит к различным электротравмам, которые условно можно свести к двум видам:
-
местным электротравмам: электрические ожоги, электрические знаки, металлизация кожи, механические повреждения и электроофтальмия
-
общим электротравмам (электрическим ударам).
Местные электротравмы — это четко выраженные местные повреждения тканей организма, вызванные воздействием электрического тока или электрической дуги.
Электрические ожоги могут быть вызваны протеканием тока через тело человека (токовый или контактный ожог), а также воздействием электрической дуги на тело (дуговой ожог).
Электрические знаки — это четко очерченные пятна серого или бледно-желтого цвета диаметром 1—5 мм на поверхности кожи человека, подвергшегося действию тока. Электрические знаки безболезненны, и лечение их заканчивается, как правило, благополучно.
Meталлизация кожи — это проникновение в верхние слои кожи мельчайших частичек металла, расплавившегося под действием электрической дуги.
Механические повреждения являются следствием резких непроизвольных судорожных сокращений мышц под действием тока, проходящего через тело человека. В результате могут произойти разрывы кожи, кровеносных сосудов и нервной ткани, вывихи суставов и даже переломы костей.
Электроофтальмия — воспаление наружных. оболочек глаз, возникающее в результате воздействия мощного потока ультрафиолетовых лучей электрической дуги. Обычно болеэнь продолжается несколько дней.
Электрический удар — это возбуждение живых тканей организма проходящим через него электрическим током, сопровождающееся непроизвольными судорожными сокращениями мышц. Различают следующие четыре степени ударов: I — судорожное сокращение мышц без потери сознания; II — судорожное сокращение мышц с потерей сознания, но с сохранившимся дыханием и работой сердца; III — потеря сознания и нарушение сердечной деятельности или дыхания (либо того и другого вместе); IV — клиническая смерть, т. е. отсутствие дыхания и кровообращения.
Клиническая («мнимая») смерть — переходный процесс от жизни к смерти, наступающий с момента прекращения деятельности сердца и легких.
Биологическая (истинная) смерть — необратимое явление, характеризующееся прекращением биологических процессов в клетках и тканях организма и распадом белковых структур; она наступает по истечении периода клинической смерти.
30. Процесс возникновения и накопления зарядов статистического электричества. Отрицательное воздействие СЭ. Защита от СЭ
Электростатические заряды могут возникнуть в результате прикосновения 2-х твёрдых тел, 2-х жидкостей или при дроблении тел.
Разряды статического электричества могут явиться причиной взрыва, пожара, появлению брака продукции.
Человек воспринимает разряды электричества в виде резких уколов. При разности потенциалов в 3000 В достаточно для воспламенения практически всех горючих газов и жидкостей, а 5000 В – даже текстильную пыль.
Электростатические заряды могут возникнуть: при разбрызгивании краски – 5000 В, при движении машины – 3000 В.
Защита
-
отвод зарядов стат. Электричества заземлением
-
отвод с пом.ум-я эл. сопротивления контактирующих тел
-
снижение интенсивности возникновения зарядов СЭ
-
нейтрализация зарядов СЭ (индукционные, радиоизотопные, комбинированные ионизаторы воздуха)
-
отвод зарядов, накопившихся на людях (спецбраслет, пояс)
31. Защита от СЭ. Молниезащита
Ежедневно44 тыс.разрядов, t=300000С, величина тока в начале разряда J150-200 кА. (0,1А считается смертельной для человека), мах прод-ть разряда – 0,1 с.
молниеотводы состоят из 3 частей: молниеприемник, токопров. часть, зазем. устр-во.
-
м.б. стержень – один или многостержневой, тросы, сетчатые.
Любой молниеприемник имеет защитную зону и все, что находится внутри данной защитной зоны с определенной гарантией защищено от прямых ударов молнии.
Одностор. Молниеприемнок имеет защитную зону в виде конуса с ломаной образующей, основанием которого является окружность r=1,5h, h – высота молниеприемника.
1
.rx=1,5(h-1,25hx) при 0
2
. rx=0,75(h-hx) при 2/3h
Защита от СЭ
-
отвод зарядов стат. Электричества заземлением
-
отвод с пом.ум-я эл. сопротивления контактирующих тел
-
снижение интенсивности возникновения зарядов СЭ
-
нейтрализация зарядов СЭ (индукционные, радиоизотопные, комбинированные ионизаторы воздуха)
-
отвод зарядов, накопившихся на людях (спецбраслет, пояс)
32. Что такое напряжение шага. От чего зависит его величина. Поведение человека
Напряжением шага (шаговым напряжением) называется напряжение между двумя точками цепи тока, находящихся одна от другой на расстоянии шага, на которых одновременно стоит человек
При контактировании токоведущих или токопроводящих частей электроустановок с землёй происходит растекание тока. Наибольшая величина потенциала грунта будет в местах соприкосновения. По мере удаления потенциал грунта будет уменьшаться. При движении человека м. появиться разность потенциалов 2-х точек грунта, где касается человек. Наиболее опасным расстоянием считается до 8м, теоретически до 20м.
,
где β - коэффициент шагового напряжения. Напряжение шага зависит от 1_напряжения в сети 2)от состояния грунта 3)от расстояния человека до места контактирования 4)от длины шага 5)от направления движения человека относительно места контактирования. Наиболее опасным считается движение по окружностям равного потенциала, менее опасным-по касательной. Возможны 2 случая воздействия шагового напряжения: 1) при движении человек осознает, что через него проходит ток, в этом случае необходимо сдвинуть ноги, осмотреться и удаляться от места контактирования прежним путем мылами шагами или прыжками. 2)человек упал под воздействием тока шагового напряжения, в этом случае запрещается вставать, необ-мо осмотреться и удаляться от него перекатами. Попытка встать м. привести к смертельному исходу.
33. Разница между звземдением и занулением эл. оборудования
Защитное заземление - это заземление металлических частей нормально не находящихся под напряжением электроустановки с целью обеспечения электробезопасности.
Зануление - это преднамеренное соединение частей ЭУ, нормально не находящихся напряжением, с глухозаземленной нейтралью генератора , трансформатора в сетях 3-х фазного тока, с глухозаземленной средней точкой источника в сетях постоянного тока.
Защитному заземлению и занулению подлежат металлические части электроустановок, доступные для прикосновения человека и не имеющие других видов защиты.
При заземлении корпуса ток через тело человека при его прикосновении к корпусу будет тем меньше, сем меньше ток замыкания на землю и сопротивление цепи заземления и чем ближе человек стоит к заземлителю.
34. Классификация помещений по опасности поражения током
Классификация помещений на 3 класса: 1) без повышенной опасности 2) с повышенной опасностью, признаки: -наличие сырости(относительная влажность более 75%), -наличие высокой t’(более 35’), -наличие токопроводящей пыли, -токопроводящих полов, -возможность одновременного прикосновения с одной стороны к металлическим частям, коммуникациям, различным конструкциям, с другой к токопроводящим или токоведущим частям. 3) особо опасные: -относительная влажность близка или =100%, -наличие химически агрессивной или активной или органической среды, разрушающих изоляцию токоведущих частей, -одновременное наличие 2-х и более признаков 2-го класса.
35. Характеристика шума. Что такое «порог чувствительности» и «болевой порог» в оценке шкмов
Шум — сочетание различных по частоте и силе звуков. С физиологической т.зр. шум рассматривается как звуковой процесс неблагоприятный для восприятия, мешающий разговорной речи и отрицательно влияющий на здоровье человека. Наиболее восприимчивы органы слуха с частотой 1000-3000Гц, все формулы введены в расчете на 1000Гц. Звук — колебания частиц воздушной среды, которые воспринимаются органами слуха человека, в направлении их распространения. Слышимый шум— 20 - 20000 Гц, ультразвуковой диапазон— свыше 20 кГц, инфразвук —меньше 20Гц, устойчивый слышимый звук— 1000 Гц - 3000 Гц. Вредное воздействие шума: сердечно-сосудистая система; неравная система; органы слуха (барабанная перепонка). Физические характеристики шума: интенсивность звука J, [Вт/м2]; звуковое давление Р,[Па]; частота f, [Гц]. Порог чувствительности или болевой порог- наименьшее значение силы звука и звукового давления, при котором звуки только начинают различаться или появляется боль в ушных раковинах. I0-порог чувст. При частоте 1000Гц соот. I0=10-12Вт/м2, Iр-,болевой порог, при I0=1014, 1000Гц.. В акустике измеряются не абсолютные значения I0 и Ip, а их относительные логарифмические величины, взятые по отношению к порогу слышимости – уровень звукового давления (интенсивности) :
[дБ], где Р- звуковое давление в точке измерения [Па]; Р0- пороговое значение 210-5 [Па]
Частотный состав шума характеризует его спектр – сов-то входящих в него звуков различной частоты. Спектры шумов пред-ют октавных полосах частот. Октава – это интервал изменения частоты ровно в 2 раза.
Характеристики источников шума. В технической документации на машину д.б. указаны 2 характеристики: 1)уровни звуковой мощности а октавных полосах частот (Lp), указывается обычно для массового или кр.сер.пр-ва. 2) хар-ки направленности излучения шума машины. Кроме этих хар-к м. применяться дополнительные: 1) октавные уровни звукового давления на определенном расстоянии от источника 2) октавные уровни звукового давления на расстоянии 1 м от контура машины.
36. Источники возникновения инфразвука и ультразвука? Их влияние на организм человека, мероприятия по защите
Инфразвук. — колебание звуковой волны > 20 Гц. Многие внутренние органы обладают собственной частотой колебания менее 16 Гц. Источники инфразвука: оборудование, которое работает с частотой циклов менее 20 в секунду, все медленно вращающиеся детали и механизмы, неисправные вентиляторы, морская волна. Вредное воздействие: действует на центр. нервную систему (страх, тревога, покачивание, т.д.). Особенности: малое поглощение эн., значит распространяется на значительные расстояния. Диапазон инфразвуковых колебаний совпадает с внутренней частотой отдельных органов человека (6-8 Гц), следовательно, из-за резонанса могут возникнуть тяжелые последствия. Увеличение звукового давления до 150 дБА приводит к изменению пищеварительных функций и сердечному ритму. Возможна потеря слуха и зрения. Защитные мероприятия: Снижение ин. звука в источнике возникновения., средства индивидуальной защиты., поглощение.
Ультразвук. Звуки с частотой выше 20 кГц, не слышны. Используется в оптике (для обезжиривания, ...). Низкочастотные ультразвуковые колебания распространяются воздушным и контактным путем. Высокочастотные - контактным путем. Ультразвук быстро затухает в различных средах. При воздействии на жидкость наблюдается явление кавитации (жидкость рвется), появляются микроразрывы в виде пузырьков, при разрыве которых давление м. достигать 10 и 100 атмосфер. «-«: человек, систематически подвергающийся облучению ультразвука теряет способность сосредоточиться, у него нарушается равновесие, появляется слабость, усталость, головные боли, боли в ушах, расстройство сна, снижение пульса. При средних и больших интенсивностях воздействие УЗ м. оказаться паралитическим и даже смертельным. Нормирование УЗ устанавливает ГОСТ 12,1,001-83. Меры защиты: Использование блокировок, звукоизоляция (экранирование), дистанционное управление, противошумы.
37. Влияние вибрации на организм человека. Вибрационная болезнь
Вибрация — механические колебания упругих тел или колебательные движения механических систем. Характеризуется 4-мя параметрами: амплитудой (а, мм;м), колебательная скорость V(v/c, Vv/c), колебательное ускорение W (мм/с2,, м/с2), частотой f, Гц. Наиболее распространенные 1 и 2. LV=20 lg VC/V0 [дБ], где V0 - пороговое значение колебательной скорости (V0 = 510-8 м/с). По способу передачи вибрации на человека: - общая; - локальная (ноги или руки). По источнику возникновения: - транспортная; - технологическая; - транспортно-технологическая. Систематическое воздействие общих вибраций, хар-ся высоким уровнем виброскорости, может приводить к виброболезни, кот. хар-ся нарушением физиологических функций организма, связанными с поражением ЦНС.
Они вызывают: головные боли, головокружение, расстройство сна, снижение работоспособности. Нарушение сердечной деятельности, сердечно-сосудистой системы.
Наиболее опасны для организма вертикальные вибрации.
Местные вибрации
Ручные машины, вибрация которых имеет максимальные уровни энергии в низких частотах (до 35 Гц), вызывают вибрационную патологию с преимущественным поражением нервно-мышечного и опорно-двигательного аппарата.
Болезнь возникает через 8-10 лет (формовщики, бурильщики).
При работе с ручным инструментом в высокочастотной области (более 125 Гц) возникают сосудистые расстройства с наклонностью к спазму периферических сосудов. Болезнь возникает через 65 лет (шлифовщики).
Нормирование вибраций осуществляется в соот. с ГОСТ 12.1.012-90.
38. Уменьшение шума и вибрации в самом источнике его возникновения
Уменьшение шума и вибрации в самом источнике его возникновения является наиболее рациональным, для этого нужно:
-
Заменять ударные механизмы и процессы на безударные
-
Заменять штамповку прессованием
-
Заменять обрубку резкой, клёпку – сваркой
-
Заменять возвратно-поступательное движение детали равномерным вращательным движением
-
Прямозубые шестерни косозубыми и шевронными
-
Увеличить класс точности обработки ЗК
-
Использовать пластмассы
-
Применять смазывание и использовать прокладочные материалы
39. Мероприятия по защите от шума и вибрации
I группа - Строительно-планировочная
II группа - Конструктивная
III группа - Снижение шума в источнике его возникновения
IV группа - Организационные мероприятия
I группа. Строительно-планировочная
Использование определенных строительных материалов связано с этом проектирования. В ИВЦ — акустическая обработка помещения (облицовка пористыми акустическими панелями). Для защиты окружающей среды от шума используются лесные насаждения. Снижается уровень звука от 5-40 дБА.
II группа. Конструктивная
-
Установка звукоизолирующих преград (экранов). Реализация метода звукоизоляции (отражение энергии звуковой волны). Используются материалы с гладкой поверхностью (стекло, пластик, металл).
Акустическая обработка помещения (звукопоглощение).
Можно снизить уровень звука до 45 дБА.
-
Использование объемных звукопоглотителей (звукоизолятор + звукопоглотитель). Устанавливается над значительными источниками звука.
Можно снизить уровень звука до 30-50 дБА.
III группа. Снижение шума в источнике его возникновения
Самый эффективный метод, возможен на этапе проектирования. Используются композитные материалы 2-х слойные. Снижение: 20-60 дБА.
IV группа. Организационные мероприятия
-
Определение режима труда и отдыха персонала.
-
Планирование раб. времени.
-
Планирование работы значительных источников шума в разных источниках.
Снижение: 5-10 дБА.
Если уровень шума не снижается в пределах нормы, используются индивидуальные средства защиты (наушники, шлемофоны).
Приборы контроля: - шумомеры; - виброаккустический комплекс — RFT, ВШВ.
Мероприятия по борьбе с вибрацией
3 направления:
1) организационные (организация раб оты и СИЗ)
2) инженерно-технические мероприятия (уменьшение вибрации в самом источнике их возникновения.
3) лечебно-профилактические
Вибробезопасность машин (механизмов) достигается :виброизоляцией их по ГОСТ 12.4.046-78 за счет установки на фундаменты, виброизолированные от пола специальные амортизаторы (прокладки из войлока,резины, пружины т.п; балансировкой вращающихся частей; применением виброизолирующих мастик и др.
Организационно-технические меры включают: проведение проверок вибрации не реже 1 раза в год при общей вибрации и двух раз в год при локальной вибрации, а также после ремонта машин; и при начале их эксплуатации; исключение контакта работающих с вибрирующими поверхностями за пределами рабочего места или зоны (ограждения, знаки, надписи), введение определенного режима работ, недопущение к работе лиц, моложе 18 лет и не прошедших медосмотр, проведение повторного ежегодного медосмотра.
40. Влияние шума на организм человека. Нормирования шума
Шум, вибрация и ультразвук представляют собой колебания материальных частиц газа, жидкости или твердого тела. Производственные процессы часто сопровождаются значительным шумом, вибрацией и сотрясениями, которые отрицательно влияют на здоровье и могут вызвать профессиональные заболевания.
Слуховой аппарат человека обладает неодинаковой чувствительностью к звукам различной частоты, а именно - наибольшей чувствительностью на средних и высоких частотах (800-4000 Гц) и наименьшей - на низких (20-100 Гц). Поэтому для физиологической оценки шума используют кривые равной громкости (рис.30), полученные по результатам изучения свойств органа слуха оценивать звуки различной частоты по субъективному ощущению громкости, т.е. судить о том, какой из них сильнее или слабее.
Уровни громкости измеряются в фонах. На частоте 1000 Гц уровни громкости приняты равными уровням звукового давления. По характеру спектра шума подразделяются на :
широкополостные : спектр больше одной октавы (октава, когда f(н) отличается от f(к) в 2 раза).
тональные - слышится один тон или несколько.
По времени шумы подразделяются на постоянные (уровень за 8 час. раб. день изменяется не более 5 дБ).
Непостоянные (уровень меняется за 8 час. раб.дня не менее 5 дБ).
Непостоянные делятся : колеблющиеся во времени - постоянно изменяются по времени; прерывистые - резко прерываются с интервалом 1 с. и более; импульсные - сигналы с длительностью менее 1 с.
Всякое возрастание шума над порогом слышимости увеличивает мускульное напряжение, значит повышает расход мышечной энергии.
Под влиянием шума притупляется острота зрения, изменяются ритмы дыхания и сердечной деятельности, наступает понижение трудоспособности, ослабленность внимания. Кроме того, шум вызывает повышенные раздражимость и нервозность.
Тональный (преобладает определенный шум тон) и импульсный (прерывистый) шумы более вредны для здоровья человека, чем широкополосный шум. Длительность воздействия шума приводит к глухоте, особенно с превышением уровня 85-90 дБ и в первую очередь снижается чувствительность на высоких частотах.
Нормирование шума. Осущ-ся в соот. С ГОСТ 12,1,003-83. Учитываются: 1)вид работы 2) хар-ка шума (монотонный, импульсный, постоянный или непостоянный), 3) продолжительность воздействия шума 4) источник шума. В соот. С ГОСт нормирование м. осущ-ся 2 методами: 1) по спектральному составу, т.е. нормирование по октавным составляющим. Для постоянных шумов. 2) нормирование эквивалентного шума – в основном для непостоянных шумов. По 2 методу дополнительный уровень звука на раб. местах устанавливается по общему уровню звука, определенного по шкале А шумометра, т.е. на частоте 1000 Гц.
41. Характеристики источников шума. Нормирование шума
Характеристики источников шума. В технической документации на машину д.б. указаны 2 характеристики:
1)уровни звуковой мощности а октавных полосах частот (Lp), указывается обычно для массового или кр.сер.пр-ва.
2) хар-ки направленности излучения шума машины. Кроме этих хар-к м. применяться дополнительные: 1) октавные
уровни звукового давления на определенном расстоянии от источника 2) октавные уровни звукового давления на
расстоянии 1 м от контура машины.
Нормирование шума. Осущ-ся в соот. С ГОСТ 12,1,003-83. Учитываются: 1)вид работы 2) хар-ка шума (монотонный, импульсный, постоянный или непостоянный), 3) продолжительность воздействия шума 4) источник шума. В соот. С ГОСт нормирование м. осущ-ся 2 методами: 1) по спектральному составу, т.е. нормирование по октавным составляющим. Для постоянных шумов. 2) нормирование эквивалентного шума – в основном для непостоянных шумов. По 2 методу дополнительный уровень звука на раб. местах устанавливается по общему уровню звука, определенного по шкале А шумометра, т.е. на частоте 1000 Гц.
42. Применяемые средства тушения пожаров
При любом пожаре тушение должно быть направлено на устранение причин его возникновения и создание условий, при которых продолжение горения будет невозможно.
Тушение пожара может быть осуществлено:
а) сильным охлаждением горящих материалов с помощью веществ, обладающих большой теплоемкостью;
б) изоляцией горящих материалов от атмосферного воздуха;
в) снижением содержания кислорода в воздухе, поступающем к очагу горения;
г) специальными химическими средствами.
Для тушения пожара могут быть использованы: вода, водяной пар, химическая и воздушно-механическая пена, негорючие газы, твердые огнегасительные порошки, специальные химические вещества и составы.
Тушение водой
Вода является одним из наиболее доступных, дешевых и широко распространенных огнегасительных средств, пригодных для тушения как малых, так и больших пожаров. Огнегасительные свойства воды заключаются в том, что она имеет большую теплоемкость, способна отнимать от горящих веществ значительное количество тепла, снижая температуру очага горения до такой, при которой горение становится невозможно. Воду нельзя применять:
-
для тушения веществ, вступающих с ней в реакцию, например, металлов калия и натрия. Выделяющийся водород в смеси с воздухом образует взрывоопасную смесь.
-
при тушении электрических установок, находящихся под напряжением, а также при тушении карбида кальция из-за возможности взрыва выделяющегося при этом ацетилена.
Для пожаротушения вода применяется в виде компактных струй, в распыленном состоянии, тонкодисперсном состоянии, а также в виде воздушно-механической пены. Применять компактные струи при тушении горящих легковоспламеняющихся жидкостей нельзя, так как при этом происходит растекание жидкости, всплывающей на поверхность воды, что способствует увеличению зоны горения.
Если воду применять в распыленном состоянии, в виде мелкодисперсных частиц, когда большинство капель распыленной воды имеет размер менее 0,1 мм, то при этом увеличивается поверхность соприкосновения воды с горящими веществами, что способствует более интенсивному отбору водой тепла от очага горения и образованию пара, способствующего тушению. Распыленная струя воды при пожарах в помещениях может быть применена для снижения температуры и осаждения дыма. Вода в распыленном состоянии может применяться для тушения горящих нефтепродуктов с температурой-вспышки свыше 120° С.
Добавление к воде 0,2—2,0% (по массе) пенообразователей способствует понижению поверхностного натяжения, в результате чего улучшаются ее огнегасительные свойства, в 2—2,5 раза уменьшается расход воды, сокращается время тушения.
Тушение паром
Огнегасительное действие пара заключается в вытеснении воздуха из помещения. Огнегасительная способность пара обеспечивает эффективность только при больших его концентрациях на единицу объема.
Принцип тушения пожара паром заключается в том, что помещение, в котором возник пожар, быстро заполняют паром (в течение 5—10 мин). При этом температуру в помещении следует доводить не менее чем до +85° С, что вызовет понижение содержания кислорода в воздухе на 31% (уменьшит содержание кислорода в воздухе до 15—16%), и горение прекратится.
Тушение пеной
Пеной называется дисперсная система, в которой газ заключен в ячейки, отделенные одна от другой жидкостными стенками.
Пена нашла широкое применение для тушения пожара твердых веществ и особенно легковоспламеняющихся жидкостей, которые имеют удельный вес менее 1,0 и не растворяются в воде.
Основным огнегасительным свойством пены является изоляция зоны горения путем образования на поверхности горящей жидкости
паронепроницаемого слоя определенной структуры и стойкости. Химическая пена имеет широкое применение в ручных огнетушителях.
Пенные огнетушители получили большое распространение благодаря следующим достоинствам:
а) наличию заряда огнегасительного вещества, всегда готового к действию; б) простоты, легкости и быстроты приведения огнетушителя в действие силами одного человека;
в) выбрасыванию заряда огнегасительной пены в виде струи, что беспечивает эффективность ее использования.
Тушение углекислотой (двуокисью углерода) заключается в том, что она, попадая в воздух очага горения, снижает в нем содержание кислорода до предела, при котором горение прекращается.
Двуокись углерода применяется для быстрого тушения пожара (в течение 2—10 с), особенно при тушении небольших поверхностей горючих жидкостей, стендов для испытания двигателей внутреннего сгорания, сушильных печей, электрических двигателей и установок, находящихся под напряжением (двуокись углерода не электропроводна). Применение двуокиси углерода исключается для
тушения веществ, которые горят без доступа воздуха. Для тушения этих веществ применяют азот или аргон.
Тушение специальными химическими веществами
Горящие металлы трудно поддаются тушению. Это особенно относится к калию, натрию, литию, цирконию, урану, торию, титану и магнию. Двуокись углерода ускоряет сгорание магния. Тушение горящего металла водой может вызвать взрыв и разлетание горящих частиц металла на большие расстояния.
Песок (даже сухой) может реагировать с горящим металлом и усиливать горение. При значительных размерах пожара происходит реакция разложения песка с образованием свободного кремния и кремнистых соединений; последние реагируют с влагой, в результате чего образуются горючие и ядовитые газы. Обычно для тушения горящего металла применяют сухие огнегасительные порошки. Для тушения горящих металлов применяют хлористый и двууглекислый натрий,
порошковые графит, углекислый магний, окись магния или их смеси, сжиженные инертные газы.
Для тушения горящих магниевых сплавов используют сухие молотые флюсы, употребляемые при плавке магниевых сплавов; образующаяся на поверхности металла жидкая пленка изолирует его от воздуха.
В порошковых применяются твердые огнегасительные вещества (хлориды щелочных и щелочноземельных металлов), углекислая и двууглекислая сода и др. Их действие заключается в изоляции очага горения и выделении при нагреве углекислого газа.
43. Применяемые способы при тушении пожаров. Взрывоопасность
При любом пожаре тушение должно быть направлено на устранение причин его возникновения и создание условий, при которых продолжение горения будет невозможно.
Тушение пожара может быть осуществлено:
а) сильным охлаждением горящих материалов с помощью веществ, обладающих большой теплоемкостью;
б) изоляцией горящих материалов от атмосферного воздуха;
в) снижением содержания кислорода в воздухе, поступающем к очагу горения;
г) специальными химическими средствами.
Для тушения пожара могут быть использованы: вода, водяной пар, химическая и воздушно-механическая пена, негорючие газы, твердые огнегасительные порошки, специальные химические вещества и составы.
44. Огнетушащие свойства воды. Применение воды при тушении пожара
Вода является одним из наиболее доступных, дешевых и широко распространенных огнегасительных средств, пригодных для тушения как малых, так и больших пожаров. Огнегасительные свойства воды заключаются в том, что она имеет большую теплоемкость, способна отнимать от горящих веществ значительное количество тепла, снижая температуру очага горения до такой, при которой горение становится невозможно. Воду нельзя применять:
-
для тушения веществ, вступающих с ней в реакцию, например, металлов калия и натрия. Выделяющийся водород в смеси с воздухом образует взрывоопасную смесь.
-
при тушении электрических установок, находящихся под напряжением, а также при тушении карбида кальция из-за возможности взрыва выделяющегося при этом ацетилена.
Для пожаротушения вода применяется в виде компактных струй, в распыленном состоянии, тонкодисперсном состоянии, а также в виде воздушно-механической пены. Применять компактные струи при тушении горящих легковоспламеняющихся жидкостей нельзя, так как при этом происходит растекание жидкости, всплывающей на поверхность воды, что способствует увеличению зоны горения.
Если воду применять в распыленном состоянии, в виде мелкодисперсных частиц, когда большинство капель распыленной воды имеет размер менее 0,1 мм, то при этом увеличивается поверхность соприкосновения воды с горящими веществами, что способствует более интенсивному отбору водой тепла от очага горения и образованию пара, способствующего тушению. Распыленная струя воды при пожарах в помещениях может быть применена для снижения температуры и осаждения дыма. Вода в распыленном состоянии может применяться для тушения горящих нефтепродуктов с температурой-вспышки свыше 120° С.
Добавление к воде 0,2—2,0% (по массе) пенообразователей способствует понижению поверхностного натяжения, в результате чего улучшаются ее огнегасительные свойства, в 2—2,5 раза уменьшается расход воды, сокращается время тушения.
45. Пожароопасные свойства материалов и веществ. Первичные средства пожаротушения
Основными показателями пожарной опасности, определяющими критические условия возникновения и развития процесса горения, являются температура самовоспламенения и концентрационные пределы воспламенения.
Температура самовоспламенения характеризует минимальную температуру вещества или материала, при которой происходит резкое увеличение скорости экзотермических реакций, заканчивающееся возникновением пламенного горения.
Минимальная концентрация горючих газов и паров в воздухе, при которой они способны загораться и распространять пламя, называется нижним концентрационным пределом воспламенения; максимальная концентрация горючих газов и паров, при которой еще возможно распространение пламени, называется верхним концентрационным пределом воспламенения. Область составов и смесей горючих газов и паров с воздухом, лежащих между нижним и верхним пределами воспламенения, называется областью воспламенения.
Концентрационные пределы воспламенения не постоянны и зависят от ряда факторов. Наибольшее влияние на пределы воспламенения оказывают мощность источника воспламенения, примесь инертных газов и паров, температура и давление горючей смеси.
Изменение пределов воспламенения с повышением температуры может быть оценено по следующему правилу: при повышении температуры на каждые 100° величины нижних пределов воспламенения уменьшаются на 8—10%, а верхних пределов воспламенения увеличиваются на 12—15%.
Концентрация насыщенных паров жидкостей находится в определенной взаимосвязи с ее температурой.
Используя это свойство, можно концентрационные пределы воспламенения насыщенных паров выразить через температуру жидкости, при которой они образуются.
Способностью образовывать с воздухом воспламеняющиеся с большой скоростью (взрывоопасные) смеси обладают также взвешенные в воздухе пыли многих твердых горючих веществ. Та минимальная концентрация пыли в воздухе, при которой происходит ее загорание, называется нижним пределом воспламенения пыли. Поскольку достижение очень больших концентраций пыли во взвешенном состоянии практически нереально, термин «верхний предел воспламенения» к пылям не применяется.
К показателям пожарной опасности, характеризующим критические условия образования достаточного для горения газообразных горючих продуктов испарения или разложения конденсированных веществ и материалов, относятся температуры вспышки и воспламенения, а также температурные пределы воспламенения.
Температурой вспышки называется самая низкая (в условиях специальных испытаний) температура горючего вещества, при которой над поверхностью образуются пары и газы, способные вспыхивать в воздухе от источника зажигания, но скорость их образования еще недостаточна для последующего горения. Пользуясь этой характеристикой, все горючие жидкости по пожарной опасности можно разделить на два класса:
-
жидкости с температурой вспышки до 61° С (бензин, этиловый спирт, ацетон, серный эфир, нитроэмали и т. д.), они называются легковоспламеняющимися жидкостями (ЛВЖ);
-
жидкости с температурой вспышки выше 61° С (масло, мазут, формалин и др.), они называются горючими жидкостями (ГЖ).
Температура воспламенения — температура горючего вещества, при которой оно выделяет горючие пары и газы с такой скоростью, что после воспламенения их от источника зажигания возникает устойчивое горение. Температурные пределы воспламенения — температуры, при которых насыщенные пары вещества образуют в данной окислительной среде концентрации, равные соответственно нижнему и верхнему концентрационным пределам воспламенения жидкостей.
Пожароопасность веществ характеризуется линейной (выраженной в см/с) и массовой (г/с) скоростями горения (распространения пламени) и выгорания (г/м2-с или см/с), а также предельным содержанием кислорода, при котором еще возможно горение. Для обычных горючих веществ (углеводородов и их производных) это предельное содержание кислорода составляет 12—14%, для веществ с высоким значением верхнего предела воспламенения (водород, сероуглерод, окись этилена и др.) предельное содержание кислорода составляет 5% и ниже.
Помимо перечисленных параметров для оценки пожарной опасности важно знать степень горючести (сгораемости) веществ. В зависимости от этой характеристики вещества и материалы делят на:
-
горючие (сгораемые),
-
трудногорючие (трудносгораемые)
-
негорючие (несгораемые).
К горючим относятся такие вещества и материалы, которые при воспламенении посторонним источником продолжают гореть и после его удаления. К трудногорючим относят такие вещества, которые не способны распространять пламя и горят лишь в месте воздействия импульса; негорючими являются вещества и материалы, не воспламеняющиеся даже при воздействии достаточно мощных импульсов.
46. Автоматические огнетушащие установки. Причины пожаров на производстве
Применяют в помещениях в повышенной пожароопасностью.
-
спилинкерные: выходное отверстие сплинклерной головки закрыто пластинками, кот. при воздействии температуры расплавляются и вода из системы под давлением выходит из отверстия головки и орошает конструкции помещения или оборудования в зоне действия спринклерной головки. Одна головка орошает площадь 10-12 м.
недостатки: инертность, необходимо время. Чтобы произошло расплавление пластины, нельзя механически включить
достоинства: безотказно
Устройство: 1- подающее устройство, 2- спринклерные головки, 3- двойной клапан, 4- трубопровод.
Применяется в помещениях, где недостаточный контроль обслуживающего персонала
-
дренчерные: системный трубопровод, на кот. располагаются спец. головки (дренчеры) с открытым выходным отверстием. Маховичок, вентиль, датчик обнаружения пожара (открывает вентиль), дренчерная головка.
+: можно включить вручную, быстро включается и открывает все головки.
Причины пожаров на производстве: 1) нарушение техники безопасности, 2) неисправность электрооборудования 3) плохая подготовка оборудования к ремонту 4) самовозгорание материалов 5) искры при электро и газо сварках 6) ремонт оборудования на ходу.
47. Как утроена вытяжная вентиляция? Расчет требуемого воздухообмена
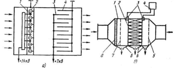
Вытяжная система предназначена для удаления воздуха из помещения. При этом в нем создается пониженное давление и воздух соседних помещений или наружный воздух поступает в данное помещение. Вытяжную систему целесообразно применять в том случае, если вредные выделения данного помещения не должны распространяться на соседние, например, для вредных цехов, химических и биологических лабораторий.
Установки вытяжной вентиляции (б) состоят из вытяжных отверстий или насадков 8, через которые воздух удаляется из помещения; побудителя движения 5; воздуховодов 2; устройств для очистки воздуха от пыли или газов 9, устанавливаемых для защиты атмосферы, и устройства для выброса воздуха 10, которое располагается На 1.-1,5 м выше конька крыши. Чистый воздух поступает в производственное помещение через неплотности в ограждающих конструкциях, что является недостатком данной системы вентиляции, так к неорганизованный приток холодного воздуха (сквозняки) может вызвать простудные заболевания.
При организации воздухообмена в помещениях необходимо учитывать и физические свойства вредных паров и газов и в первую очередь их плотность. Если плотность газов ниже плотности воздуха, то удаление загрязненного воздуха происходит в верхней зоне, а подача свежего — непосредственно в рабочую зону. При выделении газов с плотностью, большей плотности воздуха, из нижней части помещения удаляется 60...70 % и из верхней части 30...40 % загрязненного воздуха. В помещениях со значительными выделениями влаги вытяжка влажного воздуха осуществляется в верхней зоне, а подача свежего в количестве 60 % — в рабочую зону и 40 % — в верхнюю зону.
, где L-необходимый воздухообмен, W-кол-во ВВ(лимитирующее ВВ-явл.то, отношение кол-ва которого ПДК max), qуд и qпр –концентрации данного ВВ, соот-но в удаляемом и приточном воздухе, n- коэф., учитывающий схему расположения установки. При затруднении определения qуд и qпр, qуд=ПДК, qпр=0,3ПДК.
2) если требуется избавиться от избытков теплоты, то
, где Qизб – избытки явной теплоты, С – теплоёмкость, tуд, tпр – t’ удаляемого и приточного воздуха, пр – плотность приточного воздуха
Нв=Нвс+Нд+Ннагн, (всасывания, динамики, нагнетательная), Нд=*V2/2q, - объёмный вес воздуха, V – скорость воздуха в вентиляторе, q – ускорение силы тяжести = 9,8м/с2
Нвс(наг)= Ri*li+zj, Ri – сопротивление перемещения воздуха i-го участка на 1 погонный м, li – длина i-го участка в м, z- местное сопротивление
3)подбирается вентилятор по L, Hm и max К,П,Д, 4) определяем мощность на валу вентилятора Nв=L*Hв/3600*102*в, где в-КПД вентилятора 5)определяем установочную мощность на валу электродвигателя Ny=K3*Nв/n, где К3 – коэф. Запаса, n – КПД передачи.
48. Терморегуляция организма и изменение в организме, связанные с нарушением метеорологических условий. Тепловая гипертермия. Нормирование микроклимата
Нормирование параметров микроклимата
Микроклимат на раб. месте характеризуется:
-
температура, t, С;
-
относительная влажность, , %;
-
скорость движения воздуха на раб. месте, V, м/с;
-
интенсивность теплового излучения W, Вт/м2;
-
барометрическое давление, р, мм рт. ст. (не нормируется)
В соответствии с ГОСТ 12.1.005-88 нормируемые параметры микроклимата подразделяются на оптимальные и допустимые. Оптимальные параметры микроклимата — такое сочетание температуры, относит. влажности и скорости воздуха, которое при длительном и систематическом воздействии не вызывает отклонений в состоянии человека. t = 22 - 24, С = 40 - 60, % V 0,2 м/с Допустимые параметры микроклимата — такое сочетание параметров микроклимата, которое при длительном воздействии вызывает приходящее и быстро нормализующееся изменение в состоянии работающего. t = 22 - 27, С, 75, %, V = 0,2-0,5 м/с Рабочая зона — пространство над уровнем горизонтальной поверхности, где выполняется работа, высотой 2 метра. Рабочее место — (м.б. постоянным или непостоянным), где выполняется технологическая операция. Для определения нормы микроклимата на рабочем месте, необходимо знать 2 фактора: 1)Период года (теплый, холодный). + 10 С граница
-
Категория выполняемой работы, которая подразделяется в зависимости от энергозатрат: 2)легкую (Iа — до 148 Вт, Iб — 150-174 Вт);
-
средней тяжести (IIа — 174-232 Вт, IIб — 232-292 Вт);
-
тяжелая (III — свыше 292 Вт).
Поддержание микроклимата существует для создания наиболее благоприятных условий для работы и жизни человека. На любые, даже самые незначительные изменения, организм человека реагирует в той или иной степени. При наиболее комфортном состоянии микроклимата физиологические процессы терморегуляции не наряжены, теплоощущение хорошее, функциональное состояние нервной системы оптимальное, физическая и умственная работоспособность высокая, организм устойчив к воздействию негативных факторов среды. Дискомфортный микроклимат вызывает напряжение процессов терморегуляции, имеет место плохое теплоощущение, ухудшается условно-рефлекторная деятельность и функция анализаторов, понижается работоспособность и качество труда, снижается устойчивость организма к воздействию неблагоприятных факторов. При изменениях микроклимата, выходящих за границы приспособительных физиологических колебаний, дискомфорт проявляется в виде изменений самочувствия. Появляется апатия, шум в ушах, мерцание перед глазами, тошнота, помрачнение сознания, повышение температуры тела, судороги и другие симптомы.
Тепловая гипертермия – при высокой t’ окр.среды (более 30’c) и большой относительной влажности (более 75%) при выполнении работы особо тяжелой и средней тяжести м. наступить перегрев организма, при котором t’ тела поднимается до 38-39’c, наблюдается головная боль, головокружение, общая слабость, искажение цветового восприятия предметов, тошнота, рвотные проявления, сильное потовыделение, учащенные пульс и дыхание. Выраженная гипертермия сопровождается высокой t’c тела (40-41’c и выше) , тяжелым общим состоянием, при котором наблюдается бледность, обильное потоотделение, расширенные зрачки, временами судороги, частое и поверхностное дыхание, падение артериального давления и потеря сознания (тепловой удар). Солнечный удар – м.б. под воздействием прямых солнечных ультрафиолетовых лучей. Нормирование параметров микроклимата. Нормирование осуществляется в соот. С ГОСТ 12,1,005-88 или СанПиН 2,2,4,548-96. При нормировании учитываются: 1) категория работ по тяжести их выполнения (лёгкие, ср.тяжести, тяжелые) 2) период года (теплый, если среднесуточная t’ наружного воздуха +10’ и выше, холодный – менее +10’c). При нормировании указываются оптимальные и допустимые параметры микроклимата.
49. Механическая вентиляция и её основные части. Как устроены и работают кондиционеры воздуха приточной вентиляции цехов
В системах механической вентиляции движение воздуха осуществляется вентиляторами и в некоторых случаях эжекторами.
Рис. Механическая вентиляция
Приточная вентиляция. Установки приточной вентиляции обычно состоят из следующих элементов (рис.,а): воздухозаборного устройства (воздухоприемника) 1 для забора чистого воздуха; устанавливаемого снаружи здания в тех местах, где содержание вредных веществ минимально (или они отсутствуют вообще); воздуховодов 2, по которым воздух подается в помещение; наиболее часто воздуховоды делают металлическими, реже — бетонными, кирпичными, шлакоалебастровыми и т. п.; фильтров 3 для очистки воздуха от пыли; калориферов 4, где воздух нагревается (наибольшее распространение получили калориферы, в которых теплоносителем является горячая вода или пар; используются также и электрокалориферы); вентилятора 5; приточных отверстий или насадков 6, через которые воздух попадает в помещение (воздух может подаваться сосредоточенно или равномерно по помещению); регулирующих устройств, устанавливаемых в воздухоприемном устройстве и на ответвлениях воздуховодов.
Фильтр, калориферы и вентилятор обычно устанавливают в одном помещении, в так называемой вентиляционной камере. Воздух подается в рабочую зону, причем скорости выхода воздуха ограничены допустимым шумом и подвижностью воздуха на рабочем месте.
Вытяжная вентиляция. Установки вытяжной вентиляции состоят (рис. 8,6) из вытяжных отверстий или насадков 7, через которые воздух удаляется из помещения; вентилятора 5, воздуховодов 2; устройства для очистки воздуха от пыли или газов 8, устанавливаемого в тех случаях, когда выбрасываемый воздух необходимо очищать с целью обеспечения нормативных концентраций вредных веществ в выбрасываемом воздухе и в воздухе населенных мест, а также в приточном воздухе, подаваемом в производственные здания; устройства для выброса воздуха (вытяжной шахты) 9, которое должно быть расположено на 1—1,5 м выше конька крыши.
При работе вытяжной системы чистый воздух поступает в помещение через неплотности в ограждающих конструкциях. В ряде случаев это обстоятельство является серьезным недостатком данной системы вентиляции, так как неорганизованный приток холодного воздуха (сквозняки) может вызвать простудные заболевания.
Приточно-вытяжная вентиляция. В этой системе воздух подается в помещение приточной вентиляцией, а удаляется вытяжной вентиляцией (рис. 8,а и б), работающими одновременно.
Место расположения приточных и вытяжных воздуховодов, отверстий и насадков, количество подаваемого и вытягиваемого воздуха выбирается с учетом требований, предъявляемых к системе вентиляции. Место для забора свежего воздуха выбирается с учетом направления ветра, с наветренной стороны по отношению к выбросным отверстиям, вдали от мест загрязнений.
Вентиляторы — это воздуходувные машины, создающие определенное давление и служащие для перемещения воздуха при потерях давления в вентиляционной сети не более 12 кПа. Наиболее распространенными являются осевые и радиальные (центробежные) вентиляторы.
В зависимости от развиваемого давления вентиляторы делят на следующие группы: низкого давления — до 1 кПа; среднего давления—1—3 кПа; высокого давления — 3—12 кПа.
Вентиляторы низкого и среднего давления применяют в установках общеобменной и местной вентиляции, кондиционирования воздуха и т. п. Вентиляторы высокого давления используют в основном для технологических целей, например, для дутья в вагранки.
В зависимости от состава перемещаемого воздуха вентиляторы изготовляют из определенных материалов и различной конструкции:
а) обычного исполнения для перемешения чистого или малозапыленного воздуха (до 100 мг/м3) с температурой не выше 80° С; все части таких вентиляторов изготовляют из обычных сортов стали;
б) антикоррозионного исполнения — для перемешения агрессивных сред (пары кислот, щелочей); в этом случае вентиляторы изготовляют из стойких против этих сред материалов — железохромистой и хромоникелевой стали, винипласта и т. д.;
в) искрозащитного исполнения — для перемещения взрывоопасных смесей, например, содержащих водород, ацетилен и т. д.; основное требование, предъявляемоек таким вентиляторам,— полное исключение искрения при их работе (вследствие ударов или трения), поэтому колеса, корпуса и входные патрубки вентиляторов изготовляют из алюминия или дюралюминия; участоквала, находящийся в потоке взрывоопасной смеси, закрывают алюминиевыми колпаками и втулкой, а в месте прохода вала через кожух устанавливают сальниковое уплотнение;
г) пылевые — для перемещения пыльного воздуха(содержание пыли более 100 мг/м3); рабочие колеса вентиляторов изготовляют из материалов повышенной прочности, они имеют мало (4—8) лопаток.
50. Токсичность веществ, ПДК вредных газов и паров в воздухе
Поражения отравляющими веществами возможны при авариях на химзаводах, складах. На транспорте и на предприятиях, где используются опасные химические вещества, а также при применении химического оружия противником. Основные пути проникновения отравляющих веществ ( ОВ ): через дыхательный аппарат, кожный покров и желудочно-кишечный тракт. Токсичность ОВ - это способность их вызывать поражения при попадании в организм в определенных дозах. Количественная характеристика поражающего действия ОВ / токсическая доза, при вдыхании токсидоза выражается в мг*мин/л воздуха, при проникновении через кожу, желудочно-кишечный тракт мг/кг живой массы.
ОВ делятся по характеру поражающего действия на: нервно-паралитические, общеядовитые, удушающие, кожно-нарывные, раздражающие и психогенные.
Предельно допустимой концентрацией (ПДК) называется такая концентрация, которая при ежедневной работе в течение 8 ч. на протяжении всего рабочего стажа не могут вызвать у работающих заболеваний или отклонения в состоянии здоровья.
ПДК устанавливается в мг/м на основе исследований и утверждается Минздравом РФ. В нашей стране установлены ПДК для 1410 веществ, а других странах - меньше: например, в США для 963 веществ. ПДК является и характеристикой опасности веществ, например, ПДК и класс опасности некоторых веществ : аммиак - 20 мг/м и 4 класс, ацетон - 200 и 4, йод - 1 и 2, ртуть - 0,01 и 1, хлор - 0,1 и 1.
51. Наличие «циклонов» (центробежных пылеотделителей) и фильтров в вытяжной системе вентиляции. Дать развёрнутую схему вытяжной вентиляции. Существующие типы фильтров и их устройство
Расчет вентиляционной установки сводится к: 1)к выбору схемы её расположения 2) к расчету диаметров воздуховодов участков 3) к определению перемещения воздухов в данном участке 4) определение величины воздухообмена 5) к определению сопротивления перемещаемого воздуха в системе 6) к подбору вентилятора 7) к подбору электродвигателя.
-
Устройство для удаления воздуха
-
Вентилятор
-
Система возуховодов
-
Пыле- и газоулавливающие устройства
-
Фильтры
-
Устройство для выброса воздуха
При работе вытяжной системы чистый воздух поступает в помещение через неплотности в ограждающих конструкциях. В ряде случаев это обстоятельство является серьезным недостатком данной системы вентиляции, так как неорганизованный приток холодного воздуха (сквозняки) может вызвать простудные заболевания.
Очистка воздуха от пыли может быть грубой, средней и тонкой. При грубой очистке воздуха задерживается крупная пыль (размером частиц >50 мкм). При средней очистке задерживается пыль с размером частиц до 50 мкм, а при тонкой пыль с размером частиц менее 10 мкм.
Для грубой и средней очистки применяют пылеуловители, действие которых основано на использовании для осаждения частиц пыли сил тяжести или инерционных сил, отделяющих частицы примесей от воздуха при изменении скорости движения (пылеосадительные камеры) и направления его движения (циклоны, инерционные, жалюзийные и ротационные пылеуловители). Наибольшее применение для очистки воздуха от пыли с размером частиц более 10 мкм получили циклоны. Циклоны применяют для очистки воздуха от сухой неволокнистой и неслипающейся пыли. Пылеотделение в циклонах основано на принципе центробежной сепарации. Попадая в циклон по касательной через входной патрубок 1, воздушный поток приобретает вращательное движение по спирали и, опустившись в низ конической части корпуса 3, выходит наружу через центральную трубу 2. Под действием центробежных сил частицы отбрасываются к стенке циклона и опускаются в нижнюю часть циклона, а оттуда в пылесборник 4. Так как эффективность очистки увеличивается (до 0,90 и более) при уменьшении диаметра циклона, то обычно вместо одного циклона большого размера ставят параллельно два и более циклонов меньших размеров.
Вихревые пылеуловители (рис.13,в) отличаются от циклонов наличием вспомогательного воздушного потока. Запыленный воздух, поступающий через патрубок 5 закручивается лопаточным завихрителем 4 и перемещается вверх в корпусе 3, подвергаясь воздействию вытекающих из тангенциально расположенных сопел 2 струй вторичного воздуха. Под действием центробежных сил частицы пыли отбрасываются к периферии, а затем поступают в бункер 6 через кольцевое межтрубное пространство, увлекаемые потоком вторичного воздуха.
Очищенный от пыли воздух выходит через патрубок. В вихревых пылеуловителях достигается эффективность очистки 0,98—0,99 для частиц пыли размером около 10 мкм.
К группе инерционных пылеуловителей относят жалюзийные пылеуловители (рис. 13,г) и различные камеры, в которых запыленный поток изменяет направление движения (рис. 13,(5). Жалюзийные пылеуловители представляют собой набор лопастей 3, установленных последовательно в корпусе 2 так, что между ними образуются щели. Воздух поступает через патрубок 1. Пылеотделение основано на изменении направления движения запыленного воздуха, при этом взвешенные частицы пыли под действием сил инерции и эффекта отражения от лопастей двигаются в направлении к патрубку 5, а чистый воздух проходит через щели и поступает к патрубку 4 на выход из аппарата. Обычно жалюзийные пылеуловители используют для грубой и средней очистки воздуха от твердых частиц, разделяя поток в соотношении 9:1 на чистый и загрязненный.
В камерных пылеуловителях (см. рис. 13, 5) запыленный воздух поступает через патрубок 1 в расширительную камеру 3, где отделяется от пыли и выходит через патрубок 2. Пыль оседает в бункер 4. Камерные инерционные пылеуловители применяют для грубой и средней очистки воздуха от примесей. Скорость движения воздуха в камере около 1 м/с, при этом улавливают частицы пыли размером 25—30 мкм с эффективностью очистки до 0,65—0,85.
Ротационные пылеуловители (ротоклоны) очищают воздух от твердых и жидких примесей за счет центробежных сил и силы Кориолиса, возникающих при вращении ротора. Конструктивно они представляют собой центробежный вентилятор (рис. 13,е), который одновременно с перемещением воздуха очищает его от частиц размером более 10 мкм. Запыленный воздух поступает во входной патрубок 6. При вращении колеса 7 пылевоздушная смесь движется по межлопаточным каналам колеса, при этом частицы пыли под действием центробежных сил и сил Кориолиса прижимаются к поверхности диска колеса и к набегающим сторонам лопаток колеса. Пыль с очень небольшим количеством воздуха (3—5%) поступает через зазор между колесом 7 и улиткой 3 в кольцеобразный пылеприемник 5, а очищенный воздух — в улитку 3 и выходной патрубок 2. Обогащенная пылью смесь через патрубок 8 поступает в бункер 9, в котором пыль оседает, а воздух через отверстие в патрубке 1 снова возвращается к колесу 7. В бункере 9 пыль увлажняется.
Ротоклоны находят применение в пыльных производствах, например, в литейном. Они обеспечивают сравнительно высокую эффективность очистки: для частиц пыли размером 8—20 мкм — 0,83, а для более крупных — до 0,97. Для повышения эффективности очистки в газодинамический тракт ротоклонов иногда вводят воду.
Рис. 15. Пылеосадятельная камера: / — входной патрубок; 2 — корпус; 3 — выходной патрубок; 4 — бункер
Пылеосадительные камеры (рис. 15) применяют для осаждения крупной и тяжелой пыли с размером частиц более 100 мкм. Скорость запыленного воздуха в поперечном сечении корпуса камеры 2 принимается небольшой около 0,5 м/с для того, чтобы пыль могла осесть в камере раньше, чем она покинет ее. Поэтому габариты камер получаются довольно большими, что ограничивает их применение, несмотря на очевидные преимущества — малое гидравлическое сопротивление и простоту эксплуатации. Эффективность очистки можно увеличить (до 0,80—0,95), если камеру выполнить лабиринтного типа, хотя это влечет за собой повышение гидр авлического сопротивления.
Для очистки приточного вентиляционного воздуха от пыли и туманов применяют электрофильтры. Работа электрофильтров основана на создании сильного электрического поля при помощи выпрямленного тока высокого напряжения (до 35 кВ), подводимого к коронирующим и осадительным электродам. При прохождении запыленного воздуха через зазор между электродами происходит ионизация молекул воздуха с образованием положительных и отрицательных ионов. Ионы, адсорбируясь на частицах пыли, заряжают их положительно или отрицательно. Пыль, получившая заряд отрицательного знака, стремится осесть на положительно заряженном электроде, а положительно заряженная пыль оседает на отрицательно заряженных коронирующих электродах. Эти электроды периодически встряхиваются при помощи специального механизма, после чего пыль собирается в бункере, откуда удаляется.
Для очистки приточного атмосферного и рециркуляционного воздуха от различных пылей, а также вентиляционных выбросов с малой концентрацией загрязнений применяют двухзонные электрофильтры ФЭ и РИОН (рис. 16,а). В электрофильтре загрязненный воздух проходит ионизатор, в состав которого входят положительные / и отрицательные 2 электроды.
Рис. 16. Электрофильтры
Ионизатор выполнен так, чтобы при скорости около 2 м/с частицы пыли успели зарядиться, но не смогли осесть на электроды. Зарядившиеся частицы пыли воздушными потоками увлекаются в осадитель, представляющий собой систему пластин осадительных электродов 3 и 4, где частицы оседают на пластинах противоположной полярности. Выбором расстояния между пластинами (6—7 мм) удается при сравнительно небольшом напряжении между пластинами (7 кВ) получить напряженность электрического поля 80—100 В/м, что достаточно для осаждения частиц субмикронных размеров. Далее воздух проходит противоуносный фильтр и выходит из аппарата. Эффективность пылеулавливания достигает 0,95, гидравлическое сопротивление чистого фильтра 30—50 Па, производительность но воздуху 1000 м3/ч и более, входная концентрация загрязнений не более 10 мг/м3.
Для очистки вентиляционных выбросов от туманов минеральных масел, пластификаторов и т. п. в ЦНИИ-промзданий разработаны электрические туманоуловители УПП (рис. 16,б). В корпусе 1 установлен электрический туманоуловитель 2 типа ФЭ, который питается от источника 4 напряжением 13 кВ. Подвод питания к электродам производят через высоковольтные электроизоляторы с клеммами 3. Загрязненный воздух через входной патрубок, распределительную решетку 8 и сетку 7 поступает к туманоуловителю, очищается от загрязнений и, пройдя брызгоуловитель 5, подается на выход из УПП. Жидкость, отделенная от воздуха, собирается в воронках 6, а затем сливается из УПП через гидрозатворы. Пропускная способность УПП по воздуху 5—30 тыс. м3/ч. УПП сочетают высокую эффективность улавливания загрязнений с низким гидравлическим сопротивлением и предназначены для использования в системах с температурой газов до 350 К.
Для средней и тонкой очистки воздуха от примесей в системах приточной и вытяжной вентиляции широко используют фильтры, в которых запыленный воздух пропускается через пористые фильтрующие материалы, способные задерживать пыль. Если размер частиц пыли больше размера пор фильтрующего материала, то действует поверхностный (сеточный) эффект пылеулавливания с образованием осадка на входе в фильтрующий элемент. Если размер частиц пыли меньше размера пор, то пыль проникает в фильтрующий материал и оседает на частицах или волокнах, образующих этот материал. Такой процесс фильтрования называется глубинным. На практике обычно осуществляются одновременно оба процесса фильтрования, так как размеры частиц пыли и пор всегда обладают определенным диапазоном распределения около их средних значений.
Осаждение твердых и жидких частиц на фильтрующий элемент происходит в результате контакта частиц с поверхностью пор. Механизм осаждения частиц обусловлен действием сил инерции, гравитационных сил, броуновской диффузией в газах и эффектом касания. Для частиц размером менее 0,1 мкм определяющим является процесс диффузии, а для частиц размером более 1 мкм — силы инерции.
В качестве фильтрующих материалов применяют ткани, войлоки, бумагу, сетки, набивки волокон, металлическую стружку, фарфоровые или металлические полые кольца, пористую керамику или пористые металлы.
Для очистки воздуха при запыленности менее 10 мг/м3 в системах вентиляции используют ячейковые фильтры (рис. 17,а,б), представляющие собой рамку или каркас с фильтрующими элементами, выполненными из набора металлических сеток (фильтры Рекка — ФяР), винипластовых сеток (ФяВ), пенополиуретана (ФяП), упругого стекловолокна (ФяУ), войлока и др. Выбор типа фильтрующего материала зависит от тонкости очистки, условий работы фильтра, химического состава примесей. Общим недостатком ячейковых фильтров является ограниченный срок их службы из-за быстрого засорения фильтрующего материала, что требует частой смены или регенерации (очистки) фильтрующих элементов. Этот недостаток частично устраняется при использовании рулонных фильтров (рис. 17,е), которые обычно не регенерируют.
Рис. 17. Фильтры:
а—каркасный; б — каркасный с предварительным фильтром; в —рулонный;
/ — каркас; 2 — фильтрующий элемент; 3 — волокновый фильтр; 4 — фильтр из материала ФП; 5 —ролик; 6 — барабан
Ячейковыми и рулонными фильтрами достигают эффективность очистки вентиляционного воздуха до 0,8 при гидравлическом сопротивлении фильтра 40—200 Па. Пылеемкость фильтров составляет 1500 г/м2 у фильтра ФяР; 200 — у ФяП; 300 — у рулонного фильтра из упругого стекловолокна.
Для повышения эффективности очистки фильтрующие сетки покрывают слоем масла. Такие фильтры применяют для очистки воздуха, подаваемого в помещение при концентрациях пыли до 200 мг/м3. Ряд конструкций представляет собой кассету, обтянутую сеткой и заполненную кольцами или гофрированными сетками. Эта кассета перед установкой в сеть погружается в веретенное или вазелиновое масло. Частицы пыли, проходя с воздухом через лабиринт отверстий, образуемых кольцами или сетками, задерживаются на их смоченной поверхности. Эффективность очистки достигает 0,95 и более.
В настоящее время широкое распространение получили самоочищающие масляные фильтры, в которых фильтрация осуществляется двумя непрерывно движущимися полотнами из металлической сетки. При загрязнении масляных фильтров сетки промывают в содовом растворе.
Для улавливания высокодисперсных аэрозолей с эффективностью очистки до 0,99 с частицами 0,05—0,5 мкм в вентиляционных системах широко используют фильтрующие материалы типа ФП. Скорость фильтрации составляет 0,01—0,15 м/с, гидравлическое сопротивление в процессе эксплуатации изменяется от 200 до 1500 Па. Во всех системах тонкой очистки с фильтрами из материала ФП целесообразно применять волокновые пред-фильтры (рис. 17,6), которые должны улавливать частицы крупнее 1 мкм.
Для очистки воздуха от туманов кислот, масел и других жидкостей используются волокновые и сеточные туманоуловители, принцип действия которых основан на осаждении капель смачивающей жидкости на поверхности пор с последующим стеканием жидкости под действием сил тяжести. Туманоуловители делят на низкоскоростные (скорость фильтрации №ф^0,15 м/с), в которых преобладающим является механизм диффузионного осаждения капель, и высокоскоростные (№ф = =0,5-f-5 м/с и более), в которых осаждение капель на поверхности пор происходит главным образом под воздействием инерционных сил.
Низкоскоростные туманоуловители обеспечивают очень высокую эффективность очистки (до 0,999) от частиц размером менее 3 мкм, полностью улавливая частицы большего размера. Волокновые слои формируются набивкой стекловолокна диаметром 7—30 мкм или полимерных волокон (лавсан, ПВХ, полипропилен) диаметром 12—40 мкм. Толщина слоя составляет 50— 150 мм. Гидравлическое сопротивление сухих фильтрующих элементов равно 200—1000 Па, а в режиме очистки без образования твердого осадка 1200—2500 Па.
Высокоскоростные туманоуловители имеют меньшие размеры и обеспечивают эффективность очистки газа от тумана с частицами менее 3 мкм, равную 0,90—0,98 при гидравлическом сопротивлении 1500—2000 Па.
Институтом НИИОгаз разработан для очистки воздуха, отходящехго от металлорежущих и холодновыса-дочных станков, низкоскоростной туманоуловитель типа Н-2000. Туманоуловитель (рис. 18,а) состоит из корпуса, в котором размещены две ступени очистки. Фильтр грубой очистки представляет собой легкосъемную кассету, в которой находится войлок или пакет вязаных гофрированных сеток.
Рис. 18.
Туманоуловители:
а — низкоскоростной Н-2000; / — корпус; 2 — патрон} 3 — фильтр грубой очистки; б — АЭ2-12; 1 — сливной кран; 2 — патрон; 3 — входной патрубок; 4 — фильтр-шумоглушитель; 5 — выходной патрубок; 6 — вентилятор; 7 — корпус
Он очищает поток от крупных жидких и твердых частиц. Фильтр тонкой очистки включает ряд вертикальных патронов, заполненных иглопробивным войлоком из лавсановых во-16 локон диаметром 18 мкм. Скорость фильтрации через вторую ступень составляет 0,1—0,15 м/с. При нагрузке по газу 1700 м3/ч и входной концентрации тумана до 42 мг/м3 агрегат имеет гидравлическое сопротивление около 450 Па и обеспечивает эффективность очистки, равную 0,85.
Серийно изготовляют агрегаты АЭ2-12 для улавливания масляного тумана, отходящего от металлорежущих станков (рис. 18,6). На первой ступени используется инерционный эффект очистки от крупных частия, вторая ступень низкоскоростная и выполнена в виде патронов, снаряженных многослойной тонкой сеткой, а третья ступень (фильтр-шумоглушитель) состоит из нескольких слоев дырчатой пенополиуретановой губки, которые размещены после вентилятора и служат одновременно глушителем шума. Производительность агрегата 750 м3/ч.
Концентрация масла на выходе из агрегатов Н-2000 и АЭ2-12 невелика, поэтому очищенный воздух из агрегатов обычно поступает в помещение цеха, обеспечивая рециркуляцию воздуха.
Важным вопросом при проектировании пыле- и туманоуловителей является возможность их использования в системах рециркуляции воздуха. В соответствии с нормами при использовании рециркуляции должны соблюдаться следующие условия: количество воздуха, поступающего извне, должно составлять не менее 10% общего количества, поступающего в помещение; воздух, возвращаемый в помещение, должен содержать не более 30% вредных веществ по отношению к их ПДК.
Рис. 19. Схемы абсорберов с насадкой (а) и барботаясно-пенных (б):
1 — корпус; 2 — брызгоуловитель; 3 — труба с форсунками; 4 — насадка; 5-г труба для отвода жидкости; 6 — решетка; 7 — гидрозатвор
Исходя из ПДК и обычных концентраций примесей эффективность очистки пыле- и туманоуловителей должна быть 0,90—0,95 и более. Очистка вытяжного вентиляционного воздуха от газо- и пылеобразных примесей основана на использовании ряда физико-химических методов. К ним относятся абсорбция, хемосорбция, адсорбция, каталитическое дожигание и др.
При абсорбции происходит поглощение жидкостями паро- и газообразных примесей очищаемого воздуха. Абсорберы применяют для очистки вентиляционного воздуха, отводимого от травильных и гальванических ванн, а также при очистке технологических выбросов. Хемосорбция заключается в промывке очищаемого воздуха растворами, вступающими в химические реакции с газообразными примесями в воздухе, такими, как двуокись серы, хлор, сероводород и т. п. Конструктивно абсорберы изготовляют в виде аппаратов с пористой или тарельчатой насадками (рис. 19,а), барботажно-пенных аппаратов (рис. 19,6) и др.Адсорбция представляет собой процесс поглощения газов или паров поверхностью твердых веществ — адсорбентов (активированный уголь, силикагель, глинозем). Адсорбенты применяют при малом содержании в воздухе паров растворителей, двуокиси серы и т. п.
Каталитическое дожигание применяют для превращения токсичных смесей газов в нетоксичные или малотоксичные. Так, при эксплуатации двигателей внутреннего сгорания в производственных помещениях отработавшие Тазы дожигают в специальных устройствах (рис. 20,а), где в присутствии катализатора (платины, никеля, меди и др.) протекают реакции снижающие токсичность выхлопа двигателей внутреннего сгорания
Рис. 20. Схемы каталитического (а) и высокотемпературного (б) дожигателя:/ — корпус; 2 — каталитическая решетка; 3— горелка; 4 — трубопровод для подвода газа на дожигание
Высокотемпературные дожигатели (рис. 20,6) применяют для нейтрализации смесей газов и паров, содержащих в избытке окислитель или горючее. Для дожигания смесей с избытком горючего в зону горения вводят воздух или кислород, а для дожигания смесей с избытком окислителя — природный газ.
52. Значение состояния воздушной среды. Причины и характер загрязнения воздуха рабочей зоны
В воздухе рабочей зоны для создания высокопроизводительного и здорового труда необ-мо поддерживать нормальные метеоусловия, определяющие химический состав воздуха и его чистоту. Чистый воздух: азот 78,08%, кислород 20,95%, аргон, неон 0,93%, СО2 0,03%, прочие 0,01%. Благотворно влияют на организм отрицательные ионы. Воздух рабочей зоны содержит пары, газы, твёрдые и жидкие частицы. Пары и газы образуют с воздухом смеси, а твёрдые и жидкие частицы вещества – дисперсные системы (пыль – размер твердых частиц более 1 мкм, дым – менее 1, туман - размер жидких частиц менее 10 мкм.). ВВ проникают в организм через дыхательные пути, кожу и пищу. Все ВВ по степени воздействия на организм человека подразделяют: 1) чрезвычайно опасные ПДК0,1 мг/м3 2) высокоопасные ПДК 1 3) умеренно опасные ПДК 10 4)малоопасные ПДК 10
53. Что такое «оптимальные» и «допустимые» параметры микроклимата рабочей зона. Какими факторами обуславливается их величины
Нормирование параметров микроклимата
Микроклимат на раб. месте характеризуется:
-
температура, t, С;
-
относительная влажность, , %;
-
скорость движения воздуха на раб. месте, V, м/с;
-
интенсивность теплового излучения W, Вт/м2;
-
барометрическое давление, р, мм рт. ст. (не нормируется)
В соответствии с ГОСТ 12.1.005-88 нормируемые параметры микроклимата подразделяются на оптимальные и допустимые. Оптимальные параметры микроклимата — такое сочетание температуры, относит. влажности и скорости воздуха, которое при длительном и систематическом воздействии не вызывает отклонений в состоянии человека. t = 22 - 24, С = 40 - 60, % V 0,2 м/с Допустимые параметры микроклимата — такое сочетание параметров микроклимата, которое при длительном воздействии вызывает приходящее и быстро нормализующееся изменение в состоянии работающего. t = 22 - 27, С, 75, %, V = 0,2-0,5 м/с Рабочая зона — пространство над уровнем горизонтальной поверхности, где выполняется работа, высотой 2 метра. Рабочее место — (м.б. постоянным или непостоянным), где выполняется технологическая операция. Для определения нормы микроклимата на рабочем месте, необходимо знать 2 фактора: 1. Период года (теплый, холодный). + 10 С граница
-
Категория выполняемой работы, которая подразделяется в зависимости от энергозатрат: легкую (Iа — до 148 Вт, Iб — 150-174 Вт); средней тяжести (IIа — 174-232 Вт, IIб — 232-292 Вт); тяжелая (III — свыше 292 Вт).
54. Дать полную характеристику достоинств и недостатков обоих видов вентиляций зданий: естественной (аэрации) и искусивенной (принудительной). Расчет приточной вентиляции
ЕСТЕСТВЕННАЯ вентиляция создает необходимый воздухообмен за счет разности плотности теплого и холодного воздуха, находящегося внутри помещения и более холодного снаружи, а также за счет ветра.
Организованный и регулируемый естественный воздухообмен называется АЭРАЦИЕЙ.
Различают БЕСКАНАЛЬНУЮ и КАНАЛЬНУЮ аэрацию. Первая осуществляется при помощи фрамуг (поступление воздуха) и вытяжных фонарей (выход воздуха), рекомендуется в помещениях большого объема и в цехах с большими избытками тепла. Канальная аэрация обычно устраивается в небольших помещениях и состоит из каналов в стенах, а на выходе каналов-на крышках-устанавливаются дефлекторы-устройства, создающие тягу при обдувании их ветром.
Естественная вентиляция экономична и проста в эксплуатации. Недостатками ее является то, что воздух не подвергается очистке и подогреву при поступлении, удаляемый воздух также не очищается и загрязняет атмосферу. МЕХАНИЧЕСКАЯ вентиляция состоит из воздуховодов и побудителей движения (механических вентиляторов или эжекторов. Воздухообмен осуществляется независимо от внешних метеорологических условий, при этом поступающий воздух может подогреваться или охлаждаться, подвергаться увлажнению либо осушению. Выбрасываемый воздух подвергается очистке. Механическая общеобменная вентиляция может быть :
а)приточная ;
б)вытяжная ;
в)приточно-вытяжная.
Приточная система вентиляции производит забор воздуха через воздухозаборное устройство, затем воздух проходит через калорифер, где воздух нагревается и увлажняется и вентилятором подается по воздухопроводам в помещение через насадки для регулировки притока воздуха. Загрязненный воздух вытесняется через двери, окна, фонари, щели. Вытяжная вентиляция удаляет загрязненный и перегретый воздух через воздухоотводы и очиститель, а свежий воздух поступает через окна, двери и неплотности конструкций.
Приточно-вытяжная система вентиляции состоит из приточной и вытяжной, работающих одновременно.
Местная вентиляция проветривает места непосредственного выделения вредностей и она также может быть приточной или вытяжной. Вытяжная вентиляция удаляет загрязненный воздух по воздуховодам; воздух забирается через воздухоприемники, которые могут быть выполнены в виде :
- вытяжного шкафа
- вытяжного зонта
- бортовых отсосов
Местные отсосы устраиваются непосредственно у мест выделения вредностей : у электро и газосварочных рабочих мест, в зарядных отделениях аккумуляторных цехов, у гальванических ванн.
Для улучшения микроклимата ограниченной зоны помещения применяется местная приточная вентиляция в виде воздушного душа, воздушного оазиса-участка с чистым прохладным воздухом, воздушной завесы. Воздушная завеса применяется для предотвращения поступления в помещение наружного холодного воздуха. Для этого в нижней части проема устраивается воздухоотвод со щелью, из которой теплый воздух подается навстречу потоку холодного под углом 30-45 град. со скоростью 10-15 м/сек.
| Естественная | Механическая | |
| + |
|
|
| - | 1. Отсутствие систем очистки 2. Зависимость от погодных условий | 1. Затраты при проектировании |
Расчет вентиляционной установки сводится к: 1)к выбору схемы её расположения 2) к расчету диаметров воздуховодов участков 3) к определению перемещения воздухов в данном участке 4) определение величины воздухообмена 5) к определению сопротивления перемещаемого воздуха в системе 6) к подбору вентилятора 7) к подбору электродвигателя.
-
Устройство для удаления воздуха
-
Вентилятор
-
Система возуховодов
-
Пыле- и газоулавливающие устройства
-
Фильтры
-
Устройство для выброса воздуха
1)
, где L-необходимый воздухообмен, W-кол-во ВВ(лимитирующее ВВ-явл.то, отношение кол-ва которого ПДК max), qуд и qпр –концентрации данного ВВ, соот-но в удаляемом и приточном воздухе, n- коэф., учитывающий схему расположения установки. При затруднении определения qуд и qпр, qуд=ПДК, qпр=0,3ПДК.
2) если требуется избавиться от избытков теплоты, то
, где Qизб – избытки явной теплоты, С – теплоёмкость, tуд, tпр – t’ удаляемого и приточного воздуха, пр – плотность приточного воздуха
Нв=Нвс+Нд+Ннагн, (всасывания, динамики, нагнетательная), Нд=*V2/2q, - объёмный вес воздуха, V – скорость воздуха в вентиляторе, q – ускорение силы тяжести = 9,8м/с2
Нвс(наг)= Ri*li+zj, Ri – сопротивление перемещения воздуха i-го участка на 1 погонный м, li – длина i-го участка в м, z- местное сопротивление
3)подбирается вентилятор по L, Hm и max К,П,Д, 4) определяем мощность на валу вентилятора Nв=L*Hв/3600*102*в, где в-КПД вентилятора 5)определяем установочную мощность на валу электродвигателя Ny=K3*Nв/n, где К3 – коэф. Запаса, n – КПД передачи.
55. Источники возникновения ЭМП и их влияние на организм человека. Параметры и нормы
Действие эпм на организм заключается в поляризации атомов и молекул, ориентации их по направлению полей, появление ионных токов. Перечисленные процессы нарушают структуру эл.потенциалов. циркуляцию жидкости в клетках, изменяют состав крови. Эл. магн. поле большой интенсивности приводит к перегреву тканей, воздействует на органы зрения и органы половой сферы. Умеренной интенсивности: нарушение д-ти центральной нервной системы; сердечно-сосудистой; нарушаются биологические процессы в тканях и клетках. Малой интенсивности: повышение утомляемости, головные боли; выпадение волос. Субъективные ощущения облучаемого – жалобы на частую головную боль, сонливость или бессонницу, быструю утомляемость, вялость, снижение памяти, головокружение, рассеянность, помутнение хрусталика, появление необоснованного чувства страха, мутагенное воздействие. Источники: индукторы, конденсаторы, трансформаторы.
Классификация:
| Наименование | Длина | Диапазон частот |
| 1.Высокочастотные | ||
| Длинные | 1-3 км | 100 Гц – 30 мГц |
| Средние | 1 км – 100 м | |
| Короткие | 100 м – 10 м | |
| 2.Ультравысокие | 10 м – 1 м | 30 мГц – 300 мГц |
| 3. Сверхвысокие | 1 м - 1 мм | 300 мГц – 300000 мГц |
ГОСТ 12.1.006-84
Нормируемым параметром эл. магн. поля в диапазоне частот 60 кГц-300 МГц является предельно-допустимое значение составляющих напряженностей эл. и магнитных полей.
Нормируемым параметром эл. магн. поля в диапазоне частот 300 МГц-300 ГГц является предельно-допустимое значение плотности потока энергии.
ППЭПД - предельное значение плотности потока энергии [Вт/м2],[мкВт/см2]
Пред. величина ППЭпд не более 10 Вт/м2 ; 1000 мкВт/см2 в производственном помещении.
В жилой застройке при круглосуточном облучении в соответствии с СН ППЭпд не более 5 мкВт/см2
56. Существующие средства защиты от воздействия ЭМП. Нормирование ЭМП
ГОСТ 12.1.006-84
Нормируемым параметром эл. магн. поля в диапазоне частот 60 кГц-300 МГц является предельно-допустимое значение составляющих напряженностей эл. и магнитных полей.
Нормируемым параметром эл. магн. поля в диапазоне частот 300 МГц-300 ГГц является предельно-допустимое значение плотности потока энергии.
ППЭПД - предельное значение плотности потока энергии [Вт/м2],[мкВт/см2]
Пред. величина ППЭпд не более 10 Вт/м2 ; 1000 мкВт/см2 в производственном помещении.
В жилой застройке при круглосуточном облучении в соответствии с СН ППЭпд не более 5 мкВт/см2
Для защиты человека в установках и сетях высокого напряжения применяются экраны, экранирующие козырьки и тросы, которые заземляются (ГОСТ 12.4.154-85. Устройства экранирующие для защиты от электрических полей промышленной частоты) В качестве индивидуальной защиты применяется защитный костюм из металлизированной ткани : комбинезон, каска и ботинки с проводящими подошвами. Все части костюма соединяются гибкими проводниками.
Металлический экран изменяет картину электрического поля : линии емкостного тока направляются к экрану, а емкостной ток стекает в землю по заземляющему проводнику.
Стационарные козырьки, навесы и перегородки выполняются из металлической сетки с ячейками 50х50 мм, которая заземляется. Козырьки устанавливают над шкафами аппаратуры управления и щитами. Ширина козырька 1 м. Эффективной защитой является подвеска заземленных тросов, которые подвешиваются в рабочей зоне под токоведущими проводами. Например, заземляющий трос, подвешенный на высоте 2,5 м над землей под фазами соединительных шин 750 кВ снижает потенциал в рабочей зоне с 30 до 13 кВ.
57. Свойства ионизирующих излучений и их влияние на организм человека. Лучевая болезнь
Радиоактивные излучения (альфа-,бета-частицы, нейтроны, гамма-кванты) обладают различной проникающей и ионизирующей способностью. Наименьшей проникающей способностью обладают альфа-частицы(ядра гелия), длина пробега которых в ткани человека составляет доли миллиметра и в воздухе —несколько сантиметров. Они не могут даже пройти через лист бумаги, но обладают наибольшей ионизирующей способностью. Бета-частицы по сравнению с альфа-частицами обладают большей проникающей способностью (длина пробега в воздухе составляет метры) и уже задерживаются не бумагой, а более твердыми материалами ( алюминий, оргстекло и др.). Однако ионизирующая способность бета-частиц (электроны, позитроны) в 1000 раз меньше альфа-частиц и при пробеге в "воздухе на 1 см пути образует несколько десятков пар ионов. Гамма-кванты по своей природе относятся к электромагнитным излучениями и обладают большой проникающей способностью (в воздухе до нескольких километров); их ионизирующая способность существенно меньше , чем у альфа- и бета-частиц. Нейтроны (частицы ядра атома) обладают также значительной проникающей способностью, что объясняется отсутствием у них заряда. Их ионизирующая способность связана с так называемой «наведенной радиоактивностью», которая образуется в результате «попадания» нейтрона в ядро атома вещества и тем самым нарушает его стабильность, образует радиоактивный изотоп. Ионизирующая способность нейтронов при определенных условиях может быть аналогичной альфа-излучению
Ионизирующие излучения, обладающие большой проникающей способностью представляют опасность в большей степени при внешнем облучении, а альфа- и бета-излучения при непосредственном воздействии на ткани организма при попадании внутрь организма с вдыхаемым воздухом, водой, пищей.
Изменения на клеточном уровне различают:
-
Соматические или телесные эффекты, последствия которых сказываются на человеке, но не на потомстве.
-
Стохастические (вероятностные): лучевая болезнь, лейкозы, опухоли.
-
Нестохастические — поражения, вероятность которых растет по мере увеличения дозы облучения. Существует дозовый порог облучения.
-
Генетические. 100%-я доза летальности при облучении всего тела 6 Гр, доза 50% выживания — 2,4-4,2 Гр. Лучевая болезнь — более одного Гр. У большинства кажущиеся клиническое улучшение длится 14 — 20 суток.
Период восстановления продолжается 3-4 месяца. Повышенной опасностью обладают радионуклиды, попавшие внутрь (с пищей, воздухом, водой).
Наиболее опасен воздушный путь (за 6 ч. вдыхает 9 м
воздуха, 2,2 л воды).
Биологические периоды выведения радионуклидов из внутренних органов колеблется от нескольких десятков суток до бесконечности.
Стронций — 90; Несколько десятков суток C14,Na24
В результате воздействия ионизирующих излучений возникают лучевая болезнь, которая может быть острой и хронической, в виде общих и местных поражений. Общее действие вызывает лейкемию (белокровие), местные - ведут к заболеваниям кожи и злокачественным опухолям, возникают и наследственные заболевания, проявляющиеся в следующих поколениях.
Острые поражения наступают при облучении большими дозами в течение короткого промежутка времени. Острая лучевая болезнь характерна цикличностью ее протекания и имеет четыре периода :
1)первичная реакция 2)видимое благополучие (скрытый период)
3)разгар болезни 4)выздоровление (либо смерть).
Первичные реакции : через несколько часов после облучения тошнота и рвота, головокружение, вялость, учащение пульса, иногда, повышение температуры, увеличение числа белых кровяных телец (лейкоцитов);
Скрытый период - 1-2 недели, чем короче этот период - тем тяжелее исход заболевания;
Разгар болезни : тошнота, рвота, подъем температуры до 41 град., кровотечение из десен, носа, внутренних органов, резкое снижение числа лейкоцитов. Смерть наступает через 12-18 дней после облучения;
Выздоровление наступает через 25-39 дней, но чаще неполное раннее старение, обострение прежний болезней.
Хронические поражения бывают общими и местными, чаще скрытые.
Различают три степени хронической лучевой болезни : 1)легкая - незначительное головокружение, вялость, слабость, нарушение сна, аппетита; 2)эти признаки усиливаются, нарушение обмена веществ, кровоточивость и пр. 3)еще более усиливаются указанные признаки, кровотечения, выпадения волос.
Характер и тяжесть заболеваний зависит от поглощенной дозы облучения, мощности его, вида излучения, энергии частиц, а также от биологических особенностей облучаемой части тела и индивидуальной чувствительности к облучению. Ионизирующие излучения поражают главным образом глаза, кроветворные органы (костный мозг), железы внутренней секреции и кожи (лучевая болезнь).
58. Мероприятия по защите от ионизирующих излучений
Основные направления: 1) организационные мероприятия – требования к помещению, хранению, перевозки ИИ 2) технические мероприятия - применение защитных экранов, манипуляторов, роботов 30 лечебно-профилактические - более частый медосмотр , спецпитание, и специальные средства лечения. 4) СИЗ – спецодежда, респираторы, пневмошлемы и пневмокостюмы.
59. Требования охраны труда к размещению предприятий. Что такое санитарно-зашитная зона
Предприятия, их отдельные здания и сооружения с техническими процессами, являющимися источниками выделения в окружающую среду вредных и неприятно пахнущих веществ и других производственных вредностей (шума, электромагнитных и ионизирующих излучений и др.) отделяются от жилой застройки санитарно-защитными зонами. СЗЗ – это территория между производственными помещениями, складами или установками, выделяющими производственные вредности, и жилыми лечебно-профилактическими стационарного типа и культурно-бытового значения зданиями, зданиями жилого района Санитарными нормами в зависимости от мощности предприятий, характера и количества выделяемых вредностей установлены 5 классов предприятий, для которых установлен определенный размер санитарно-защитных зон :
I-1000 м; II-500 м; III-300 м; IV-100 м; V-50 м. Например : к первому классу относятся заводы производства аммиака, удобрений, предприятия по добыче свинцовых руд, ртути, свалки нечистот и др.
К пятому классу - машиностроительные небольшие предприятия, заводы полиграфических красок и др.
В данной санитарно-защитной зоне могут размещаться предприятия с низшим классом, а также пожарное депо, бани, и т.п. Территория предприятий и санитарно-защитная зона должны быть озеленены и благоустроенны, т.е. устраиваются дороги, пешеходные дорожки, отвод ливневых вод и освещение.
60. Характеристика материалов и конструкций по группам возгораемости
| Группа возгораемости | Характеристика по возгораемости | |
| материалов | конструкций | |
| Несгораемые Трудносгораемые Сгораемые | Под воздействием огня или высокой температуры не воспламеняются, не тлеют и не обугливаются Под воздействием огня или высокой температуры воспламеняются, тлеют или обугливаются и продолжают гореть или тлеть только при наличии источника огня, а после его удаления горение и тление прекращаются Под воздействием огня или высокой температуры воспламеняются или тлеют и продолжают гореть или тлеть после удаления источника огня | Выполненные из несгораемых материалов Выполненные из труд. носгораемых материалов, а также из сгораемых материалов, защищенных от огня или высокой температуры несгораемыми материалами Выполненные из сгораемых материалов |
Температура вспышки — минимальная температура, при которой над поверхностью жидкости образуется смесь паров этой жидкости с воздухом, способная гореть при поднесении открытого источника огня. Процесс горения прекращается после удаления этого источника.
Температура воспламенения — минимальная температура, при которой вещество загорается от открытого источника огня и продолжает гореть после его удаления.
Температура самовоспламенения — минимальная температура, при которой происходит его воспламенение на воздухе за счет тепла химической реакции без поднесения открытого источника огня.
Горючие газы и пыль имеют концентрационные пределы взрываемости.
61. Огнестойкость строительных конструкций
В
оценке противопожарных качеств зданий и сооружений большое значение имеет их огнестойкость — это способность строительных конструктивных элементов здания выполнять несущие и ограждающие функции в условиях пожара в течение определенного времени. Она характеризуется пределом огнестойкости.
Пределы огнестойкости конструкций объекта должны быть такими, чтобы конструкции сохранили несущие и ограждающие функции в течение всей продолжительности эвакуации людей или пребывания их в местах коллективной защиты. При этом пределы огнестойкости должны назначаться без учета воздействия средств тушения на развитие пожара.
Предел огнестойкости строительных конструкций определяется временем (ч) от начала пожара до возникновения одного из признаков: а) образования в конструкции сквозных трещин; б) повышения температуры на необогреваемой поверхности конструкции в среднем более чем на 140° С или в какой-либо точке этой поверхности более чем на 180° С по сравнению с температурой конструкции до испытания, или более 220° С независимо от температуры конструкции до испытания; г) потери конструкцией несущей способности.Предел огнестойкости отдельных строительных конструкций зависит от их размеров (толщины или сечения) и физических свойств материалов. Степень огнестойкости здания зависит от степени возгораемости и предела огнестойкости основных строительных конструкций его. Все здания и сооружения по огнестойкости подразделяются на пять степеней.
| Степень огнестойкости | Основные строительные конструкции | |||||
| несущие стены, стены лестничных клеток, колонны | наружные стены из навесных панелей и наружные фахверковые стены | плиты, настилы и другие несущие конструкции междуэтажных и чердачных перекрытий | плиты, настилы и другие несущие конструкции покрытий | внутренние несущие стены (перегородки) | противопожарные стены | |
| I II III IV V | Несгораемые (2,5) Несгораемые (2,0) Несгораемые (2,0) Трудносгораемые (0,5) Сгораемые | Несгораемые (0,5) Несгораемые (0,25); трудносгораемые (0,5) Несгораемые (0,25); трудносгораемые (0,15) Трудносгораемые (0,25) Сгораемые | Несгораемые (1.0) Несгораемые (0,75) Трудносгораемые (0,75) Трудносгораемые (0,25) Сгораемые | Несгораемые (0,5) Несгораемые (0,25) Сгораемые » » | Несгораемые (0,5) Трудносгораемые (0,25) Трудносгораемые (0,25) Трудносгораемые (0,25) Сгораемые | Несгораемые (2,5) Несгораемые (2,5) Несгораемые (2,5) Несгорае-. мые (2,5) Несгораемые (2,5) |
62. Указать виды опасности при облуживании технологического оборудования. Что такое безопасные условия труда
Производственная среда — это часть техносферы, обладающая повышенной совокупностью негативных факторов. Основными носителями травмирующих и вредных факторов в производственной среде являются машины и другие технические устройства, химически и биологически активные предметы труда, источники энергии, нерегламентированные действия работающих, нарушения режимов и организации деятельности, а также отклонения от допустимых параметров микроклимата рабочей зоны.
Виды опасности при облуживании технологического оборудования:
-
опасности при монтаже, эксплуатации и ремонте как отдельно, так и в составе комплексов и технологических схем, а также при транспортировании и хранении
-
пожаровзрывозопасность
-
опасность загрязнения окружающей среде выбросами вредных веществ выше установленных норм
-
нарушение надежности работы оборудования
-
материалы, применяемые в конструкции производственного оборудования, могут быть опасными и вредными
-
случайное повреждение составных частей оборудования вызывающее опасность
-
возможность случайного соприкосновения работающих с горячими (> + 45 °С) и переохлажденными частями
-
превышение предельно допустимых концентраций выделения и поглощения оборудованием тепла, а также выделения им влаги в рабочей зоне
-
опасность поражения электрическим током и накопления зарядов статического электричества в опасных количествах
-
уровень шума, ультразвука, вибрации, а также вредных излучений
Условия труда, при которых воздействие на работающего вредных и опасных производственных факторов исключено или их уровень не превышает гигиенических нормативов (Р.2.2755—99 «Гигиенические критерии оценки условий труда по показателям вредности и опасности факторов производственной среды, тяжести и напряженности трудового процесса»), называют безопасными условиями труда. Безопасные условия труда — это оптимальные (1-й класс) и допустимые (2-й класс) условия.
63. Условия труда. Вредные и опасные производственные факторы. Классы условий труда по степени вредности и опасности
Условия труда — это совокупность факторов производственной среды и трудового процесса, оказывающих влияние на здоровье и работоспособность человека в процессе труда.
В соответствии с ГОСТ 12.0.002—80 различают четыре группы факторов трудовой деятельности:
-
физические факторы, включающие микроклиматические параметры и запыленность воздушной среды, все виды излучений, виброакустические характеристики рабочего места и качество освещения;
-
химические факторы, включающие некоторые вещества биологической природы;
-
биологические факторы, куда отнесены патогенные микроорганизмы, белковые препараты, а также препараты, содержащие живые клетки и споры микроорганизмов;
-
факторы трудового процесса.
Условия труда, при которых воздействие на работающего вредных и опасных производственных факторов исключено или их уровень не превышает гигиенических нормативов (Р.2.2755—99 «Гигиенические критерии оценки условий труда по показателям вредности и опасности факторов производственной среды, тяжести и напряженности трудового процесса»), называют безопасными условиями труда.
Условия труда в целом оцениваются по четырем классам:
-
безопасные условия труда — это оптимальные (1-й класс) и допустимые (2-й класс) условия.
оптимальные (комфортные) условия труда (1-й класс) обеспечивают максимальную производительность труда и минимальную напряженность организма человека. Этот класс установлен только для оценки параметров микроклимата и факторов трудового процесса. Для остальных факторов условно оптимальными считаются такие условия труда, при которых неблагоприятные факторы не превышают безопасных пределов для населения.
-
допустимые условия труда (2-й класс) характеризуются такими уровнями факторов среды и трудового процесса, которые не превышают установленных гигиеническими нормативами для рабочих мест. Возможные изменения функционального состояния организма восстанавливаются во время регламентированного отдыха или к началу следующей смены и не должны оказывать неблагоприятное воздействие в ближайшем и отдаленном периоде на состояние здоровья работающего и его потомство. Оптимальный и допустимый классы соответствуют безопасным условиям труда.
-
вредные условия труда (3-й класс) характеризуются наличием вредных производственных факторов, превышающих гигиенические нормативы и оказывающих неблагоприятное воздействие на организм работающего и/или его потомства. В зависимости от уровня превышения нормативов факторы этого класса подразделяются на четыре степени вредности:
-
вызывающие обратимые функциональные изменения организма;
-
приводящие к стойким функциональным нарушениям и росту заболеваемости;
-
приводящие к развитию профессиональной патологии влегкой форме и росту хронических заболеваний;
-
приводящие к возникновению выраженных форм профессиональных заболеваний, значительному росту хронических и высокому уровню заболеваемости с временной утратой трудоспособности.
-
-
травмоопасные (экстремальные) условия труда (4-й класс). Уровни производственных факторов этого класса таковы, что их воздействие на протяжении рабочей смены или ее части создает угрозу для жизни и/или высокий риск возникновения тяжелых форм острых профессиональных заболеваний.
Работа в условиях несоответствия нормативным требованиям возможна только с сокращением времени воздействия вредных производственных факторов, т. е. сокращением рабочей смены — защита временем.
64. Виды электротравм и ударов. Характер воздействия тока на организм человека (электроофтельмия). Оказание ПМП при поражении электрическим током
Все электротравмы условно можно свести к двум видам:
-
местным электротравмам: электрические ожоги, электрические знаки, металлизация кожи, механические повреждения и электроофтальмия
-
общим электротравмам (электрическим ударам).
Местные электротравмы — это четко выраженные местные повреждения тканей организма, вызванные воздействием электрического тока или электрической дуги.
Электрические ожоги могут быть вызваны протеканием тока через тело человека (токовый или контактный ожог), а также воздействием электрической дуги на тело (дуговой ожог).
Электрические знаки — это четко очерченные пятна серого или бледно-желтого цвета диаметром 1—5 мм на поверхности кожи человека, подвергшегося действию тока. Электрические знаки безболезненны, и лечение их заканчивается, как правило, благополучно.
Meталлизация кожи — это проникновение в верхние слои кожи мельчайших частичек металла, расплавившегося под действием электрической дуги.
Механические повреждения являются следствием резких непроизвольных судорожных сокращений мышц под действием тока, проходящего через тело человека. В результате могут произойти разрывы кожи, кровеносных сосудов и нервной ткани, вывихи суставов и даже переломы костей.
Электроофтальмия — воспаление наружных. оболочек глаз, возникающее в результате воздействия мощного потока ультрафиолетовых лучей электрической дуги. Обычно болеэнь продолжается несколько дней.
Электрический удар — это возбуждение живых тканей организма проходящим через него электрическим током, сопровождающееся непроизвольными судорожными сокращениями мышц. Различают следующие четыре степени ударов: I — судорожное сокращение мышц без потери сознания; II — судорожное сокращение мышц с потерей сознания, но с сохранившимся дыханием и работой сердца; III — потеря сознания и нарушение сердечной деятельности или дыхания (либо того и другого вместе); IV — клиническая смерть, т. е. отсутствие дыхания и кровообращения.
Клиническая («мнимая») смерть — переходный процесс от жизни к смерти, наступающий с момента прекращения деятельности сердца и легких.
Биологическая (истинная) смерть — необратимое явление, характеризующееся прекращением биологических процессов в клетках и тканях организма и распадом белковых структур; она наступает по истечении периода клинической смерти.
Первая доврачебная помощь при несчастных случаях от электрического тока состоит из двух этапов:
1)освобождение пострадавшего от действия тока
2)оказание ему медицинской помощи.
Освобождение пострадавшего от действия тока может быть осуществлено несколькими способами. Наиболее простой и верный способ — это отключение соответствующей части электроустановки. Если отключение быстро произвести почему-либо нельзя (например, далеко расположен выключатель), можно при напряжении до 1000 В перерубить провода топором с деревянной рукояткой или оттянуть пострадавшего от токоведущей части, взявшись за его одежду, если она сухая, отбросить от него провод с помощью деревянной палки и т. п.
При напряжении выше 1000 В следует применять диэлектрические перчатки, боты и в необходимых случаях изолирующую штангу или изолирующие клещи, рассчитанные на соответствующее напряжение.
Меры первой медицинской помощи пострадавшему от электрического тока зависят от его состояния. Если пострадавший в сознании, но до этого был в обмороке или продолжительное время находился под током, ему необходимо обеспечить полный покой до прибытия врача или срочно доставить в лечебное учреждение.
При отсутствии сознания, но сохранившихся дыхании и работе сердца нужно ровно и удобно уложить пострадавшего на мягкую подстилку, расстегнуть пояс и одежду, обеспечить приток свежего воздуха. Следует давать нюхать нашатырный спирт, обрызгивать лицо холодной водой, растирать и согревать тело.
Если пострадавший плохо дышит — редко, судорожно или если дыхание постепенно ухудшается, в то время как во всех этих случаях продолжается нормальная работа сердца, необходимо делать искусственное дыхание.
При отсутствии признаков жизни надо делать искусственное дыхание и наружный массаж сердца.
Искусственное дыхание должно быть начато немедленно после освобождения пострадавшего от действия тока и выявления его состояния. Оно должно производиться методом, известным под названием «изо рта в рот».
Наружный массаж сердца имеет целью искусственно поддержать в организме кровообращение и восстановить самостоятельную деятельность сердца.
Одновременно с массажем сердца нужно выполнять искусственное дыхание (вдувание). Вдувание надо производить в промежутках между надавливанием или же во время специальной паузы через каждые 4—5 надавливаний. Если помощь оказывает один человек, он обязан чередовать операции: после двух вдуваний воздуха производить 15 надавливаний на грудную клетку.
О восстановлении деятельности сердца у пострадавшего судят по появлению у него собственного, не поддерживаемого массажем регулярного пульса. Для проверки пульса необходимо прервать массаж на 2—3 сжать ему нос.
Защитными средствами называют приборы, аппараты и переносные приспособления, предназначенные для защиты персонала, работающего у электроустановок, от поражения электрическим током, электрической дугой и т. п.
Изолирующие защитные средства подразделяют на основные и дополнительные.
К основным изолирующим средствам относятся такие, которые надежно выдерживают рабочее напряжение электроустановки, и с их помощью человек может касаться токоведущих частей, находящихся под напряжением:
-
выше 1000 В: оперативные и измерительные штанги, изолирующие и токоизмерительные клещи, указатели напряжения, изолирующие устройства и приспособления для ремонтных работ
-
до 1000 В: оперативные штанги и клещи, диэлектрические перчатки, инструмент с изолированными ручками и указатели напряжения.
Дополнительные средства сами по себе не могут обеспечить безопасность и применяются только в дополнение к основным:
-
выше 1000 В: диэлектрические перчатки, диэлектрические боты, диэлектрические коврики и изолирующие подставки на фарфоровых изоляторах
-
до 1000 В: диэлектрические галоши, диэлектрические резиновые коврики и изолирующие подставки.
При обслуживании электроустановок диэлектрические перчатки, рукавицы, боты и галоши разрешается использовать только специально для этой цели изготовленные, отвечающие установленным требованиям. Применение резиновых перчаток, рукавиц, бот и галош, предназначенных для других целей (бытовые и др.), не допускается.
65. Сравнительная оценка естественных и антропогенных ионизирующих излучений
Растения имеют в 10 и 100 раз меньшую концентрацию естественных радионуклидов, чем в почве. Обратная ситуация имеет место с антропогенными источниками ИИ. Концентрация в растениях радионуклеидов превышает их концентрацию в почве в 70-100 раз. Концентрация в животных, рыбе - в 10-10000 раз больше, чем в зараженной воде. Стронций 90 по своим хим. Св-вам аналогичен кальцию.
66. Взаимодействие и трансформация загрязнений в окружающей среде, вторичные явления: смог, кислотные дожди, разрушение озонового слоя
Загрязнение атмосферы. Атмосферный воздух всегда содержит некоторое количество примесей, поступающих от естественных и техногенных источников. К числу примесей, выделяемых естественными источниками, относят: пыль (растительного, вулканического, космического происхождения, возникающую при эрозии почвы, частицы морской соли); туман; дым и газы от лесных и степных пожаров; газы вулканического происхождения; различные продукты растительного, животного происхождения и др. Основное техногенное загрязнение атмосферного воздуха создают автотранспорт, теплоэнергетика и ряд отраслей промышленности. Самыми распространенными токсичными веществами, загрязняющими атмосферу, являются: оксид углерода СО, диоксид серы SO2, оксиды азота NOX, углеводороды СНm и пыль. Кроме этого, в атмосферу выбрасываются и другие, более токсичные вещества. В настоящее время насчитывается более 500 вредных веществ, загрязняющих атмосферу, их количество увеличивается. Высокие концентрации и миграция примесей в атмосферном воздухе стимулируют их взаимодействие с образованием более токсичных соединений (смога, кислот) или приводят к таким явлениям, как «парниковый эффект» и разрушение озонового слоя. Смог весьма токсичен, так как его составляющие обычно находятся в пределах: О3 —60...75 %, ПАН (пероксиацилнитраты), Н2О2, альдегиды и др.— 25...40 %. Для образования смога в атмосфере в солнечную погоду необходимо наличие оксидов азота и углеводородов (их выбрасывают в атмосферу автотранспорт, промышленные предприятия). Фотохимические смоги, впервые обнаруженные в 40-х годах XX в. в г. Лос-Анджелес, теперь периодически наблюдаются во многих городах мира.
Кислотные дожди известны более 100 лет, однако проблема этих дождей возникла около 25 лет назад. Источниками кислотных дождей служат газы, содержащие серу и азот. Наиболее важные из них: SO2, NO, H2S. Кислотные дожди возникают вследствие неравномерного распределения этих газов в атмосфере. Например, концентрация SO2 (мкг/м3) обычно такова: в городе 50... 1000, на территории около города в радиусе около 50 км 10...50, в радиусе около 150 км 0,1...2, над океаном 0,1. Источниками поступления соединений серы в атмосферу являются: естественные (вулканическая деятельность, действия микроорганизмов и др.) 31...41 %, антропогенные (ТЭС, промышленность и др.) 59...69 %; всего поступает 91...112 млн т в год. Из соединений азота основную долю кислотных дождей дают NO и NO2.. Источниками соединений азота являются: естественные (почвенная эмиссия, грозовые разряды, горение биомассы и др.) 63 %, антропогенные (ТЭС, автотранспорт, промышленность) 37 %; всего поступает 51...61 млн т в год. Серная и азотная кислоты поступают в атмосферу также в виде тумана и паров от промышленных предприятий и автотранспорта. В городах их концентрация достигает 2 мкг/м3. Соединения серы и азота, попавшие в атмосферу, вступают в химическую реакцию не сразу, сохраняя свои свойства соответственно в течение 2 и 8... 10 сут. За это время они могут вместе с атмосферным воздухом пройти расстояния 1000...2000 км и лишь после этого выпадают с осадками на земную поверхность. Парниковый эффект. Состояние и состав атмосферы определяют во многом величину солнечной радиации в тепловом балансе Земли. На ее долю приходится основная часть поступающей в биосферу теплоты, дж/год: теплота от солнечной радиации составляет 99,8 %, теплота от естественных источников (из недр Земли, от животных и др.) 0,18 %, теплота от антропогенных источников (энергоустановок, пожаров и др.) — 0,02 %. Экранирующая роль атмосферы в процессах передачи теплоты от Солнца к Земле и от Земли в космос влияет на среднюю температуру биосферы, которая длительное время находилась на уровне около + 15°С. Расчеты показывают, что при отсутствии атмосферы средняя температура поверхности Земли составляла бы приблизительно - 15°С. Основная доля солнечной радиации передается к поверхности Земли в оптическом диапазоне, а излучаемая поверхностью Земли энергия — в инфракрасном (ИК). Поэтому доля отраженной лучистой энергии, поглощаемой атмосферой, зависит от количества многоатомных минигазов (СО2, Н2О, СН4, О3 и др.) и пыли в ее составе. Чем выше концентрация минигазов и пыли в атмосфере, тем меньше доля отраженной солнечной радиации уходит в космическое пространство, тем больше теплоты задерживается в биосфере за счет парникового эффекта. ИК-излучение поглощается метаном, фреонами, озоном, оксидом азота и т. п. в диапазоне длины волн 1...9 мкм, а парами воды и углекислым газом при длине волн 12 мкм и более. В последние годы наметилась тенденция к значительному росту концентраций СО2, СН4, N2O и других газов в атмосфере. Аналогично изменяются концентрации метана, оксида азота, озона и других газов. Рост концентраций СО2 в атмосфере происходит вследствие уменьшения растительности на Земле и увеличения техногенных поступлений. Рост концентраций минигазов в атмосфере и, как следствие, повышение доли теплоты ИК-излучения, задерживаемой атмосферой, неизбежно сопровождается ростом температуры поверхности Земли. Техногенные загрязнения атмосферы не ограничиваются приземной зоной. Определенная часть примесей поступает в озоновый слой и разрушает его. Разрушение озонового слоя опасно для биосферы, так как оно сопровождается значительным повышением доли ультрафиолетового излучения с длиной волны менее 290 нм, достигающего земной поверхности. Эти излучения губительны для растительности, особенно для зерновых культур, представляют собой источник канцерогенной опасности для человека, стимулируют рост глазных заболеваний. Основными веществами, разрушающими озоновый слой, являются соединения хлора, азота. З
агрязнение воды При использовании воду, как правило, загрязняют, а затем сбрасывают в водоемы. Внутренние водоемы загрязняются сточными водами различных отраслей промышленности (металлургической, нефтеперерабатывающей, химической и др.), сельского и жилищно-коммунального хозяйства, а также поверхностными стоками. Основными источниками загрязнений являются промышленность и сельское хозяйство. Загрязнители делятся на биологические (органические микроорганизмы), вызывающие брожение воды; химические, изменяющие химический состав воды; физические, изменяющие ее прозрачность (мутность), температуру и другие показатели.
Загрязнение земель. Нарушение верхних слоев земной коры происходит при: добыче полезных ископаемых и их обогащении; захоронении бытовых и промышленных отходов; проведении военных учений и испытаний и т. п. Почвенный покров существенно загрязняется осадками в зонах рассеивания различных выбросов в атмосфере, пахотные земли — при внесении удобрений и применении пестицидов. В настоящее время одной из самых острых проблем является утилизация и захоронение радиоактивных отходов и, прежде всего, отходов АЭС. Опасны и значительны отходы сельскохозяйственного производства — навоз, остатки ядохимикатов, кладбища животных.
67. Расчет естественного освещения по графикам Данилюка. Достоинство данного метода
Нормирование естественного освещения производится с помощью коэффициента естественного освещения КЕО - это отношение естественной освещенности данной точки внутри помещения к освещенности точки, находящейся под открытым небом, выраженное в %. Для определение геометрических КЕО следует применять графический метод Данилюка, пригодный для определения КЕО при легкой сплошной облачности. Этот метод сводится к тому, что полусферу разбивают на 10000 участков равной световой активности и подсчитывают какое число участков видно из данной точки помещения через светопроем, т.е. графически определяют какая часть светового потока от всей небесной полусферы попадает в расчетную точку.
Число видимых через световой проем участков небосвода находят при помощи двух графиков (рис. 32), представляющих собой пучок проекций лучей, соединяющих центр полусферы небосвода с участками равной световой активности по высоте (график /) и по ширине (график //) светового проема.
График / кладут на поперечный разрез помещения так, чтобы основание графика совпадало со следом расчетной плоскости, а полюс графика с расчетной точкой, и определяют число лучей, захватываемых контуром светопроема n1. График // помещают на план помещения так, чтобы его основание было параллельно плоскости расположения светопроема, а полюс отстоял от светопроема на расстоянии, равном расстоянию от полюса графика до середины светопроема по его высоте на поперечном разрезе. Подсчитывают число лучей n2, захватываемых контуром светопроема по его ширине. Геометрическое значение КЕО в расчетной точке (%) помещения определяют как e=0.01n1n2. Более подробное изложение метода определения КЕО и числовые значения коэффициентов приведены в СНиП II-4-79Д
68. Структура и состав атмосферы. Источники загрязнения атмосферы
Структуры: Тропосфера, стратосферы, мезосфера, термосфера, экзосфера.
Окружающий человека атмосферный воздух непрерывно подвергается загрязнению. Атмосферный воздух всегда содержит некоторое количество примесей, поступающих от естественных и техногенных источников. К числу примесей, выделяемых естественными источниками, относят: пыль (растительного, вулканического, космического происхождения, возникающую при эрозии почвы, частицы морской соли); туман; дым и газы от лесных и степных пожаров; газы вулканического происхождения; различные продукты растительного, животного происхождения и др. Естественные источники загрязнений бывают либо распределенными, например выпадение космической пыли, либо локальными, например лесные и степные пожары, извержения вулканов. Уровень загрязнения атмосферы естественными источниками является фоновым и мало изменяется с течением времени. Основное техногенное загрязнение атмосферного воздуха создают автотранспорт, теплоэнергетика и ряд отраслей промышленности.
Самыми распространенными токсичными веществами, загрязняющими атмосферу, являются: оксид углерода СО, диоксид серы SO2, оксиды азота NOX, углеводороды СНm и пыль. Кроме этого, в атмосферу выбрасываются и другие, более токсичные вещества. В настоящее время насчитывается более 500 вредных веществ, загрязняющих атмосферу, их количество увеличивается. Высокие концентрации и миграция примесей в атмосферном воздухе стимулируют их взаимодействие с образованием более токсичных соединений (смога, кислот) или приводят к таким явлениям, как «парниковый эффект» и разрушение озонового слоя.
70.Меры по пожарной профилактике
-
строительно-планировочные;
-
технические;
-
способы и средства тушения пожаров;
-
организационныё
Строительно-планировочные определяются огнестойкостью зданий и сооружений (выбор материалов конструкций: сгораемые, несгораемые, трудносгораемые) и предел огнестойкости — это количество времениЁ в течение которого под воздействием огня не нарушается несущая способность строительных конструкций вплоть до появления первой трещины.
Все строительные конструкции по пределу огнестойкости подразделяются на 8 степеней от 1/7 ч до 2ч.
Для помещений ВЦ используются материалы с пределом стойкости от 1-5 степеней. В зависимости от степени огнестойкости опрё наибольшие дополнительные расстояния от выходов для эвакуации при пожарах (5 степень — 50 м). Технические меры — это соблюдение противопожарных норм при эвакуации систем вентиляции, отопления, освещения, эл. обеспечения и т.д.
— использование разнообразных защитных систем;
— соблюдение параметров технологических процессов и режимов работы оборудования.
Организационные меры — проведение обучения по пожарной безопасности, соблюдение мер по пожарной безопасности.
71. Понятие экологии. Экологический кризис и экологическая катастрофа
Экологич. кризис - нарушение взаимосвязей внутри экосистемы или необратимые явления в биосфере, вызванные антропогенной деятельностью и угрожающие существованию человека как вида. По степени угрозы ест. жизни человека и развитию общества выделяются неблагоприятная экологич. ситуация,экологич. бедствие и экологич. Катастрофа.
72. Компенсация и льготы за работы с вредными или опасными условиями труда. Возмещение причиненного работникам увечьем (профзаболевание или повреждение здоровья)
Виды компенсаций
1.повышенная тарифная ставка 4-24%.
2.сокращенный рабочий день и или увеличенныйотпуск.
3.более ранний уход на пенсию (список №1-10л., №2-5).
4.бесплатная выдача молока (о,5 л за смену).
Вид компенсаций
Возмещение вреда, причиненного здоровью работника в результате несч.случаев, стихийных бедствий и т.д.
Формы возмещения вреда:
1.ежемесячная выплата ср.заработка за посл. 12 мес в соотв.со степенью потери профпригодности.
2.выплата доп.расходов (лечение, транспорт).
3.выплата единровременного пособия в размере 60 мин.заработков.
4.возмещение морального ущерба.
73. Чрезвычайные ситуации. Первичные и вторичные поражающие факторы
Ч
резвычайные ситуации возникают при стихийных явлениях и при техногенных авариях. В наибольшей степени аварийность свойственна угольной, горнорудной, химической, нефтегазовой и металлургической отраслям промышленности, геологоразведке, объектам котлонадзора газового и подъемно-транспортного хозяйства, а также транспорту.
Наибольшее число ЧС обусловлено пожарами и взрывами, авариями на предприятиях, связанных с обращением АХОВ, эксплуатацией средств транспорта, систем коммунального жизнеобеспечения и на тепловых сетях.
Возникновение чрезвычайных ситуаций в промышленных условиях и в быту часто связано с разгерметизацией систем повышенного давления (баллонов и емкостей для хранения или перевозки сжатых, сжиженных и растворенных газов, газо- и водопроводов, систем теплоснабжения и т. п.).
В чрезвычайных ситуациях проявление первичных негативных факторов (землетрясение, взрыв, обрушение конструкций, столкновение транспортных средств и т. п.) может вызвать цепь вторичных негативных воздействий (эффект «домино») — пожар, загазованность или затопление помещений, разрушение систем повышенного давления, химическое, радиоактивное и бактериальное воздействие и т. п. Последствия (число травм и жертв, материальный ущерб) от действия вторичных факторов часто превышают потери от первичного воздействия. Характерным примером этому является авария на Чернобыльской АЭС.
Основными причинами крупных техногенных аварий являются: — отказы технических систем из-за дефектов изготовления и нарушений режимов эксплуатации; многие современные потенциально опасные производства спроектированы так, что вероятность крупной аварии на них весьма высока; высокий энергетический уровень технических систем; внешние негативные воздействия на объекты энергетики, транспорта. Одной из распространенных причин пожаров и взрывов, особенно на объектах нефтегазового и химического производства и при эксплуатации средств транспорта, являются разряды статического электричества.
74. Экологическая экспертиза. ПДВ, ПДС, ВСВ. Проект нормативов ПДВ в атмосферу
Нормативными показателями экологичности предприятий, транспортных средств, производственного оборудования и технологических процессов являются ПДВ в атмосферу, ПДС в гидросферу, а также нормативы образования и лимиты размещения отходов. Они являются основой для проведения экологической экспертизы.
Экологическая экспертиза техники, технологий, материалов включает общественную и государственную экспертизу. Государственная экологическая экспертиза новой продукции — рассмотрение документации (или образцов) новой продукции, проводимое экспертными подразделениями органов государственного управления в области природопользования и охраны окружающей среды на федеральном, республиканском и региональном (территориальном) уровнях.
Общественная экологическая экспертиза проводится общественными организациями (объединениями), основным направлением деятельности которых является охрана окружающей природной среды, в том числе проведение экологической экспертизы, и которые зарегистрированы в установленном порядке.
Цель экологической экспертизы новой продукции — предупреждение возможного превышения допустимого уровня вредного воздействия на окружающую среду в процессе ее производства, эксплуатации (использовании), переработки или уничтожения.
Главная задача экологической экспертизы — определение полноты и достаточности мер по обеспечению требуемого уровня экологической безопасности новой продукции при ее разработке, в том числе:
-
определение соответствия проектных решений создания новой продукции современным природоохранным требованиям;
-
определение полноты и достаточности отражения технических показателей, характеризующих уровень воздействия на окружающую среду новой продукции, в рассматриваемой документации и их соответствие установленным природоохранным нормативам;
-
оценка полноты и эффективности мероприятий по предупреждению возможных аварийных ситуаций, связанных с производством и потреблением (использованием) новой продукции, и ликвидации их возможных последствий;
-
оценка выбора средств и методов контроля воздействия продукции на состояние окружающей среды и использования природных ресурсов;
-
оценка способов и средств утилизации или ликвидации продукции после отработки ресурса;
-
определение полноты достоверности и научной обоснованности проведенной оценки воздействия на окружающую среду (ОВОС).
По результатам экологической экспертизы составляется экспертное заключение, включающее три части: вводную, констатирующую и заключительную.
В вводной части содержатся сведения об экспертируемых материалах, организации их разработавшей, сведения о заказчике, органе, утверждающем указанные материалы. В констатирующей части дается общая характеристика отражения экологических требований в представленном на экспертизу проекте. Заключительная часть экспертного заключения должна содержать оценку всего комплекса мероприятий по рациональному использованию природных ресурсов и охране окружающей природной среды.
Экспертное заключение подписывает руководитель экспертной комиссии, ее ответственный секретарь и все ее члены.
Экспертное заключение направляется заказчику, территориальному органу Минприродресурсов, органам исполнительной власти субъектов РФ и местным органам самоуправления.
Объектами экспертизы являются проекты технической документации на новые технику, технологию, материалы, вещества, сертифицируемые товары и услуги, которые входят в перечень, утверждаемый федеральным специально уполномоченным государственным органом в области экологической экспертизы, в том числе на закупаемые за рубежом товары, а также на различного вида проекты и документацию, оговоренные в гл. III Закона РФ «Об экологической экспертизе».
В соответствии с требованиями ГОСТ 17.2.3.02-78 для каждого источника загрязнения атмосферы устанавливается предельно допустимый выброс вредных веществ (ПДВ) - это объем загрязнения в выбросах в мг/м, который на протяжении всей жизни человека не оказывает на него вредного воздействия и вредные последствия на окружающую среду. ПДС – предельно допустимый сброс. ВСВ – временно согласованные выбросы.
75. Экологический паспорт промпредприятия
В соответствии с законодательством об охране окружающей среды предприятия должны осуществлять производственный контроль, главной задачей которого является оценка состояния природных сред, на которые предприятие оказывает негативное воздействие, включая территории, к нему прилегающие. Такая оценка должна вестись и инструментальными методами.
Одной из форм контроля является учет такого рода негативных воздействий путем инвентаризации источников выбросов и сбросов, классификации токсичных отходов и их паспортизации, составления ежегодных типовых форм статистической отчетности № 2ТП (воздух), № 2 ТП (водхоз), а также формы № 2ТП (отходы).
С 2000 г. введен в действие ГОСТ Р 17.0.0.06—00 «Экологический паспорт природопользователя». Он представляет собой документ, содержащий информацию об уровне использования природопользователем ресурсов (природных, вторичных и др.) и степени воздействия его производств на окружающую природную среду, а также сведения о разрешениях на право природопользования, нормативах воздействий и размерах платежей за загрязнение окружающей природной среды и использование природных ресурсов.
Стандарт устанавливает основные положения по построению, изложению, оформлению и заполнению типовых форм экологического паспорта природопользователя и рекомендуется для разработки и ведения юридическими лицами, независимо от форм собственности осуществляющими хозяйственную или иные виды деятельности и оказывающими воздействие на окружающую природную среду на территории Российской Федерации.
Ответственность за заполнение экологического паспорта несет руководитель организации, контроль за правильностью его заполнения и ведения — территориальный орган Минприродресурсов. Данные паспорта могут использоваться для разработки проектов ПДВ, ПДС, лимитов размещения отходов, а также для заполнения форм статистической отчетности.
76. Сущность устойчивости функционирования объектов и систем. Ударная волна. Устойчивость в условиях воздействия повышенного давления
Сущность устойчивости – это способность объекта в чрезвычайных ситуациях выпускать продукцию в запланированном объеме и номенклатуре. Для объектов, не производящих материальные ценности – выполнять свои функции, а в случае аварии выполнять производство в максимально короткие сроки. Ударная волна - это область резкого сжатия среды, которая в виде сферического слоя распространяется во все стороны от места взрыва со сверхзвуковой скоростью. В зависимости от среды распространения различают ударную волну в воздухе, в воде или грунте. Ударная волна в воздухе образуется за счет огромной энергии, выделяемой в зоне взрыва, где высокая температура и большой давление. Например, при ядерном взрыве давление в зоне реакции достигает миллиардов атмосфер. основные параметры ударной волны, характеризующие ее разрушающее и поражающее действие: избыточное давление, во фронте ударной волны, давление скоростного напора, продолжительность действия волны - длительность фазы сжатия и скорость фронта ударной волны. Величина этих параметров в основном зависит от мощности, вида взрыва и расстояния. Различают следующие степени разрушений:
- слабое разрушение ( разрушаются оконные и дверные проемы, повреждение верхних частей колодцев, газо-, водо- и теплосетей, разрывы ЛЭП),
- среднее разрушение ( разрушение крыш, трещины в стенах, разрывы и деформации трубопроводов, деформации опор ЛЭП);
- сильное разрушение - разрушаются несущие конструкции, перекрытия, массовые разрывы трубопроводов, разрушение опор ЛЭП;
- полное разрушение - разрушаются основные элементы зданий, наземные конструкции.
Наиболее стойки подземные энергетические сети, которые разрушаются только при наземных взрывах вблизи от центра. Воздушные линии связи и электропроводок сильно разрушаются при 80-120 кПа. Станочное оборудование разрушается при 35-70 кПа. Транспортные средства разрушаются в большей степени, если они расположены бортом к направлению действия ударной волны. Наиболее устойчивы к воздействию ударной волны морские и речные суда и железнодорожный транспорт. Лесные массивы также повреждаются при взрывах: при давлении более 50 кПа - деревья вырываются с корнем и отбрасываются, образуя завалы, при 30-50 кПа повреждаются около 50 % деревьев ; а при 10-30 кПа - 30 %. Молодые деревья более устойчивы к воздействию ударной волны.
77. Классификация ВВ по характеру и по степени воздействия на организм человека
Наиболее распространенным является производственная пыль. По токсичности пыль м.б. :1)неядовитая (нетоксичная) – силикатная, древесная, мучная и т.д. м. приводить к травмам дыхательных путей, к воспалительным процессам, аллергическим реакциям.2) ядовитая (токсичная) – марганцевая, свинцовая. пыль хрома. По дисперсности пыль бывает: 1) крупно дисперсная (более 10микрон), 2)средне дисперсная (5-10) 3) мелкодисперсная менее 5 мкр – наиболее опасная, т.к. практически в производственных условиях не оседает, это особенно опасно, если она не растворимая, может привести к пневмокониозу (когда легочная ткань заменяется соединительной).
Характеристика ВВ по характеру воздействия на организм человека. 1) по характеру воздействия: -обще токсические (вызывают отравление всего организма угарный газ, мышьяк); - раздражающие (окиси серы, азота, аммиака, хлора); -сенсибилизирующие (действующие как аллерген, н-р формальдегид, некоторые виды лаков); - канцерогенные (вызывающие раковые заболевания, асбест, окислы хрома, никель); - мутагенные (действующие на наследственную информацию, свинец, радиоактивные в-ва); - ВВ, влияющие на репродуктивную функцию. 2) В зависимости от концентрации ВВ и условий их воздействия, относят к различным группам, н-р некоторые инертные газы при высоком давлении становятся сильно действующими наркотиками, а хлор м. привести к летальному исходу. Химические в-ва 3) в зависимости от практического использования классифицируются на: промышленные яды, в кач-ве топлива пропан, краситель анилин. ядохимикаты исп-ся в основном в С/Х, лекарственные средства, бытовые химикаты (уксусная кислота), отравляющие в-ва, биологические, растительные и животные яды (яды пчёл, скорпионов, некоторых ядовитых змей, грибов). 4) по степени воздействия на организм ВВ подразделяются на 4 класса опасности: а)чрезвычайно опасные ПДК0,1мгр/м3 б) в-ва высоко опасные 0,1-1мгр/м3 в) умеренно опасные 1-10 мгр/м3 г) мало опасные свыше 10мгр/м3. Класс зависит от величины ПДК, от средней смертельной дозы при введении в желудок, при нанесении не кожу, при наличии в воздухе. Соляная кислота ПДК = 5мгр/м3,, но она относится ко 2-му классу по другим признакам.
78. Факторы, влияющие на состояние среды обитания и процесс жизнедеятельности: урбанизация, НТП, авария и т.п.
На протяжении многих веков среда обитания человека медленно изменяла свой облик, и, как следствие, мало менялись виды и уровни негативных воздействий.
Этим изменениям во многом способствовали:
-
высокие темпы роста численности населения на Земле (демографический взрыв) и его урбанизация;
-
рост потребления и концентрация энергетических ресурсов;
-
интенсивное развитие промышленного и сельскохозяйственного производства;
-
массовое использование средств транспорта;
-
рост затрат на военные цели и ряд других процессов.
Демографический взрыв. Достижения в медицине, повышение комфортности деятельности и быта, интенсификация и рост продуктивности сельского хозяйства во многом способствовали увеличению продолжительности жизни человека и, как следствие, росту населения Земли. Одновременно с ростом продолжительности жизни в ряде регионов мира рождаемость продолжала оставаться на высоком уровне и составляла в некоторых из них до 40 человек в год и более на 1000 человек.
Прогнозы дальнейшего изменения численности населения Земли:
1) к концу XXI в. возможен рост численности до 28...30 млрд человек. В этих условиях Земля уже не сможет (при современном состоянии технологий) обеспечивать население достаточным питанием и предметами первой необходимости. С определенного периода начнутся голод, массовые заболевания, деградация среды обитания и, как следствие резкое уменьшение численности населения и разрушение человеческого сообщества.
2) численность населения необходимо стабилизировать на уровне 10 млрд. человек, что при существующем уровне развития технологий жизнеобеспечения будет соответствовать удовлетворению жизненных потребностей человека и нормальному развитию общества.
Урбанизация. Этот процесс имеет во многом объективный характер, ибо способствует повышению производительной деятельности во многих сферах, одновременно решает социальные и культурно-просветительные проблемы общества. Интенсивно растут крупные города. Урбанизация непрерывно ухудшает условия жизни в регионах, неизбежно уничтожает в них природную среду. Для крупнейших городов и промышленных центров характерен высокий уровень загрязнения. Увеличение численности населения Земли и военные нужды стимулируют рост промышленного производства, числа средств транспорта, приводят к росту производства энергетических и потреблению сырьевых ресурсов. Потребление материальных и энергетических ресурсов имеет более высокие темпы роста, чем прирост населения, так как постоянно увеличивается их среднее потребление на душу населения. Во второй половине XX в. каждые 12... 15 лет удваивалось промышленное производство ведущих стран мира, обеспечивая тем самым удвоение выбросов загрязняющих веществ в биосферу, постоянно увеличивался мировой автомобильный парк. Развитие сельского хозяйства. Вторая половина XX в. связана с интенсификацией сельскохозяйственного производства (искусственные удобрения и различные токсиканты, что не могло не влиять на состояние компонент биосферы). Техногенные аварии и катастрофы. До середины XX в. человек не обладал способностью инициировать крупномасштабные аварии и катастрофы и тем самым вызывать необратимые экологические изменения регионального и глобального масштаба, соизмеримые со стихийными бедствиями. Последующие годы отмечены ростом числа отказов, инцидентов и происшествий в технических системах, что неизбежно привело к увеличению числа техногенных аварий и катастроф. Появление ядерных объектов и высокая концентрация прежде всего химических веществ и их производств сделали человека способным оказывать разрушительное воздействие на экосистемы. Из приведенного выше видно, что XX столетие ознаменовалось потерей устойчивости в таких процессах, как рост населения Земли и его урбанизация. Это вызвало крупномасштабное развитие энергетики, промышленности, сельского хозяйства, транспорта, военного дела и обусловило значительный рост техногенного воздействия. Во многих странах оно продолжает нарастать и в настоящее время. В результате активной техногенной деятельности человека во многих регионах нашей планеты разрушена биосфера и создан новый тип среды обитания — техносфера. Однако созданная руками и разумом человека техносфера, призванная максимально удовлетворять его потребности в комфорте и безопасности, не оправдала во многом надежды людей. Появившиеся производственная, бытовая и городская среды оказались далеки по уровню безопасности от допустимых требований.
79. Количественные и качественные показатели производственного освещения, основные требования к нему и нормирование освещенности
Не менее 90% всей информации человек получает из окр.среды с пом.зрения. Требования к освещению: 1)освещенность на рабочем мете должна соот-ть нормам 2) на раб.местах (поверхностях) д. отсутствовать резкие тени 3) в поле зрения д. отсутствовать повышенная яркость светящихся поверхностей 4)необ-мо обеспечить достаточно равномерное распределение яркости на рабочей поверхности, а также в пределах окружающего пространства 5) величина освещенности должна быть постоянной во времени 6) необ-мо обеспечить оптимальное направление светового потока 7) осветительная установка д.б. электро, взрыво и пожаро безопасной 8) все элементы осветительной установки д.б. достаточно долговечными, сама установка простой при эксплуатации и отвечать требованиям эстетики.
Качественные и количественные показатели освещения. Количественные: световой поток F (в люменах), освещенность E (Лк), сила света J (ед), яркость светящихся (отражаемых) поверхностей L (кд/м2), коэф-т отражения света - безразмерная величина. Качественные: 1)фон (зав. От коэф. Отражения): светлый, if 0.4; средний 0,20,4; темный 0,2 2)контраст объекта с фоном: большой к0,5; средний 0,2к0,5; малый к0,2. Коэф. контрастности К=L0-Lф/Lф, где L0- яркость объекта, Lф – яркость фона.
Нормирование ИО. Нормирование осущ-ся по СНиП (строительные нормы и правила) 23-05-95. Учитываются: 1)разряд работы 2) подряд 3)системы освещения: обще равномерная или комбинированная 4)тип источника света.. Освещенность рабочих поверхностей мест работ вне зданий нормируется в зависимости от характера работы по разрядам зрительной работы IX (точные работы - отношение наименьшего размера объекта различения к расстоянию до глаз не менее 0,005), с I по V имеют подразделы а,б,в,г.(а-фон темный, контраст темный, наихудший).
Нормирование ЕО. Учитывают 2 фактора: 1)разряд зрительной работы 2)система ЕО (или боковая, или верхняя или комбинированная).
80. Предмет и объект дисциплины БЖД. Задачи БЖД. Аксиома о потенциальной опасности. Риск. Понятие безопасности
Безопасность жизнедеятельности представляет собой область научных знаний, охватывающих теорию и практику защиты человека от опасных и вредных факторов во всех сферах человеческой деятельности, сохранение безопасности и здоровья в среде обитания. Эта дисциплина решает следующие основные задачи: - идентификация (распознавание и количественная оценка) негативных воздействий среды обитания; - защита от опасностей или предупреждение воздействия тех или иных негативных факторов на человека; - ликвидация отрицательных последствий воздействия опасных и вредных факторов; - создание нормального, то есть комфортного состояния среды обитания человека. Интегральным показателем безопасности жизнедеятельности является продолжительность жизни. Развитие цивилизации, под которой мы понимаем прогресс науки, техники, экономики, индустриализацию сельского хозяйства, использование различных видов энергии, вплоть до ядерной, создание машин, механизмов, применение различных видов удобрений и средств для борьбы с вредителями, значительно увеличивает количество вредных факторов, негативно воздействующих на человека. Важным элементом в обеспечении жизнедеятельности человека становится защита от этих факторов. На протяжении всего существования человеческая популяция, развивая экономику, создавала и социально-экономическую систему безопасности. Вследствие этого, несмотря на увеличение количества вредных воздействий, уровень безопасности человека возрастал. В настоящее время средняя продолжительность жизни в наиболее развитых странах составляет около 77 лет. Курс «Безопасность жизнедеятельности» предусматривает процесс познания сложных связей человеческого организма и среды обитания. Воздействие человека на среду, согласно законам физики, вызывает ответные противодействия всех ее компонентов. Организм человека безболезненно переносит те или иные воздействия до тех пор, пока они не превышают пределы адаптации. БЖД рассматривает: - безопасность в бытовой среде; - безопасность в производственной сфере; - безопасность жизнедеятельности в городской среде (селитебной зоне); - безопасность в окружающей природной среде; - чрезвычайные ситуации мирного и военного времени. Бытовая среда - это вся сумма факторов, воздействующих на человека в быту. Реакцию организма на бытовые факторы изучают такие разделы науки, как коммунальная гигиена, гигиена питания, гигиена детей и подростов. Производственная среда — это совокупность факторов, воздействующих на человека в процессе трудовой деятельности. Безопасность в природной среде — это одна из отраслей экологии. Экология изучает закономерности взаимодействия организмов с окружающей средой. Задачи, решаемые БЖД : 1.Идентификация опасностей, т.е. распознавание образа, количественных характеристик и координат опасности. 2.Защита от опасностей. 3.Ликвидация опасностей. Аксиома – любая деятельность человека потенциально опасна. Для каждого вида деятельности существуют комфортные условия, способствующие её максимальной эффективности. Все естественные процессы, антропогенная деятельность и объекты деятельности обладают склонностью к спонтанной потере устойчивости или к длительному негативному воздействию на человека и среду его обитания, т.е. обладают остаточным риском. Остаточный риск является первопричиной потенциальных негативных воздействий на человека и биосферу. Безопасность реальна, если негативные воздействия на человека не превышают предельно допустимых значений с учетом их комплексного воздействия. Экологичность реальна, если негативные воздействия на биосферу не превышают предельно допустимых значений с учетом их комплексного воздействия. Допустимые значения техногенных негативных воздействий обеспечивается соблюдением требований экологичности и безопасности к техническим система, технологиям, а также применениям систем экобиозащиты (экобиозащитной техники). Системы экобиозащиты на технических объектах и в технологических процессах обладают приоритетом ввода в эксплуатацию и средствами контроля режима работы. Безопасная и экологичная эксплуатация технических средств и производств реализуется при соответствии квалификации и психофизических характеристик оператора требованиям разработчика технической системы и при соблюдении оператором норм и требований безопасности и экологичности. Риск- отношение числа тех или иных неблагоприятных проявлений опасностей к их возможному числу за определенный период. Безопасность – такое состояние деятельности, при котором с некоторой вероятностью исключается реализация потенциальных опасностей. Опасность – такое воздействие, которое м. приносить ущерб здоровью человека, создавать угрозу жизни или затруднять функционирование органов человека.
81. Пожароопасность материалов и веществ
Основными показателями пожарной опасности, определяющими критические условия возникновения и развития процесса горения, являются температура самовоспламенения и концентрационные пределы воспламенения.
Температура самовоспламенения характеризует минимальную температуру вещества или материала, при которой происходит резкое увеличение скорости экзотермических реакций, заканчивающееся возникновением пламенного горения.
Минимальная концентрация горючих газов и паров в воздухе, при которой они способны загораться и распространять пламя, называется нижним концентрационным пределом воспламенения; максимальная концентрация горючих газов и паров, при которой еще возможно распространение пламени, называется верхним концентрационным пределом воспламенения. Область составов и смесей горючих газов и паров с воздухом, лежащих между нижним и верхним пределами воспламенения, называется областью воспламенения.
Концентрационные пределы воспламенения не постоянны и зависят от ряда факторов. Наибольшее влияние на пределы воспламенения оказывают мощность источника воспламенения, примесь инертных газов и паров, температура и давление горючей смеси.
Изменение пределов воспламенения с повышением температуры может быть оценено по следующему правилу: при повышении температуры на каждые 100° величины нижних пределов воспламенения уменьшаются на 8—10%, а верхних пределов воспламенения увеличиваются на 12—15%.
Концентрация насыщенных паров жидкостей находится в определенной взаимосвязи с ее температурой.
Используя это свойство, можно концентрационные пределы воспламенения насыщенных паров выразить через температуру жидкости, при которой они образуются.
Способностью образовывать с воздухом воспламеняющиеся с большой скоростью (взрывоопасные) смеси обладают также взвешенные в воздухе пыли многих твердых горючих веществ. Та минимальная концентрация пыли в воздухе, при которой происходит ее загорание, называется нижним пределом воспламенения пыли. Поскольку достижение очень больших концентраций пыли во взвешенном состоянии практически нереально, термин «верхний предел воспламенения» к пылям не применяется.
К показателям пожарной опасности, характеризующим критические условия образования достаточного для горения газообразных горючих продуктов испарения или разложения конденсированных веществ и материалов, относятся температуры вспышки и воспламенения, а также температурные пределы воспламенения.
Температурой вспышки называется самая низкая (в условиях специальных испытаний) температура горючего вещества, при которой над поверхностью образуются пары и газы, способные вспыхивать в воздухе от источника зажигания, но скорость их образования еще недостаточна для последующего горения. Пользуясь этой характеристикой, все горючие жидкости по пожарной опасности можно разделить на два класса:
-
жидкости с температурой вспышки до 61° С (бензин, этиловый спирт, ацетон, серный эфир, нитроэмали и т. д.), они называются легковоспламеняющимися жидкостями (ЛВЖ);
-
жидкости с температурой вспышки выше 61° С (масло, мазут, формалин и др.), они называются горючими жидкостями (ГЖ).
Температура воспламенения — температура горючего вещества, при которой оно выделяет горючие пары и газы с такой скоростью, что после воспламенения их от источника зажигания возникает устойчивое горение. Температурные пределы воспламенения — температуры, при которых насыщенные пары вещества образуют в данной окислительной среде концентрации, равные соответственно нижнему и верхнему концентрационным пределам воспламенения жидкостей.
Пожароопасность веществ характеризуется линейной (выраженной в см/с) и массовой (г/с) скоростями горения (распространения пламени) и выгорания (г/м2-с или см/с), а также предельным содержанием кислорода, при котором еще возможно горение. Для обычных горючих веществ (углеводородов и их производных) это предельное содержание кислорода составляет 12—14%, для веществ с высоким значением верхнего предела воспламенения (водород, сероуглерод, окись этилена и др.) предельное содержание кислорода составляет 5% и ниже.
Помимо перечисленных параметров для оценки пожарной опасности важно знать степень горючести (сгораемости) веществ. В зависимости от этой характеристики вещества и материалы делят на:
-
горючие (сгораемые),
-
трудногорючие (трудносгораемые)
-
негорючие (несгораемые).
К горючим относятся такие вещества и материалы, которые при воспламенении посторонним источником продолжают гореть и после его удаления. К трудногорючим относят такие вещества, которые не способны распространять пламя и горят лишь в месте воздействия импульса; негорючими являются вещества и материалы, не воспламеняющиеся даже при воздействии достаточно мощных импульсов.
84. Особенности охраны труда женщин и молодёжи
При использовании на производстве труда женщин и подростков необходимо учитывать анатомо-физиологические особенности их организма.
Особенности подросткового возраста:
-
резкий подъем всех жизненных функций,
-
энергичный рост и физическое развитие тела
-
ускоренный рост костей скелета и мускулатуры, особенно конечностей,
-
слабость связочного аппарата,
-
более быстрая утомляемость мышц,
отклонения в развитии органов дыхания, кровообращения и желудочно-кишечного тракта.
Для лиц в возрасте 16... 18 лет установлена сокращенная продолжительность рабочей недели 36, а для лиц в возрасте 15 лет —24 ч. Их запрещено привлекать к ночным и сверхурочным работам в выходные дни. Ограничено применение труда подростков по переноске тяжестей, а если работа связана только с переноской тяжестей, то масса груза не должна превышать 4,1 кг. Все лица моложе 18 лет при поступлении на работу обязательно проходят профилактические медицинские осмотры.
Анатомо-физиологические особенности женщин в некоторых случаях при неудовлетворительной производственной обстановке могут способствовать возникновению гинекологических заболеваний и повлиять на репродуктивную функцию женщин. Неблагоприятное влияние на состояние здоровья женщин оказывают повышенная трудоемкость, нервная напряженность и монотонность труда. Для работающих женщин:
-
регламентируют предельные величины переноски и перемещения грузов;
-
вводят более благоприятные режимы труда и отдыха;
-
ограничивают использование труда женщин в ночное время; устанавливают для них режим работы с неполным рабочим днем или с неполной рабочей неделей.
Максимальная масса поднимаемого и перемещаемого женщинами груза, при условии чередования этого процесса с другими видами работ (до 2 раз в час), составляет 10 кг, при подъеме и перемещении тяжестей постоянно в течение рабочей смены — 7 кг. Причем в массу поднимаемого и перемещаемого груза включается масса тары и упаковки. При перемещении грузов на тележках или в контейнерах прилагаемое усилие не должно превышать 10 кг.
Запрещается применение труда беременных женщин на работах, которые могут нанести вред здоровью женщины или ее потомства. Беременные женщины в соответствии с медицинским заключением должны быть переведены на более легкую работу или работу, исключающую воздействие вредных и опасных производственных факторов, с сохранением среднего заработка по прежней работе. Не допускается привлечение к работам в ночное время, к сверхурочным работам, к работам в выходные дни и направление в командировки беременных женщин и женщин, имеющих детей в возрасте до трех лет.
















