170162 (625487), страница 3
Текст из файла (страница 3)
Технология строится по модульной схеме, что позволяет гибко приспосабливаться к различным объему и токсичности перерабатываемых отходов, изменению их состава и различной комплектацией оборудованием.
Переработка токсичных зол состоит из следующих стадий:
-
нейтрализации токсичных отходов;
-
омоноличивание зол и получение агломерата;
-
капсулирование агломерата и получение искусственного крупного заполнителя;
-
применение искусственного заполнителя (щебня) в изделиях из бетона для благоустройства и дорожного строительства.
Комплектация производства осуществляется на базе отечественного промышленного оборудования и части разработанного не стандартного оборудования.
Мощность предприятий по переработке токсичных зол и шлаков от 25 до 100 тыс./тонн в год.
Мусоросжигательные заводы
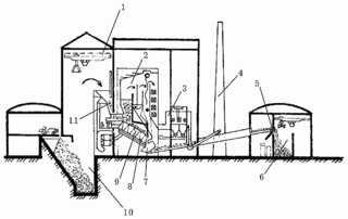
В 80-х гг. XX в. в России появились первые заводы термической обработки мусора, или, как их еще называют, мусоросжигательные заводы (рис. 50).
Рис. 50. Схема мусоросжигательного завода:
1 – мостовой кран с ковшом; 2 – парогенератор; 3 – электрофильтр; 4 – дымовая труба; 5 – сепаратор; 6 – склад шлака; 7 – механизм шлакоудаления; 8 – подпорный валик колосниковой решетки; 9 – обратно переталкивающая колосниковая решетка; 10 – приемный бункер; 11 – бункер котлоагрегата.
Сжигание представляет собой наиболее распространенный способ термического обезвреживания бытовых отходов. Сжигание осуществляется в печах и топках различных конструкций.
Промышленные печи – это технологические или энерготехнологические агрегаты, в которых тепло сожженного твердого, жидкого или газообразного топлива или нагрев, производимый электрическим током, используются для технологических либо отопительных целей. В основном мусоросжигательные заводы, оборудованные парогенераторами, включают:
– приемное отделение (предназначено для бытовых отходов). Включает мостовой кран и ковш;
– мусоросжигательный агрегат с топочным устройством;
– тягодутьевое устройство. Включает вентиляторы, дымосос, дымовую трубу;
– газоочистное устройство;
– парогенератор;
– сепаратор. Весь процесс сжигания бытовых отходов можно разделить на 3 основных периода: – подготовка топлива (бытовых отходов) к горению. Во время подготовки отходы прогреваются, из них удаляется влага и выделяются летучие вещества, образовавшиеся в результате нагрева отходов;
– непосредственное горение;
– сжигание горючих остатков. Наибольшая эффективность горения достигается при комбинировании 2 методов:
– слоевого (основного) (рис. 2);
– камерного (дожигание продуктов термического разложения).
Рис. 2. Схема слоевого процесса сгорания бытовых отходов:
1 – летучие компоненты; 2, 8 – первичный воздух; 3 – провал и шлак; 4 – камера догорания; 5 – вторичный воздух; 6 – бытовые отходы; 7 – топочная камера; 9 – шлак.
Метод слоевого сжигания используется для высоковлажных многокомпонентных бытовых отходов. Этот метод имеет целый ряд преимуществ: – стабильность процесса горения бытового мусора можно поддерживать в определенном диапазоне; – сжигание высоковлажных бытовых отходов не требует их предварительной просушки; – сжигать бытовые отходы можно без предварительной подготовки, то есть нет необходимости в отборе и измельчении. Главным недостатком мусоросжигательных заводов является небольшой отрезок времени, который отводится для сжигания бытовых отходов. Вследствие этого дымовые газы наполняются продуктами неполного сгорания бытовых отходов, а в шлаке накапливается большое количество недогоревших горючих компонентов. Несмотря на существующие проблемы, мусоросжигательные заводы действуют сегодня в 20 странах мира, включая и Россию. Доля России в переработке отходов на мусоросжигательных заводах по сравнению с ведущими странами невелика и составляет всего около 2 %. А ведь бытовые отходы являются надежным источником топлива, который способен обеспечить существенную экономию топлива другого вида в каждом городе.
ЛИТЕРАТУРА
1. Матросов А.С. Управление отходами. М.: Гардарики, 1999.
2. International directory of solid waste management. The 1SWA vcarhook. 1996/97.
3. Некоторые вопроси токсичности ионов метлой / Пол ред. X. Чинит, Л. Чинит. М.: Мир. 1993.
4. Kciniann D.O. Heavy metals teachability from solid waste incineration residues // Waste management and research. 19X9. № 7.
5. Albino el al. Stabilization. Solidification of Hazardous Waste before Landfill Disposal // Journal of Environmental Science and Health.
Размещено на Allbest.ru
















