169520 (625344)
Текст из файла
ВВЕДЕНИЕ
Гальванотехнические производства относятся к числу особо опасных загрязнителей окружающей среды. Их сточные воды отрицательно действуют на ихтиофауну и способность водоема к самоочищению. Для водных организмов наиболее токсичны растворимые соединения никеля, кадмия, меди и шестивалентного хрома. У многих низших организмов нарушается нормальное развитие при концентрации этих соединений >0,1мг×л-1.
Глава 1. ОБРАЗОВАНИЕ СТОЧНЫХ ВОД В ГАЛЬВАНИЧЕСКОМ ПРОИЗВОДСТВЕ
Основными способами промывки изделий являются погружной и струйный. Струйные промывки более экономичны по сравнению с промывкой погружным способом, однако воздействие струи имеет явно выраженную направленность, поэтому струйная промывка применима только для промывки деталей простой конфигурации. Основной областью применения струйной промывки является производство печатных плат, в гальванических цехах вследствие большого разнообразия форм и конфигурации обрабатываемых деталей ванны струйной промывки в настоящее время практически не нашли применения.
Наиболее распространенным является погружной способ промывки, который может осуществляться в непроточных и проточных условиях.
При промывке в проточной воде применяют три основные схемы: одноступенчатая промывка в одной ванне; многоступенчатая прямоточная промывка в нескольких последовательно устанавливаемых ваннах (ступенях) промывки, оборудованных самостоятельной системой подачи и слива воды; многоступенчатая (многокаскадная) противоточная промывка, при которой направление потока воды противоположно направлению движения деталей. Многокаскадная противоточная промывка, при прочих равных условиях, обеспечивает в несколько раз меньший расход воды, но большие концентрации загрязнений в сточных водах, поступающих на очистку. Увеличение площади, занимаемой гальваническими линиями и цехом в целом, при проектировании новых или реконструкции существующих цехов гальванопокрытий перекрывается сокращением площади, требуемой под станцию очистки сточных вод, так как для очистки меньшего объёма сточных вод требуется оборудование с меньшими габаритами.
Промывка в непроточной ванне с периодическим сливом промывной воды (периодически непроточный режим промывки) осуществляется при мелкосерийном производстве с большими интервалами времени между промывками, а также в случае малых, нерегулируемых (менее 50 л/ч) расходах воды; последовательная промывка в нескольких непроточных ваннах может использоваться на более производительных линиях, при этом продолжительность непроточного периода может составить до нескольких суток и даже недель. Перевод проточных ванн в периодически непроточный режим промывки позволяет сократить расход воды на 30-50%. Однако, не это является главным преимуществом периодически непроточного режима работы ванн промывки; периодически непроточный режим является одним из способов организации нормированного водопотребления взамен установки расходомеров, автоматизации регулирования расхода воды в зависимости от загрузки линии, формирования заинтересованности работников цеха в сокращении водопотребления. Расход воды на промывку в данном случае определяется частотой смены воды в промывных ваннах и объемом этих ванн.
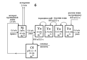
Если есть возможность установить более трех ванн непроточной промывки, то можно организовать бессточные операции хромирования и никелирования. Количество ванн улавливания определяется двумя ограничениями: концентрация хрома и никеля в последней ванне улавливания не должна превышать предельно допустимую концентрацию отмываемого компонента - 0,01 г/л, а расход воды на промывку не должен превышать величины потерь воды на испарение и унос в вентиляцию. На рис.1 представлен материальный баланс бессточных операций хромирования с пятью ваннами улавливания (а) и никелирования с четырьмя ваннами улавливания (б) с производительностью 3 м2/ч на подвесках в стандартных электролитах при температуре 50 °С.
В этом случае пять ванн улавливания после хромирования и четыре ванны улавливания после никелирования обеспечивают полный возврат промывной воды в ванну нанесения покрытий. При этом практически только через 50 рабочих смен (1,5 месяца работы) промывная вода из первой ванны улавливания сливается в сборник для последующей корректировки уровня электролита в технологической ванне, из второй ванны улавливания вода переливается в первую ванну, из третьей - во вторую и т.д., в последнюю ванну улавливания наливают дистиллированную воду или конденсат. При увеличении температуры электролитов и организации нагрева в ваннах улавливания или в сборнике промывной воды из первой ступени, а также при уменьшении производительности ванн или уноса раствора уменьшается количество ванн улавливания. Возможно использовать схему бессточной промывки без установки сборника.
Рис.1. Материальный баланс бессточных операций хромирования (а) и никелирования (б):
Cr - ванна хромирования (3 м2/ч), Ni - ванна никелирования (3 м2/ч), Ул - ванны улавливания (по 800 л), работающие в периодически непроточном режиме, Сб - сборник промывной воды.
Сокращение выноса раствора из технологических ванн осуществляется за счет выбора оптимальных конструкций подвесок, барабанов и деталей, устройства между технологическими и промывными ваннами козырьков с наклоном в сторону технологических ванн, выдерживание деталей над поверхностью ванны максимально возможное время, а также применением обдува, встряхивания и т.п. Только увеличение времени выдержки деталей над ваннами с 4 до 16 с сокращает вынос раствора в 3 раза.
Использование воды из систем охлаждения и нагревания возможно в случае отсутствия на предприятии оборотного водоснабжения в системах охлаждения и нагрева.
Интенсификация промывки заключается в оборудовании промывных ванн подвесочного типа перемешивающими устройствами, предпочтительно барботажного типа. Рекомендуемая продолжительность промывки деталей на подвесках составляет 40-90 с в каждой ванне (в зависимости от свойств отмываемых растворов и температуры промывной воды). При промывке барабанов применяют не менее, чем двукратное погружение вращающегося барабана в ванну промывки на 10-15 с и выдержку его над ванной до полного стекания жидкости.
Подпитка технологических ванн из ванн улавливания осуществляется в том случае, если суточное уменьшение объема электролита в технологических ваннах составляет не менее 20 % объема ванны улавливания. Основной причиной уменьшения объема раствора в технологической ванне является нагрев электролитов. Так, например, при температуре электролита 50 °С за 1 час с 1 м2 поверхности зеркала раствора испаряется около 2 л воды, а при температуре 60 °С немногим менее 4 л. Подпитка может осуществляться как вручную, так и с помощью простейшего воздушного эрлифта. Если в действующем цехе после никелирования и хромирования имеется несколько ванн улавливания, то в зависимости от производительности ванн и температуры электролитов в помощью подпитки технологических ванн водой из ванн улавливания можно организовать бессточные операции никелирования и хромирования, как описано выше.
Изменение последовательности промывочных операций заключается в том, что после технологической операции детали дополнительно промывают в ваннах промывки после предыдущей (рис.2 а), либо после последующей технологической операции (рис.2 б), либо и там и там (рис.2 в). В первом и во втором вариантах изменения последовательности промывки фактически увеличивается число прямоточных ступеней промывки на одну, в третьем – на две.
а) Дополнительная промывка деталей в промывной ванне, установленной перед технологической ванной
б) Дополнительная промывка деталей в промывной ванне, установленной после последующей технологической ванны
в) Дополнительная промывка в ваннах промывки после предыдущей и после последующей технологических ванн
Рис.2. Изменение последовательности промывочных операций:
Т1 – предыдущая технологическая ванна, Т2 – рассматриваемая технологическая ванна, Т3 – последующая технологическая ванна, П – ванна промывки.
В первом случае в качестве рассматриваемой технологической ванны могут служить ванны декапирования (активирования), бесцианистого меднения и никелирования, при этом расход воды на промывку сокращается в 20 раз для декапирования, в более 30 раз для меднения и никелирования. Во втором случае в качестве рассматриваемой технологической ванны могут служить ванны обезжиривания (расход воды снижается в 15 раз), декапирования перед никелированием (расход воды снижается в 13 раз), декапирования перед щелочным цинкованием и кислого кадмирования (расход воды снижается в 20 раз), никелирования перед хромированием и цинкования (расход воды снижается в 33 раза) и осветления цинковых и кадмиевых покрытий перед их хроматированием (расход воды снижается в 5 раз). Третий случай применим для ванны никелирования перед хромированием (расход воды снижается в 100 раз) и осветления цинковых и кадмиевых покрытий перед их хроматированием (расход воды снижается в 10 раз). Таким образом, без каких-либо затрат можно в десятки раз сократить водопотребление только за счет изменения маршрута движения деталей.
Многократное использование промывной воды заключается в том, что промывная вода после основных операций в процессах покрытия используется вторично в ваннах промывки после подготовительных операций перед этими же основными операциями по схеме на рис.3. Вода перекачивается из ванны в ванну либо с помощью воздушных эрлифтов, либо переливается самотеком при соединении ванн по схеме сообщающихся сосудов с помощью гибкого шланга.
Вода подается в ванну промывки после основной ванны нанесения покрытия (цинкования, кадмирования, меднения, никелирования, оловянирования, нанесения сплавов олова, фосфатирования, оксидирования и анодирования), затем промывная вода последовательно проходит через ванны промывки после подготовительных операций (декапирования, обезжиривания, осветления и травления алюминия), после чего сбрасывается на очистные сооружения. В этом случае общий расход воды определяется потреблением воды на промывку после нанесения покрытий. Экономия составляет сумму расходов промывной воды после обезжиривания и декапирования для нанесения гальванических покрытий – 700 л/м2 и после травления и осветления при анодировании алюминия – 1500 л/м2.
Рис.3. Схема многократного использования промывной воды: Т1,Т2 – ванны подготовительных операций, Т3 – ванна основной технологической операции
Многократное использование промывной воды по приведенной схеме позволяет снизить расход воды по отдельным линиям покрытия в 2-4 раза в зависимости от количества и типа последовательно соединенных ванн промывки. Внедрение повторного использования воды требует лишь незначительных работ по изменению обвязки трубопроводов на ваннах промывки.
Как при изменении последовательности промывок, так и при многократном использовании воды происходит смешение компонентов нескольких технологических ванн в одной промывной воде. В некоторых случаях это может привести к ухудшению качества обработки деталей. Например, осуществление дополнительной промывки деталей с цинковым покрытием в промывной ванне после декапирования может привести к растравливанию цинкового покрытия, при объединении промывочных ванн после кислого декапирования и щелочного обезжиривания, содержащего силикаты, на поверхности деталей может образовываться пленка нерастворимой кремниевой кислоты, которая будет препятствовать дальнейшему нанесению покрытия. Кроме того, недопустимо повторное использование промывной воды после обработки деталей в цианистых электролитах для промывки после обработки в кислых растворах, а также необходимо учитывать раздельную обработку хромсодержащих стоков на очистных сооружениях.
Глава 2. ВАКУУМНЫЕ ВЫПАРИВАТЕЛИ ДЛЯ ОЧИСТКИ СТОЧНЫХ ВОД ГАЛЬВАНИЧЕСКОГО ПРОИЗВОДСТВА
Современные гальванические производства предъявляют новые требования к системам очистки их стоков.
Во-первых, усилились требования к чистоте сбрасываемых вод. Во-вторых, возросшая стоимость утилизации отходов, электроэнергии и производственных площадей выдвигает законное требование к повышению их экономической эффективности. Поэтому, наряду с традиционными методами, последние десятилетия за рубежом широкое распространение получили системы локальной очистки стоков и восстановления электролитов на основе вакуумного выпаривания.
Характеристики
Тип файла документ
Документы такого типа открываются такими программами, как Microsoft Office Word на компьютерах Windows, Apple Pages на компьютерах Mac, Open Office - бесплатная альтернатива на различных платформах, в том числе Linux. Наиболее простым и современным решением будут Google документы, так как открываются онлайн без скачивания прямо в браузере на любой платформе. Существуют российские качественные аналоги, например от Яндекса.
Будьте внимательны на мобильных устройствах, так как там используются упрощённый функционал даже в официальном приложении от Microsoft, поэтому для просмотра скачивайте PDF-версию. А если нужно редактировать файл, то используйте оригинальный файл.
Файлы такого типа обычно разбиты на страницы, а текст может быть форматированным (жирный, курсив, выбор шрифта, таблицы и т.п.), а также в него можно добавлять изображения. Формат идеально подходит для рефератов, докладов и РПЗ курсовых проектов, которые необходимо распечатать. Кстати перед печатью также сохраняйте файл в PDF, так как принтер может начудить со шрифтами.















