169520 (625344), страница 2
Текст из файла (страница 2)
Для оптимального выбора систем очистки стоков гальванического производства разработчикам важно знать преимущества использования вакуумных выпаривателей и уметь оценить экономическую эффективность их применения.
На рисунке представлена стандартная схема подключения вакуумного выпаривателя.
Для большинства растворов участвующих в гальванических процессах, получаемый при выпаривании стоков дистиллят не только удовлетворяет ПДК, но и чище водопроводной воды, что позволяет использовать его повторно в ваннах промывки и приготовлении электролитов. Таким образом, использование вакуумных выпаривателей позволяет получать системы с замкнутым водооборотом, когда до 95% воды возвращается в технологический процесс. Таким образом, значительно снижается плата за водопотребление и водоподготовку. Важно отметить, что при этом для очистки воды не требуется дополнительных реагентов ни для водоподготовки, ни для очистки.
Глава 3. ШЛАМЫ ГАЛЬВАНИЧЕСКИХ ПРОИЗВОДСТВ: СХЕМА ПЕРЕРАБОТКИ
Для обезвреживания сточных вод гальванических производств в основном применяются реагентные методы, переводящие токсичные вещества в малорастворимые соединения. Широкая область пригодности и относительно простая технология обработки сточных вод обусловили наибольшее распространение модификаций реагентного метода в практике гальванического производства. Вместе с тем, реагентному методу очистки сточных вод присущи недостатки, которые ограничивают его технологические возможности, и в первую очередь, образование значительных количеств шламов, переработка которых связана с большими энергозатратами. Применение реагентного метода в промышленности привело к накоплению значительных количеств твердых отходов в виде смесей гидроокисей и гидрокарбонатов цветных металлов (только на предприятиях Киева накоплено более 1тыс.тонн), для хранения которых необходимо тратить значительные средства. Это вызвало необходимость разработки методов переработки шламов с целью их утилизации.
Например, на заводе по переработке отходов Tredi (Франция) введена в эксплуатацию установка по осаждению смеси железа, никеля и цинка содой [1]. Осадок прокаливали при 900оС в нейтральной безкислородной атмосфере и получали порошок феррита, который может быть использован при производстве специального кабеля, микроволновых печей, коррозионно-устойчивых красок и др. Как правило, осадки содержат от 50 до 80% воды, а поэтому их высушивание связано с большими энергозатратами. Значительное содержание воды делает невыгодным транспортирование таких шламов на заводы по переработке руд цветных металлов.
Поскольку на существующих производствах очистка сточных вод производится на общезаводских станциях нейтрализации, где происходит смешение всех технологических стоков, то в состав осадка входит смесь гидроксидов и гидрокарбонатов цинка, меди, никеля, хрома и железа в зависимости от состава накопленных покрытий. Поэтому переработка их на металлы является достаточно сложной задачей. Существует целый ряд производств, на которых отходы представляют собой нерастворимые в воде соединения металла, например цинка (на производствах химволокна) или меди (на производствах радиоэлектронной аппаратуры). Для экспериментального исследования возможности переработки шламов на металл в данной работе были выбраны шламы Киевского радиозавода. В производстве печатных плат промывные растворы, которые содержат медь, образуются после операций химического и электролитического меднения, подтравления и травления. Осаждение меди вели путем прибавления извести, которая содержит примеси известняка. Поэтому осадок после отстаивания и обезвоживания до содержания воды 50% представляет собой смесь оксида меди, гидрокарбоната меди и карбоната кальция.
Глава 4. ИЗВЛЕЧЕНИЕ НИКЕЛЯ ИЗ РАЗЛИЧНЫХ ПРОЦЕССОВ В ГАЛЬВАНОСТЕГИИ
4.1 Никель из промывных вод гальваностегии
В существующих способах обработки сточных вод процесса никелирования сточные воды пропускают через катионообменную смолу для адсорбации ионов никеля, а после насыщения катионита адсорбированные ионы никеля элюируют, пропуская минеральные кислоты, в частности серную кислоту; при этом происходит регенерация катионита и получается раствор никелевой соли. В результате присутствия избытка серной кислоты получаемые растворы никелевой соли не могут быть непосредственно использованы в качестве никелировальных растворов, а должны быть пропущены через анионообменную смолу для удаления избытка кислоты.
Однако при удалении из раствора избытка кислоты на анионите концентрация никеля в растворе снижается ~ на 20 % и к раствору приходится добавлять соединения никеля. Кроме того, значительное количество никеля содержится в промывной воде и его необходимо удалять, пропуская раствор через катионит. В результате этого возрастает нагрузка на катионит, а количество щелочи для регенерации анионита в несколько раз превышает теоретическое, что приводит к повышенному загрязнению окружающей среды.
Указанные недостатки позволяют устранить процесс, разработанный Т. Хаияши. Согласно этому процессу, сточные воды процесса никелирования, образующиеся при промывке изделий, осаждают водным раствором щелочи с образованием гидроксидов примесей металлов, присутствующих в растворе помимо никеля. Полученный фильтрат пропускают через ионообменную смолу, получая водный раствор никелевых солей, содержащий избыток свободной серной кислоты. Часть этого раствора обрабатывают щелочью для осаждения гидроксида никеля, который отделяют от раствора путем фильтрования или центрифугирования.
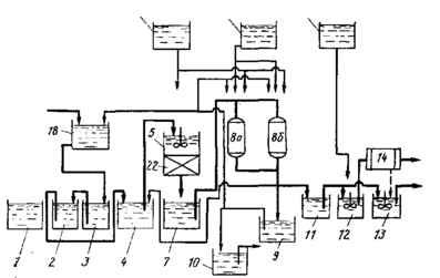
Полученный гидроксид никеля затем добавляют к оставшейся части водного раствора никелевой соли для нейтрализации ее остаточной серной кислотой с образованием сульфата никеля. При этом образуется высококонцентрированный раствор сульфата никеля и происходит удаление серной кислоты из раствора. Схема процесса представлена на рис. 1.
Изделия, никелированные в ванне 1, сначала промывают в промывной ванне 2, а затем во второй ванне 3. Вода для промывки сначала подается в ванну 3 и после увеличения в ней концентрации солей никеля поступает в первую промывную ванну 1, где в ней дополнительно растворяются соли никеля; после этого ее направляют в резервуар 4. Как правило, промывные воды в резервуаре 4 имеют величину рН = 3,5-4,5.
Рис. 1. Схема циклической ионообменной обработки сточных вод процесса никелирования
Промывные воды из резервуара 4 направляют в резервуар 5, куда из резервуара 17 подается водный раствор гидроксида натрия для установления рН раствора ~7,5. В этих условиях происходит осаждение ионов металлов, присутствующих в растворе кроме никеля, таких как железо, медь и др., в виде гидроксидов. Получаемую смесь фильтруют на фильтре 22 и фильтрат направляют в резервуар 7.
Фильтрат далее подают в адсорбционные башни 8а и 86, заполненные катионитом, для адсорбции ионов никеля и раствор, выходящий из адсорбционных башен, направляют на хранение в резервуар 9. В результате этой обработки происходит обезвреживание сточных вод, которые могут быть снова использованы в качестве промывной воды, которая подается в резервуар 18. После установления требуемой величины рН в резервуаре 10 вода из резервуара 9 может быть также сброшена в сток. После того как адсорбционная способность катионита в башнях 8а и 86 исчерпана, подачу фильтрата прекращают и производят регенерацию адсорбционных башен следующим образом:
1. Продувают воздухом для удаления остатков фильтрата из частиц катионита.
-
Пропускают через катионит в прямом и обратном направлениях воду в количестве ~20 объемов на один объем катионита. Для обработки используют воду из резервуара 9.
-
Снова продувают воздухом для удаления остатков воды из катионита. Фильтрат и воду, удаляемую из катионита, возвращают на хранение в резервуар 4.
Из резервуара 16 подают водный раствор серной кислоты, объем которой равен объему катионита. В результате происходит десорбция ионов никеля и регенерация катионита с выделением раствора сульфата никеля.
5. Снова продувают воздухом для удаления остатков раствора сульфата никеля из катионита. Выделяющиеся растворы соли никеля направляют на хранение в резервуар 11.
В результате описанной обработки происходит удаление из катионита адсорбированных ионов никеля и образуется раствор сульфата никеля; адсорбционные башни 8а и 86 при этом регенерируются.
Выделяющийся раствор сульфата никеля, содержащий свободную серную кислоту и очень малые количества натрия, хранится в резервуаре //. Часть этого раствора направляют в резервуар 12 для обработки водным раствором гидроксида натрия, подаваемым из резервуара 15, для осаждения гидроксида никеля, который отделяют от раствора фильтрацией на фильтрпрессе 14. Фильтрат возвращают в резервуар 4, а фильтрпресс промывают водой для выделения гидроксида никеля. Остаток раствора из резервуара 11 направляют в резервуар 13, где смешивают отдельный гидроксид никеля с раствором, находящимся в резервуаре 13. Гидроксид никеля реагирует с избытком серной кислоты, содержащимся в элюированном растворе, в результате чего образуется сульфат никеля и снижается содержание серной кислоты в растворе. Получаемый раствор никелевых солей с требуемой концентрацией возвращается для повторного использования в гальваническую ванну 1.
4.2 Некоторые практические рекомендации по эксплуатации электролитов никелирования
В практической гальваностегии процесс никелирования применяется преимущественно для защитно-декоративной отделки деталей из различных металлов (стали, меди и ее сплавов, алюминия и др.) и при получении многослойных покрытий Cu-Ni-Cr или Ni-Cr. Наибольшее распространение для промышленного применения получил электролит Уоттса, содержащий 200-300 г/л никеля сернокислого, 40-60 г/л никеля хлористого и 25-45 г/л борной кислоты, в который при необходимости могут вводиться блескообразующие, выравнивающие, смачивающие или какие-либо другие добавки.
В зависимости от необходимости решения тех или иных конкретных практических задач состав электролита может существенно изменяться. Например, для повышения рассеивающей способности электролита снижают концентрацию сульфата никеля и добавляют электропроводные соли, такие как сульфат натрия или (что более желательно) магния; с целью интенсификации процесса электроосаждения никеля в электролит вводятся более эффективные, чем борная кислота (H3BO3) буферирующие добавки, для получения пластичных толстых осадков вместо сульфата никеля может применяться уксуснокислый или сульфаминовокислый никель.
Однако основные неполадки и их причины, а также общие требования к ведению технологического процесса едины для всех электролитов никелирования.
В первую очередь необходимо отметить, что электролиты никелирования очень чувствительны к посторонним примесям, среди которых можно выделить 4 основные группы:
-
катионы (железо, медь, цинк, кадмий, свинец, хром, алюминий, аммоний);
-
анионы (NO3-, NO2-, ClO-, ClO3-);
-
органические вещества;
-
механические примеси (пыль, шлам).
С другой стороны посторонние примеси можно разделить на систематические и случайные.
Систематические примеси накапливаются неизбежно. К таким примесям относятся продукты разложения органических добавок, катионы металлов, содержащихся в промывной воде (в основном – железо); катионы металлов, переходящие в электролит с поверхности обрабатываемых деталей в начальные моменты электролиза за счет химического взаимодействия; механические примеси (пыль из воздуха рабочей зоны, анодный шлам).
Рациональная организация технологического процесса при никелировании позволяет существенно снизить скорость накопления систематических примесей:
-
Необходимо избегать передозировки блескообразующих и других добавок. Для этого должен быть организован входной контроль количества добавок, регулярный контроль (анализ) электролита никелирования по основным компонентам и рН. Кроме того крайне важно соблюдать оптимальные условия электроосаждения, задаваемые технологическим регламентом.
-
При использовании для промывки деталей перед никелированием водопроводной воды возможно загрязнение электролита железом и органическими примесями. Поэтому промывка деталей непосредственно перед ванной никелирования должна осуществляться в дистиллированной или деонизованной воде. Если это требование невыполнимо в условиях производства, можно на линии подачи промывной воды установить промышленную фильтровальную установку, фильтрующую от взвесей железа и органики.
-
Загрузку деталей (подвески или барабан) в гальваническую ванну желательно производить при включенном источнике тока. При этом величина тока во время опускания деталей в ванну должна быть в 2-3 раза ниже рабочей и лишь когда все детали будут в электролите, ток увеличить до необходимого значения. Нерабочие части подвесных приспособлений должны быть изолированы токонепроводящими материалами; нельзя допускать контакта анодных держателей с электролитом.
-
Известно, что в процессе никелирования аноды растворяются неравномерно, что сопровождается образованием никелевого шлама. Поэтому, аноды необходимо помещать в чехлы из химически стойкой ткани (например, полипропиленовой или бязи); для снижения шламообразования использовать аноды никелевые непассивирующиеся (марка НПАН или НПАНЭ); крайне желательно осуществлять непрерывную фильтрацию электролита. В случае применения барботажа, перемешивания воздухом последний должен быть тщательно очищен от следов масел и других примесей. Качество очистки сжатого воздуха необходимо контролировать.
Случайные примеси попадают в электролит никелирования по ошибке обслуживающего персонала, в результате неверно организованного технологического процесса или при нарушении режимов эксплуатации электролита.















