168667 (625167), страница 3
Текст из файла (страница 3)
В зависимости от вида транспорта, используемого для завоза материалов, склады оборудуются соответствующими подъездными путями. После разгрузки материала его перемещение по складу обеспечивается бульдозерами. Со складов материал подается передвижными транспортерами непосредственно в склады питания или, если требуется, к дробилке.
Склад хранения минерального порошка предназначен для приема и временного хранения наиболее мелкой фракции неорганических материалов для асфальтобетонной смеси. Они представляют из себя закрытые емкости (силоса), как правило, цилиндрической формы с коническим днищем, оборудованные устройствами для загрузки и дозирования порошка. Загрузка силосов осуществляется при помощи пневмотранспорта из цементовозов. В момент загрузки пневмотранспортом происходит активное пыление, поэтому силоса оборудованы устройствами очистки, в качестве которых чаще всего применяются рукавные фильтры, установленные непосредственно на крышке емкости силоса.
Дробилка предназначена для измельчения крупных каменных материалов до размеров щебня, используемого в производстве АБ. Чаще всего дробление горных пород производится в карьерах, где они добываются, и на АБЗ поступает готовый гравий. Однако возможны ситуации, когда требуется добавочное измельчение каменных материалов до требуемых размеров. Наличие дробилки снижает зависимость АБЗ от поставщика материалов и позволяет обеспечить точное соблюдение требуемого фракционного состава компонентов асфальтобетонной смеси.
По типу действия применяются дробилки различных типов — щековые, молотковые и другие. Процесс дробления сопровождается активным выделением пыли. Для снижения выбросов пыли дробилки следует оборудовать системами аспирации с установками пылеочистки.
После дробилки измельченный материал поступает на промежуточные склады хранения, как правило, открытого типа. Их наличие позволяет более равномерно загрузить оборудование и иметь резерв материалов различных размеров.
Сушильные барабаны предназначены для просушивания и нагрева минеральных материалов до необходимой температуры (180-200 ˚С). Они состоят из вращающегося барабана, топки с форсункой, системы подачи и подогрева топлива, топливных баков и системы пыле очистки. В качестве топлива в основном применяют жидкое топливо (мазут) или газ. Мазут перед подачей его в форсунку необходимо нагреть до температуры 70-100 ˚С.
Нагрев материалов осуществляется по принципу противотока. Сушильный барабан установлен с уклоном оси в сторону топки, а загрузка материала производится через специальное загрузочное устройство с противоположного конца барабана. Внутри барабан имеет специальные полки для улучшения перемешивания материала. Благодаря наклону оси барабана, материал при вращении барабана пересыпается с полки на полку и одновременно перемещается в сторону топки, хорошо премешиваясь и обдуваясь при этом горячими дымовыми газами. При проходе через сушильный барабан дымовые газы активно выдуваю мелкую фракцию минеральных заполнителей и выходят из барабана сильно запыленными.
Установки пылеочистки применяют для очистки выходящих из сушильного барабана дымовых газов. Как правило, они имеют две ступени очистки. В качестве первой ступени обычно используются циклоны сухой очистки, устанавливаемые группами, а в качестве второй ступени — мокрые пылеуловители.
Смесительные агрегаты предназначены для перемешивания составляющих асфальтобетонной смеси. Они включают в свой состав «горячий» элеватор, сортировочную установку (грохот), бункера для хранения небольшого количества горячих минеральных материалов (песка и щебня) по фракциям и минерального порошка, устройства для дозирования составляющих асфальтобетонной смеси, в том числе дозатор для битума с системами кранов и битумопроводов, собственно смеситель с разгрузочным устройством.
В асфальтосмесительных установках циклического действия, как правило, применяют смесительные агрегаты с башенным расположением оборудования (в вертикальном направлении), а в установках непрерывного действия — с партерным расположением (в горизонтальном направлении). При башенном расположении оборудования «горячий» элеватор подает песок и щебень из сушильного барабана в сортировочную установку, которая сортирует эти материалы по фракциям и направляет их в отдельные отсеки «горячего» бункера. В нижней части каждого отсека имеются затворы, управление которыми осуществляется дистанционно или автоматически с пульта управления. Под отсеками «горячего» бункера размещается весовой бункер, в который с нарастающим итогом поступают песок, щебень по фракциям и минеральный порошок. На некоторых типах асфальтосмесителей дозирование минерального порошка осуществляется в отдельном бункере с целью повышения точности дозирования.
Минеральные материалы, взвешенные в соответствии с заданным рецептом, выгружаются в смеситель. Туда же затем подается нагретый до необходимой рабочей температуры битум. Смешивание, как правило, осуществляется в лопастных смесителях циклического действия. Для сохранения температуры материала смесители обогреваются с помощью «тепловой рубашки», в которой циркулирует пар или нагретая жидкость. Управление затвором смесителя осуществляется дистанционно или автоматически.
Бункера готовой асфальтобетонной смеси предназначены для хранения ее в течение некоторого времени, что обеспечивает равномерную и непрерывную работу АБЗ при уменьшенном количестве транспортных средств, доставляющих готовую смесь к местам укладки. Вместимость бункеров приблизительно равна часовой производительности АБЗ. Для загрузки бункеров в большинстве случаев применяют скиповые подъемники, иногда ленточные, скребковые или пластинчатые транспортеры и шнековые конвейеры.
Битумохранилище предназначено для хранения запаса битума, его предварительного нагрева и подачи в битумонагревательные установки. Битумохранилище ямного типа обычно представляет из себя заглубленную бетонную емкость, в которой имеются регистры для разогрева битума до температуры 90 ˚С. Чтобы не греть весь битум и экономить топливо, часто используют специальный нагревательно-перекачивающий агрегат, который представляет из себя самоходную тележку типа мостового крана, перемещающуюся над емкостью с битумом. На тележке подвешены трубчатые регистры, которые опущены в битум и разогревают лишь часть всего объема битумохранилища. Установленные на тележке насосы перекачивают битум из зоны нагрева.
В отличие от донных паровых регистров, размещенных вблизи дна битумохранилища и ремонтируемых только после полного опорожнения битумохранилища, обслуживание и ремонт нагревательно-перекачивающих агрегатов проводят в любое время после подъема регистров из битумохранилища.
Битумонагревательная установка является нагревательным устройством непрерывного действия и предназначена для обезвоживания битума и его последующего нагрева до требуемой температуры. Установка состоит из котла, разделенного на два отсека — в первом находится предварительно обезвоженный битум, а во втором — выпаренный и нагретый до рабочей температуры. Установка оборудована системой подогрева и подачи топлива (мазута), дутьевым вентилятором, битумными шестеренчатыми насосами и трубопроводами с арматурой управления.
Емкости хранения мазута предназначены для приема и хранения топлива. Мазут хранится в емкостях подогретый при помощи паровых регистров или электронагревателей. Из емкостей хранения его обычно перекачивают в расходный топливный бак, где его подогревают до 90-105 ˚С и подают к форсункам, пропуская через фильтры для очистки от механических примесей.
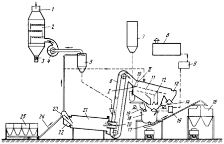
На рисунке 1.1 приведена одна из общих технологических схем асфальтосмесительной установки циклического действия с башенным расположением оборудования. Каменные материалы при помощи фронтального погрузчика подаются со склада в агрегат питания 25, бункера которого имеют питатели для непрерывного предварительного грубого дозирования составляющих фракций каменных материалов (щебня и песка). Дозируемые материалы поступают в загрузочное устройство 23 сушильного барабана 21 с помощью ленточного транспортера 24. В сушильном барабане каменные материалы высушиваются и нагреваются до температуры на 20-30 ˚С выше необходимой заданной температуры смеси. Сушильный барабан снабжен топкой с форсункой 20. Высушенные и нагретые каменные материалы с помощью «горячего» элеватора 6 попадают в сортировочный агрегат 11, где с помощью грохота осуществляется их сортировка по фракциям и подача в «горячие» бункера с отсеками 12. Негабаритные материалы, диаметр которых больше размеров самой крупной фракции, сбрасываются в бункер негабарита 13. Из отсеков «горячего» бункера каменные материалы поступают в весовой бункер 14 дозировочного отделения.
Отдозированные с нарастающим итогом песок и щебень каждого замеса из весового бункера 14 поступают в смеситель 18. Минеральный порошок из силосной емкости 7 подается в бункер дозатора минерального порошка 19 и после дозирования соответствующей порции с помощью шнека в смеситель. Силосная емкость 7 загружается пневмотранспортом из цементовозов.
Рисунок 1.1 — Общая технологическая схема асфальтосмесительной установки
1- дымовая труба; 2- вторая ступень очистки (пылеуловитель мокрой очистки); 3- устройство удаления шлама; 4- дымосос; 5- сухие циклоны первой ступени очистки; 6- «горячий» элеватор; 7- силос минерального порошка; 8-битуиохранилище; 9-битумонагревательная установка; 10 – перекидной флажок пропуска материала на грохот; 11 – сортировочный агрегат; 12 – отсеки «горячих» бункеров; 13 – бункер негабарита; 14 – весовой бункер; 16 – дозатор битума; 18 – смеситель; 19 – дозатор минерального порошка; 20 – форсунка топки сушильного барабана; 21 – сушильный барабан; 22- дымовая коробка; 23-загрузочное устройство сушильного барабана; 24 – ленточный транспортер; 25– бункера агрегата питания;
При приготовления асфальтобетонных смесей для нижних слоев дорожных покрытий с менее жесткими требованиями к качеству исходных компонентов, когда не требуется тщательная их сортировка по фракциям, перкидной флажок 10 устанавливается из положения I в положение II, и горячие каменные материалы поступают на дозирование, минуя грохот.
Из битумохранилища 8 подогретый до температуры 90 ˚С битум подается насосной установкой по обогреваемому битумопроводу в битумонагревательную установку 9, где обезвоживается и нагревается до рабочей температуры 140-160˚С, а затем в дозирующее устройство 16, из которого строго отдозированная порция битума подается в смеситель. После этого все компоненты смеси тщательно перемешиваются, и готовая смесь выгружается либо непосредственно в кузов автомобиля-самосвала, либо в ковш скипового подъемника. Для предотвращения налипания смеси на внутренние поверхности стенок скипового подъемника и кузова самосвала предусмотрена система опрыскивания их поверхностей распыленной струей дизельного топлива.
При просушивании и нагреве песка и щебня в сушильном барабане выделяется большое количество мелких и крупных фракций пыли и несгоревших частиц жидкого топлива (сажи). Поэтому дымовые газы, входящие из сушильного барабана, очищаются с помощью различных систем пылеочистки, которые, как правило, имеют две ступени. Через дымовую коробку 22 дымовые газы поступают в первую ступень очистки 5, состоящую из группы циклонов. Уловленная циклонами крупная пыль направляется в «горячий» элеватор 6 и далее через грохот вместе с фракцией песка в смесь. С помощью дымососа 4 предварительно очищенные дымовые газы подаются во вторую ступень очистки 2, в качестве которой используется какой-либо пылеуловитель мокрой очистки. Из второй ступени очистки газы поступают в дымовую трубу 1. Уловленная пыль из системы мокрой очистки удаляется с помощью очистного устройства 3.
Для приема и хранения минерального наполнителя используются силосные емкости. Внешний вид и основные элементы такой емкости приведены на рисунке 2. По своей конструкции силос представляет приподнятую над землей емкость 1 с коническим днищем, установленную на каркасе из металлического профиля. Внизу емкости смонтированы аэрирующее устройство 2 для подачи порошка и дозировочный блок 3 с арматурой управления силосом, обеспечивающие его загрузку порошком, дозирование порошка и выгрузку в автосамосвалы или бункера. Выгрузка силоса производится через лоток 4 или рукав 5. Минеральный порошок загружается в силос 1, затем через аэрирующее устройство 2 подается в дозировочный блок 3, где осуществляется его непрерывное дозирование, и далее по лотку 4 в приемное устройство элеватора смесительного агрегата.
На крышке силоса обычно устанавливаются тканевые рукавные фильтры для очистки воздуха, выходящего из бункера силоса в процессе его загрузки системами пневмотранспорта. Такая компоновка фильтра позволяет упростить его очистку: при встряхивании рукавов вся осевшая на ткани пыль стряхивается обратно в бункер силоса.
















