168636 (625157), страница 2
Текст из файла (страница 2)
Крім кількісних компенсацій утрат необхідна ще і якісна компенсація циркулюючої в системі води. Справа в тім, що при циркуляції в системі вода піддається різним фізико-хімічним впливам (розпарюванню, нагріванню, охолодженню, аерації й ін.). Вода мінералізується, у ній збільшується концентрація солей і вона здобуває здатність до відкладень шумовиння на внутрішніх стінках водоводів. Утворення шумовиння зменшує теплопередачу, звужує прохідний перетин труб, викликає необхідність застосування підвищеного тиску, збільшує витрата води, змушує робити трудомістку роботу по очищенню від шумовиння. Є способи зробити домішки, що утримуються у воді, більш розчинними й виносними при її циркуляції без утворення шумовиння (про неї буде сказано далі), але й у цьому випадку воду, що містить розчинені солі, прийдеться якось видаляти із системи. Практично зараз це досягається освіженням циркулюючої води або, як прийнято називати цей процес, підживленням, скидаючи деяку її кількість у водойми і забираючи, замість скинутої, свіжу воду з водойми. Кількість такого підживлення в залежності від технології виробництва і якості споживаної води складає 5-10% від загальної кількості води, що циркулює в системі. Підживлення може бути постійну або періодичної (кожну добу або через кілька доби). Як видно, для підтримки нормального балансу води, збереження її якості і попередження утворення шумовини приходиться все-таки брати з водойми чисту і скидати в нього мінералізовану воду.
Таким чином, для створення цілком замкнутої оборотної системи треба вирішити дві основні задачі: першу - знайти спосіб усунення мінералізації оборотної води, що звертається в системі, без використання для її розведення води водойми і другу - знайти спосіб покривати втрати оборотної води знову ж без забору води з водойми. Власне кажучи, це навіть одна задача - треба знайти джерело води, що не залежить від водойми. Таких джерел два: це побутові стічні води й атмосферні дощові води.
Побутові міські стічні води скидаються після їхнього очищення у водойми є величезним резервом води, яку можна використовувати і уже використовують для нестатків промисловості. У якомусь ступені це теж завуальований забір води з водойми, тому що побутові стічні води були узяті з водойми і повертаються в нього назад. Але треба врахувати, що задоволення потреби у воді для побутового споживання є неминучим, крім того, у ряді випадків комплексне очищення й обробка побутових стічних вод і промислових стоків доцільна й економічна, тому що при цьому можна об'єднати деякі каналізаційні системи й очисні спорудження.
Побутові стічні води після біологічного очищення мають БПК5 близько 15 мг О2/л і містять 15-25 мг/ л зважених речовин, у тому числі особливо неприємних рослинних і тварин мікроорганізмів. Безпосереднє використання таких вод у системах оборотного водопостачання може привести до інтенсивного розвитку біологічних обростань у водоймах і до посилення процесу мінералізації води, що звертається. Тому побутові води, використовувані для заповнення втрат в оборотних системах, необхідно додатково очищати, щоб довести БПК5 додаткової води до 5 мг О2/л, а концентрацію зважених речовин до 5-10 мг/л. Атмосферні дощові води є нерегулярним джерелом водопостачання, тому що їхня кількість залежить від кліматичних умов району. Але в умовах нашої країни (крім південних безводних районів) зливові і поталі води можуть дати значне поповнення водних ресурсів підприємства. Раніш часто при проектуванні каналізації передбачали відвід зливових вод із промислової площадки в загальну систему каналізації. Це перевантажувало каналізаційну систему і погіршувало ступінь очищення стічних вод особливо під час сильних злив і в період сезонного танення снігів. Тепер зливові і поталі води направляють із площадки підприємства по скидних каналах у самостійну систему каналізації з наступним відведенням у ставки-нагромаджувачі. Після попереднього очищення на очисних спорудженнях ці води можна брати на підживлення оборотних систем. Потрібно відзначити, що дощові води в момент виникнення зовсім чисті і не містять солей, оскільки вони утворяться конденсацією пар води. Забруднюються вони тільки в невеликому ступені від атмосферного пилу і газів, що знаходяться в повітрі, і звичайно, більш сильно від забруднень на поверхні проммайданчики в залежності від того, наскільки чистої підтримується територія підприємства, по якій вони стікають у стічні канали.
Тепер можна підвести деякі підсумки сказаному в цій главі. Для того щоб створити цілком замкнуту систему водопостачання, необхідно:
- знайти способи підтримувати сталість води, що обертається в системі, як по кількості, так і по складу;
- здійснювати боротьбу з забрудненням системи як мінеральними, так і біологічними відкладеннями;
- забезпечити захист устаткування від корозії;
- організувати на всіх етапах системи, де відбувається забруднення води, її очищення до потрібного ступеня;
- не скидати у водойми те, що потрібно видаляти із системи, а ліквідувати іншими способами.
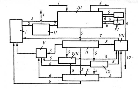
Щоб підтримати постійна кількість води в системі, необхідно покривати її втрати підживленням. Іноді це можна зробити, використовуючи побутові стічні або атмосферно-дощові води. Але, незалежно від цього, якщо взагалі зменшити кількість води, що звертається, у системі, то зменшиться і потреба в підживленні і можна буде ця невелика кількість підживлення брати з водойми без повернення, як це роблять інші галузі промисловості, що споживають воду. Нові системи замкнутого оборотного водопостачання так і проектують: із забором невеликої кількості води на підживлення з водойми, але без скидання в нього стічних вод. Сильно мінералізовану воду, яку потрібно було б скинути із системи замість підпитуючої води, знищують відомими способами. Таким чином, і кількісний і якісний склад води, що звертається в системі, залишається постійним. Узагальнюючи все сказане, побудуємо модель безстічного оборотного водопостачання промислового підприємства. Така модель системи очищення стічних вод і підготовки їх до використання в оборотній системі водопостачання без якого-небудь скидання стічних вод у водойми показана на малюнку 4. Частина стічних вод від технологічних установок підприємства надходить на системи локального очищення ІV, інша частина - умовно чисті води - прохолоджується і повертається у виробництво через вузол оборотного водопостачання 1; інші стічні води (лінії 5) проходять очищення: механічних, фізико-хімічних або біохімічну і надходять очищеними (по лініях 6) у вузол додаткової (остаточного очищення) V і потім у вузол оборотного водопостачання 1, відкіля (по лінії 3) повертаються у виробництво, замикаючи в такий спосіб цикл. Сильно зволожені відходи від очисних установок (по лініях 8), а також мінералізовані стоки, вилучені в процесі підживлення (на малюнку не показані), надходять у вузол підготовки відходів VІІ. Тут від них відокремлюється вода, що повертається у виробництво (по лінії 7); тверді збезводнені відходи, якщо вони можуть бути використані у виробництві, повертаються туди (лінія 9) або йдуть у відвали, але не скидаються у водойми. Воду для підживлення системи беруть з водойми (або інших джерел) по лінії 1.
Звичайно, це тільки спрощена схема оборотного водопостачання, в окремих виробництвах вона відповідно змінюється, у неї можуть бути введені інші елементи або деякі з приведених частин схеми - опущені, але в загальному вона дає представлення про умови створення оборотного водопостачання без скидання стоків у водойми. Основним показником гарної роботи виробництва є кратність використання води. Цей показник визначається як відношення загального обсягу споживаної підприємством води до обсягу свіжої води за той самий час.
Рис.4. Модель системи очищення стічних вод і підготовки їх до використання в системі оборотного водопостачання без скидання стічних вод у водойми:
І - вузол оборотного водопостачання; ІІ - вузол охолодження умовно чистої води; ІІІ - технологічні установки; ІV - механічне очищення; V - вузол додаткового очищення; VІ - механічне очищення; VІІ - вузол підготовки відходів; VІІІ - фізико-хімічне очищення; ІX- хімічне очищення; X - біологічне очищення; 1 - лінія додаткової води; 2 - оборотна охолоджувана вода (умовно чиста); 3 - лінія чистої води, що повертається в технологічні установки; 4 - утрати води; 5 - лінії стічних вод; 6 - лінії очищених стічних вод; 7 - лінія подачі чистої води з вузла підготовки відходів; 8 - лінії відводу з очисних пристроїв відходів, що містять воду; 9 - лінія повернення корисних відходів у технологічні установки; 10 - лінія відводу відходів на знищення
Кратність використання води в промисловості нашої країни ще досить невелика. У легкій промисловості кратність біля одиниці, у теплоенергетиці і виробництві папера - біля двох, у харчовій і вугільній промисловості - не набагато більше трьох. У хімічній і нафтопереробній промисловості, що займає ведуче положення по обороті води, кратність її використання складає, у залежності від підгалузі, від 5 до 7. Для окремих хімічних підприємств у результаті організації оборотного водопостачання і вторинного використання стічних вод забір води з відкритих водойм знижений у 15-20 разів у порівнянні з забором води при прямостоковому водопостачанні. Одночасно значно скорочується скидання забруднених стічних вод у водойми, а при безстічному - цілком відсутні стічні води.
На більшості підприємств хімічної і нафтохімічної промисловості для підвищення ефективності водопостачання створюються одночасно трохи (мінімум дві) системи оборотного водопостачання, що розрізняються вимогами до якості води. Наприклад, системи, у яких циркулює умовно чиста вода, використовувана, в основному, для охолодження в теплообмінних апаратах, і системи, у яких утворяться забруднені стічні води, застосовувані для інших цілей. При цьому існують наступні варіанти використання стічних вод: у системах оборотного водопостачання підприємств або цехів (найбільш розповсюджений випадок); для технічного водопостачання очищеними водами одних підприємств, інших підприємств або цехів; у технічному водопостачанні підприємств або цехів очищених і знешкоджених міських стічних вод.
До води, що циркулює в оборотній системі, висувають вимоги не тільки у відношенні забезпечення нормального технологічного процесу виробництва, але і дотримання санітарно-гігієнічних нормативів. Оборотна вода повинна бути нешкідлива для обслуговуючого персоналу і не мати дурного запаху. Особливо важлива відсутність в оборотній воді бактеріальних забруднень. Що залишаються після біологічного очищення забруднення, у тому числі біогенні елементи (з'єднання азоту і фосфору), можуть, певною мірою , становити небезпеку для здоров'я обслуговуючого персоналу.
У залежності від галузевих вимог до якості повторно використовуваних вод глибоке очищення стічних вод роблять, в основному, від зважених речовин, нафтопродуктів і олій, а також від органічних речовин, що окисляються легко, токсичних іонів і органічних речовин. У зв'язку з необхідністю створення замкнутих систем великого значення набуває очищення високомінералізованих стічних вод. Найбільше поширення одержали методи фізико-хімічного глибокого очищення стічних вод у сполученні з методами біологічного очищення.
1.4 Основні принципи створення оборотних систем водопостачання
Можна сформулювати загальні принципи створення оборотних систем водопостачання підприємств:
- для підвищення ефективності очищення від забруднень водооборотних систем вони повинні бути багатоконтурними: стічні води з забруднюючими речовинами, близькими по властивостях, повинні знаходитися в окремому замкнутому контурі;
- локальні системи очищення в оборотних системах водопостачання повинні забезпечувати демінералізацію стічних вод, звільнення від механічних домішок, відсутність біозабруднень;
- з метою боротьби з біообростанням у системах оборотного водопостачання і корозією устаткування, що контактує з водою, у цих системах повинне бути передбачене введення у воду відповідних інгібіторів.
У комплексній схемі стічні води технологічних процесів хімічного комбінату і ТЭЦ замкнуті в локальних циклах водного господарства з очищенням виробничих стічних вод на визначеній ступіні циклу. В окремі мережі каналізації випускаються тільки потоки, очищення яких передбачена на загальнозаводських очисних спорудженнях. Для окремих потоків передбачені різні мережі каналізації: зі змістом органічних забруднень, мінеральних забруднень з великою мінералізацією (більш 3 г/л), побутових, умовно чистих і дощових.
Для ілюстрації ефективності водооборотних систем у табл. 1 наведені порівняльні дані про водоспоживання і використання стічних вод до і після впровадження комплексної схеми оборотного водопостачання й очищення стоків. З табл. 1 випливає, що загальна витрата в промисловому регіоні свіжої води знизився в 6 разів, а безпосередньо на хімічному комбінаті - більш ніж у 30 разів, скидання стічних вод у ріку припинений, повернення стічних вод у виробництво складає 95,6%.
Використання в комплексній схемі окремих потоків дозволяє застосовувати локальне очищення стічних вод. Локальне очищення стічних вод має велику перевагу в порівнянні з загальної, тому що очищенню піддається стічна вода, що містить одне забруднення або кілька близьких по хімічних властивостях. Технологія такого очищення простіше, економічне і невимірно ефективніше, ніж технологія очищення стічних вод, що містять багато різних забруднень. Локальне очищення повинне проводитися на виході технічних стічних вод з підприємства, з його окремих цехів або з виробничих ліній. При цьому не допускається змішування стічних вод, що містять різнорідні забруднення.
















