166308 (624979), страница 2
Текст из файла (страница 2)
За нормальных условий в 1 л. воды растворяется 494 г КОН. Гидроксид лития в воде растворяется значительно хуже, чем гидроксиды других щелочных металлов. При температуре 0°С в 1 л. воды растворяется 109 г
.
Для характеристики растворимости молорастворимых в воде электролитов введено понятие произведения растворимости ПР. Оно равно произведению равновесных молярных концентраций катионов и анионов этого вещества в насыщенном водном расстворе. Рассмотрим произведение растворимости на примере гидроксида марганца.
, ПР= 2,3×10-13
растворимость вещества будет равна:
С помощью произведения растворимости можно вычислить значения концентраций ионов в растворе. Значения произведений растворимости многих молорасстворимых в воде оснований приведены в таблице 1 ( где рПР=-lg ПР ).
Таблица 1. Значения произведений растворимости оснований.
| Основание | pПР | Основание | ПР |
| Ca(OH)2 | 5,2 | La(OH)3 | 22,44 |
|
| 19,25 | Mg(OH)2 | 11,7 |
|
| 14,8 |
| 12,64 |
|
| 15,1 | Ni(OH)2 | 13.8 |
| Sc(OH)3 | 27,06 |
| 16,3 |
|
| 37,4 |
| 15,7 |
Значения произведений растворимости широко используют в химических расчетах в аналитической химии, токсикологии.
-
Константа диссоциации растворимых оснований.
Из предыдущего подраздела можно увидеть, что большинство гидроксидов за нормальных условий не растворимы в воде. И лишь щелочи и гидроксиды второй группы, главной подгруппы, периодической системы химических элементов Д. И. Менделеева, растворимы в воде в той или иной мере.
В водных растворах гидроксиды диссоциируют на ионы. Рассмотрим диссоциацию гидроксида натрия:
, по такой же схеме диссоциируют и другие гидроксиды:
В водных растворах щелочи будут дисоциированы полностью, а гидроксиды бария, кальция, магния диссоциируют лишь в некоторой мере.
Для выражения меры диссоциации электролита служит понятие степени диссоциации [ 1, ст. 228 – 232 ]. Степенью диссоциации электролита называют отношение числа его молекул, распавшихся в данном растворе на ионы, к общему числу его молекул в растворе. Слабые электролиты в растворе дисоциированы частично и в растворе устанавливается динамическое равновесие между недиссоциированными молекулами и ионами. К этому равновесию можно применить законы химической кинетики и записать константу диссоциации:
Константы диссоциации позволяют вычислять РН раствора, сравнивать силы разных электролитов между собой. Значения констант диссоциации некоторых оснований приведены в таблице 2.
Таблица 2. Значения констант диссоциации оснований.
| Основание | Кд |
| NH4OH | 1,76×10-5 |
| LiOH | 6,8×10-1 |
| Pb(OH)2 | 3,0×10-4, 3,0×10-8 |
Для выражения меры кислотности или щелочности среды в химии используют понятие водородного показателя.
Для сильных электролитов он равен:
, где С – молярная концентрация основания. Для слабых оснований принята формула:
, где
, тогда водородный показатель среды будет равен:
.
Величина водородного показателя оснований, а также и других химических веществ в значительной мере зависит от температуры среды.
Глава 3. Основные способы получения оснований.
Основания используют для разнообразных целей ( см. Главу 5. ) в химии и промышленности. Поэтому нужно знать методы их получения. Все методы получения оснований разделены на промышленные и лабораторные, которые отличаются между собой лишь массой полученного продукта. В лабораторных условиях получают небольшие количества веществ, а в промышленных масштабах их получают сотнями тонн. Поэтому эти методы различаются между собой используемыми реагентами и оборудованием, температурами проведения реакций, выходом. Рассмотрим эти способы более детально.
-
Лабораторные способы получения оснований.
В лабораторних условиях основания получают в небольших количествах, не более чем сто – двести грамм. Иногда больше, в зависимости от потребности конкретной лаборатории в веществе. Но эти количества незначительны. В больших количествах основания в химико-технологических лабораториях могут добывать лишь в тех случаях, когда отрабатывают методику получения этого вещества для промышленности.
Рассмотрим основные способы получения гидроокисей в лаборатории.
В лаборатории для получения гидроокисей щелочных металлов применяют два способа. Первый и наиболее дорогой, это прямое взаимодействие щелочных металлов с водой, в результате которого получаются щелочи. Этот метод можно использовать для получения NaOH, KOH, LiOH, Ca(OH)2 .
Эти реакции достаточно опасны из–за использования активных металлов: натрия, калия, лития. Нельзя использовать в этих реакциях большие количества щелочных металлов, они могут вспыхнуть и даже взорваться.
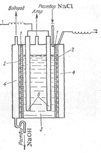
В лабораторных условиях нашли свое применение и упрощенные промышленные способы получения гидроксида натрия. Почему именно гидроксида натрия ? потому что он наиболее широко используется из всех гидроксидов в химии и промышленности. Для его получения используют электролизный метод. Схема проточной электролизной установки наведена на рисунке 2.
1
– делительная воронка с раствором поваренной соли;
2 – аноды из графита;
3 – диафрагма из асбестового картона;
4 – катод в виде цилиндра с дном из железной или стальной сетки;
5 – стеклянный колокол;
6 – сифон для вытеснения раствора из катодного пространства;
7 – стакан для приема щелочи.
Рис. 2.
Концы графитовых анодов, выступающие над раствором, необходимо предварительно пропитать расплавленным парафином, чтобы электролит не поднимался по капиллярам и не разрушал контакт с медью. Контакт медного провода с графитовым анодом осуществляют с помощью медного колпачка, плотно одетого на анод, или тугой намоткой зачищенного медного провода на конец электрода. Катодом служит железная или стальная сетка. Она должна своей верхней частью плотно входить в стеклянный колокол так, чтобы водород не попадал в анодное пространство. Асбест, предварительно смоченный водой, с добавкой очень небольшого количества силикатного клея наносят в виде кашицы на наружную сторону железной сетки (толщина слоя 5 – 10мм). После того как асбест высохнет, его можно слегка прокалить для того, чтобы диафрагма оставалась прочной и в электролите. Необходимая скорость подачи и перетекания электролита достигается с помощью делительной воронки с краном, как показано на рисунке 1.
Хлор и водород можно использовать для получения синтетической соляной кислоты. С этой целью их подают в горелку, представляющую собой стеклянный тройник, заполненный силикагелем.
Вытекающий из электролизера раствор выпаривают в фарфоровой чашке. Время от времени сливая с осадка поваренной соли жидкую часть, к концу выпаривания температуру доводят до 500° С. Затем расплав щелочи охлаждают, дробят и хранят в закрытой стеклянной посуде. Совершенно чистую щелочь получают охлаждением 35-процентного раствора технического едкого натра до 5° С. При этом выпадают кристаллы NaОН × 2Н2О и NaOH × 4Н2О, которые отделяют от раствора и прокаливают.
С помощью этой же установки можно получать и гидроксид калия и гидроксид лития. При получении щелочей на данной установке нужно соблюдать особые меры осторожности, ведь одним из продуктов электролиза будет хлор.
Для получения гидроокиси натрия иногда еще применяют более старый метод - кипячение раствора соды с гашеной известью:
По окончании реакции раствор сливают с осадка карбоната кальция и, выпарив воду, сплавляют полученный гидроксид натрия.
Довольно часто для проведения химических реакций в лабораториях нужно получать нерастворимые в воде гидроксиды, такие как гидроксиды меди, цинка, кобальта, кадмия, никеля. Для их получения применяют реакцию взаимодействия растворимых солей этих металлов с гидроксидом натрия. По характеру взаимодействия эта реакция относится к реакциям обмена.
Гидроксид меди ( синего цвета ) и гидроксид никеля (зелено – синего цвета) выпадут в осадок. После фильтрования раствора и промывания осадка, его можно использовать в химических процессах. Таким образом, получают гидроксиды меди ( ІІ ), цинка, кобальта, кадмия, ртути (ІІ ), олова, свинца, марганца, титана, хрома и многих других металлов.
-
Промышленные способы получения оснований.
Промышленные способы получения любых химических продуктов, а не только оснований, учитывают много различных факторов, среди которых можно выделить доступность реагентов, их токсичность и агрессивность при транспортировке, температуру процесса получения, необходимость применения катализаторов, легкость выделения из смеси. Поэтому для получения оснований реагенты должны быть легкодоступны и дешевы, не токсичны, температура процесса получения должна быть не слишком высокой, чтобы обойтись без использования дорогостоящих термостойких и кислотоупорных резин, футеровок.
В промышленных масштабах получают лишь несколько гидроксидов: NaOH, ROH, LiOH. Из них самый распространенный - NaOH. Рассмотрим методы получения гидроксида натрия NaOH в химической промышленности.
Для получения гидроксида натрия в химической промышленности используют электролиз. Электролитом выступает раствор хлорида натрия ( поваренной соли ). Во время электролиза через раствор электролита пропускают постоянный электрический ток и на электродах при этом проходят процессы окисления и восстановления.
Э
лектролиз раствора хлорида натрия с целью получения гидроксида натрия ведут двумя способами: на железном катоде и на ртутном катоде. Анодом в обоих случаях служит искусственный графит. Установка для промышленного получения гидроксидов натрия и калия приведена на рисунке 3. При электролизе по первому способу на катоде выделяется водород, а в прикатодном пространстве накапливается щелочь. На аноде выделяется хлор и частично кислород. Уравнения электродных реакций:















