151594 (621819), страница 6
Текст из файла (страница 6)
Рис 6 Клапан пневматического действия для автоматического выключения охлаждающей воды
При автоматическом управлении контроль за поступлением охлаждающей воды осуществляют с помощью контактного манометра, установленного на водяной линии после входного вентиля.
Защита компрессора от перегрузки осуществляется температурным реле, включенным в главную силовую линию электродвигателя. Эти приборы включают последовательно в цепь управления электродвигателем; размыкание цепи в любом месте вызывает остановку электродвигателя.
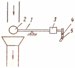
Помимо устройств, обеспечивающих автоматическое выключение подачи охлаждающей воды, во время, перерыва в подаче воздуха, на компрессорных установках осуществляют также автоматизацию контроля за охлаждением компрессоров. Установленные на компрессорных станциях приборы приспособления сигнализируют машинистам компрессорной станции о ненормальностях в работе компрессоров или отключают компрессор в случае повышения температуры воздуха и прекращения подачи воды для охлаждения компрессора. На рис 7 показана схема автоматического устройства, сигнализирующего об уменьшении подачи охлаждающей воды и останавливающее компрессор при нарушении подачи. Устройство просто по конструкции и состоит из рычага I, груза 2 и противовеса 3. Как только уменьшится расход воды на охлаждение компрессора, противовес опустится и замкнет сначала цепь сигнального устройства 4, а при дальнейшем уменьшении расхода воды или прекращении подачи ее замкнет цепь отключающего устройства б, и компрессор остановится.
Рис 7 Схема автоматического устройства, сигнализирующего об уменьшении подачи охлаждающей воды
Для автоматического контроля за подачей охлаждающей воды на подводящем воду трубопроводе устанавливают струйное реле конструкции ВИГМ (Всесоюзного института Гидромашиностроения). Реле рис 8 состоит из цилиндра 1, скалки 2,поршня 3, пружины 4 и реле 5. Принцип действия реле следующий.
Поршень под давлением воды перемещается и пропускает ее в компрессор. Как только прекратится подача воды по трубопроводу, поршень под действием пружины переместится в обратном направлении и через скалку, а также систему рычагов, воздействует на две пары контактов, расположенных в корпусе реле. При этом одна пара контактов замкнется, в результате чего будет действовать сигнализация, а другая пара контактов разомкнётся, и двигатель компрессора вы-ключится. Для полной автоматизации системы охлаждения компрессора кроме струйного реле и реле времени устанавливают термическое реле и вентиль с электроприводом.
Рис 8 Струйное реле конструкции ВИГМ.
-
-
Заключение
В данном курсовом проекте я рассмотрел снабжение сжатым воздухом машиностроительного завода от отдельно стоящей компрессорной станции. Для обеспечения заданных расходов сжатого воздуха(120
), на основе типового проекта, была спланирована компрессорная станция 7(6)К-20А. Территориальная планировка предполагает два магистральных соединения: отпуск сжатого воздуха на левую и правую магистраль компрессорной станции одинаков и равен 60 м3/мин.
Произвёл аэродинамический расчет сетей сжатого воздуха, соединяющих компрессорную станцию с каждым цехом, а именно – были определены потери давления, которые для левого крыла составили от 0,007 МПа, до 0,086 МПа, для правого от 0,013 МПа до 0,101 МПа. Следовательно система воздухоснабжения, отпускающая сжатый воздух с избыточным давлением 0,9 МПа, обеспечит для каждого цеха потребление воздуха с необходимым давлением Р=0,3-0,8 МПа. Также определили диаметры трубопроводов на каждом участке магистрали, которые составляют для левого крыла от 108 до 88 мм, для правого – 108-76 мм. Диаметры ответвлений для левой части магистрали – 14-48 мм и для правой – 22-60 мм. Выбранные по ГОСТ 10704-91 значения диаметров обеспечивают нужные скорости воздуха в системе
На основе расчетов на прочность определена величина минимальной толщины стенок труб, соединяющих компрессорную станцию с каждым цехом в соответствии с ГОСТ 10704-91. Минимальная толщина составила 1 мм. Запас прочности в среднем для трубопроводов составляет порядка 85-90%.
Рассмотренная система воздухоснабжения является эффективной, полной и обеспечивает всех потребителей сжатого воздуха.
-
-
-
Список используемой литературы
1.Системы производства и распределения энергоносителей промышленных предприятий. Системы воздухоснабжения промышленных предприятий. Методическое указание к курсовому проекту. – Брянск : БГТУ, 1994.
2.Блейхер И.Г. Компрессорные станции. / И.Г. Блейхер, В.П. Лисеев. – Машгиз , государственное научно-техническое издание машиностроительной литературы, 1959.- 323с.
3.Тарасов В.М. Эксплуатация компрессорных установок. /В.М. Тарасов.- М.: Машиностроение, 1987.-136с.
4.Назаренко У.П., Межерицкий Н.А. "Эксплуатация и повышение экономичности воздушных компрессорных установок" - М.: "Энергия", 1977. – 152с.
Приложение
| Формат | Зона | Поз. | Обозначение | Наименование | Приме-чание | |||||||||
| Основное оборудование | ||||||||||||||
| 1 | ВПЗ-20/9 УХЛ4 | Компрессор воздушный | ||||||||||||
| поршневой | ||||||||||||||
| Q=0,367 м3/с(22 м3/мин) | ||||||||||||||
| Рабс=0,9 МПа(9 кгс/см2) | 7 | |||||||||||||
| 2 | ХРПУ 4 ТУ26-411-75 | Холодильник промежуточный | 7 | |||||||||||
| 3 | ДСК-12-24-12УХЛ4 | Электродвигатель синхронный | ||||||||||||
| ТУ 16.512.050-75 | N = 132 кВт | |||||||||||||
| V = 380В | ||||||||||||||
| n = 500 об/мин | 7 | |||||||||||||
| 3 | ХРК 9/8 | Холодильник концевой | ||||||||||||
| Рабс=0,88 МПа(9 кгс/см2) | ||||||||||||||
| 4 | Возбудительный агрегат, | |||||||||||||
| в том числе: | ||||||||||||||
| В18-2У3 | а) генератор N = 4.5 кВт | |||||||||||||
| n = 1500 об/мин | 7 | |||||||||||||
| 4А 112М 4УЗ | б) асинхронный двигатель | |||||||||||||
| N = 5.5 кВт | ||||||||||||||
| n = 1500 об/мин | 7 | |||||||||||||
| Р3В-11 БУ3 | в) регулятор возбуждения | 7 | ||||||||||||
| 5 | ХРК-9/8 У4 | Холодильник концевой | ||||||||||||
| Рабс=0,9 МПа(9 кгс/см2) | 7 | |||||||||||||
| 6 | В-3.2 | Воздухосборник | ||||||||||||
| ГОСТ 9028-76 | V =3.2 м3 | |||||||||||||
| Рабс=0,88 МПа(9 кгс/см2) | 7 | |||||||||||||
| 7 | Щит управления | 7 | ||||||||||||
| 8 | ПУ7501-73Б3А | Панель управления | 7 | |||||||||||
| 9 | 1ШР-2ШР | Шкаф распределительный | 2 | |||||||||||
| 10 | Центральный щит | |||||||||||||
| компрессорной | ||||||||||||||
| 11 | ГОСТ 7413-80 | Кран подвесной ручной | ||||||||||||
| однобалочный Q = 20кН; | ||||||||||||||
| Lк=4.5м l=0,6м | ||||||||||||||
| полна длина крана L=5.7м; | 1 | |||||||||||||
| 12 | ОВПУ-250 | Огнетушитель воздушно-пенный | ||||||||||||
| ТУ22-2336-71 | Р=0,98 МПа | |||||||||||||
| Q = 0.25м3 (250 л) | 1 | |||||||||||||
| Нестандартное оборудование | ||||||||||||||
| 13 | ГФ.00.00.00.000 | Фильтр воздушный | ||||||||||||
| с глушителем | 7 | |||||||||||||
| 14 | ГШС 60.00.000 | Глушитель шума стравливания | 1 | |||||||||||
| производительностью 60м3/мин | 1 | |||||||||||||
| 15 | УО.00.000. Э4 | Установка для очистки трасс | ||||||||||||
| сжатого воздуха | 2 | |||||||||||||
| 16 | БП.00.000. Э4 | Бак продувочный | 1 | |||||||||||
| 17 | ВП.00.000. Э4 | Ванна для промывки ячеек | ||||||||||||
| фильтров | 2 | |||||||||||||
| 18 | ВЗ.00.000. Э4 | Ванна для зарядки ячеек фильтров | ||||||||||||
| V =0.22 м3 | 1 | |||||||||||||
| 19 | СО.00.000. Э4 | Стол для отстоя ячеек фильтров | 2 | |||||||||||
| 20 | БР.00.000. Э4 | Бак расходный для масла V=50л | 2 | |||||||||||
| Прочее оборудование | ||||||||||||||
| 21 | МС.00.000 | Маслосборник | 1 | |||||||||||
| 22 | ОМ.00.000 | Опора под маслобаки | 1 | |||||||||||
| 23 | Стеллаж для запчастей | 1 | ||||||||||||
| 24 | Верстак с тисками | 1 | ||||||||||||














