150443 (621267)
Текст из файла
Содержание
-
Классификация гидротурбин
-
Использование различных типов гидротурбин в соответствии с напорами
-
Применение гидротурбин в соответствии с напорами
-
Новые типы гидротурбин и обратимые гидроагрегаты
-
Заключение
Список используемой литературы
-
Классификация гидротурбин
Гидравлической турбиной называется двигатель, преобразующий энергию движущейся воды в механическую энергию вращения его рабочего колеса. Из основного закона механики жидкости — закона Бернулли следует, что удельная энергия, т. е. энергия единицы массы, Н на входе в рабочее колесо составляет
, (1)
на выходе из рабочего колеса
, (2)
В зависимости от того, какие из трех членов уравнения Бернулли главным образом использованы в конструкции машины, различаются типы турбин.
Отданная водой рабочему колесу энергия равна разности энергий в потоке до и после рабочего колеса
. (3)
Таким образом, вся энергия потока состоит из энергии положения z1-z2, энергии давления (образующих вместе потенциальную энергию), а также кинетической энергии
.
Турбины, хотя бы частично использующие потенциальную энергию, называются реактивными. В таких турбинах
(4)
и, следовательно, процесс преобразования энергии на рабочем колесе происходит с избытком давления. Кроме того, в рабочем колесе частично используется и кинетическая энергия потока.
Если в гидротурбинах используется только кинетическая энергия потока, то они называются активными.
В таких турбинах z1=z2, p1=p2, т. е. вода поступает на рабочее колесо без избыточного давления. Для достижения высокого КПД в них почти весь напор преобразуется в скорость.
Мощность турбины может быть выражена
NT=9,81QTHTηT (5)
В практике принято гидротурбины подразделять на классы, системы, типы и серии. Существует два класса гидротурбин: активные и реактивные.
Класс реактивных турбин объединяет следующие системы: осевые-пропеллерные и поворотно-лопастные, диагональные, поворотно-лопастные и радиально-осевые турбины.
В класс активных турбин входят системы ковшовых, наклонно-струйных турбин и турбин двойного действия. Последние две системы не имеют столь широкого распространения, как ковшовые.
Каждая система турбин содержит несколько типов, имеющих геометрически подобные части и одинаковую быстроходность, но различающихся по размерам. Геометрически подобные турбины различных размеров образуют серию.
Кроме того, все турбины условно делятся на низко-, средне- и высоконапорные. Низконапорными принято считать турбины, работающие при Н<25 м, средненапорными при 25<=Н80 м.
Турбины подразделяются на малые, средние и крупные.
К малым турбинам относятся те, у которых диаметр рабочего колеса D1<=1,2 м при низких напорах и D1<=0,5 м при высоких, а мощность составляет не более 1000 кВт.
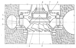
К средним — те турбины, у которых 1,2<=D1<=2,5 м при низких напорах и 0,5<=D1<=1,6 м при высоких, а мощность 1000 К крупным турбинам относятся те, которые имеют D1 и N1 больше, чем у средних. Подчеркнем, однако, условность и историчность такого деления гидротурбин. Использование различных типов гидротурбин в соответствии с напорами. Современное гидротурбостроение развивается с учетом следующих основных тенденций: повышения экономичности и надежности в эксплуатации; дальнейшего увеличения быстроходности гидротурбин с целью обеспечения требуемой расчетной мощности при меньших габаритах и весах гидроагрегатов, что обеспечивает снижение стоимости энергетического оборудования и здания ГЭС; улучшения энергетических характеристик гидротурбин и повышения среднезксплуатационного КПД агрегатов при работе на нерасчетных нагрузках и напоре; улучшения кавитационных характеристик с целью уменьшения разрушений проточной части и снижения отметки установки турбины по отношению к нижнему бьефу, что приводит к существенному уменьшению стоимости строительных работ по зданию ГЭС; уменьшения пульсаций давления в проточной части (особенна за рабочим колесом радиально-осевой гидротурбины) и сопутствующих им вибраций агрегата; дальнейшего роста единичных мощностей гидроагрегатов; применение на ГЭС мощных гидроагрегатов позволяет уменьшить их число, повысить КПД и снизить стоимость энергетического оборудования и здания. Разработку высокоэффективного энергетического оборудования ведут в двух направлениях: Дальнейшее совершенствование проточной части, технико-экономических характеристик и увеличение быстроходности обычных типов гидротурбин — вертикальных осевых поворотнолопастных, радиально-осевых и ковшовых турбин. Разработка новых схем проточной части и конструкций гидротурбин с улучшенными энергетическими и кавитационными характеристиками. В последние годы достигнуты большие успехи в расширении диапазона применения обычных реактивных гидротурбин по напорам. В настоящее время вертикальные осевые поворотнолопастные гидротурбины применяют на напоры 10 ÷ 80 м. Следует заметить, что целесообразность применения вертикальных осевых турбин на низкие (Н < 10 м) или высокие напоры (Н > 60 м) не является бесспорной. Так, применение вертикальных осевых гидротурбин на низкие напоры Н = 3 м – 10м связано с чрезмерным увеличением размеров и веса агрегата, удорожанием здания ГЭС. Поэтому для диапазона напоров Н = 3 ÷ 15 м в последние годы разработаны более быстроходные и экономичные горизонтальные капсульные агрегаты. Применение вертикальных осевых поворотнолопастных гидротурбин на относительно высокие напоры (Н = 50 ÷ 80 м) объясняется стремлением повысить среднеэксплуатационный КПД агрегатов в том случае, если на станции имеют место большие колебания нагрузки и напора. У радиально-осевых гидротурбин в таких условиях падает среднеэксплуатационный КПД и уменьшается выработка энергии. С другой стороны, высоконапорные вертикальные осевые гидротурбины имеют худшие кавитационные качества, что ограничивает их применение на высокие напоры. Экономически целесообразно устанавливать их на ГЭС только при заглублении под уровень нижнего бьефа, не превышающем 6 м - 8 м. В связи с этим возникла потребность в новом типе гидротурбины, которая объединяла бы в себе преимущества осевой поворотнолопастной (малое изменение КПД при значительных колебаниях напора и нагрузки) и радиально-осевой гидротурбины (хорошие кавитационные качества, небольшое заглубление турбины). Такие гидротурбины, называемые диагональными поворотнолопастными, были созданы и получают в настоящее время все большее применение в практике гидроэнергостроительства при напорах Н = 50 ÷ 200 м. Радиально-осевые гидротурбины в настоящее время используют при напорах от 30 до 700 м. Причем продвижение радиально-осевых гидротурбин в зону высоких напоров (Н = 300 ÷ 700 м), более быстроходных по сравнению с ковшовыми, стало возможным благодаря улучшению их кавитационных характеристик, что позволило вытеснить из зоны напоров Н = 300 ÷ 650 м менее экономичные ковшовые гидротурбины. Ковшовые гидротурбины в настоящее время применяют главным образом при напорах свыше 500 м (Н = 500 ÷ 2000 м). Их конструкции также претерпели существенные изменения. Современные мощные ковшовые гидротурбины выполняются вертикальными многосопловыми; они имеют более высокие значения КПД (т) = 91 ч- 92%) по сравнению с ранее применявшимися горизонтальными турбинами. Если на заданные диапазон напоров и условия работы ГЭС возможно применение нескольких различных типов гидротурбин или рабочих колес, то необходимо провести технико-экономический анализ различного энергетического оборудования и выбрать оптимальный вариант. Общая классификация гидротурбин различных типов по напорам представлена в таблице. 3. Применение гидротурбин в соответствия с напорами Типы гидротурбин Диапазон напоров Н, м Единичная максимальная мощность N, Мет Диаметр турбины максимальный di, М Реактивные гидротурбины Осевые капсульные, трубчатые и другие гидроагрегаты 2—20 До 50 8 Вертикальные поворотно-лопастные турбины 6-80 250 10,5 Пропеллерные 6—80 150 9 Двухперовые 30—100 .250 8 Диагональные 30—200 300 8 Радиально осевые 30—700 800 10 Обратимые Осевые 2-15 30 8 Диагональные 20—100 300 7,5 Радиально-осевые одноступенчатые 30—600 450 9,5 Активные гидротурбины Ковшовые 300—2000 350 7,5 Наклонно- струйные 50—400 50 4 Двукратные 10—100 «Сфиндекс» 200-1500 4. Новые типы гидротурбин и обратимые гидроагрегаты Рассмотрим основные типы гидротурбин, созданных или разрабатываемых в настоящее время: Осевые горизонтальные поворотнолопастные гидротурбины (на напоры Н = 3 ÷20 м). Вертикальные гидроагрегаты низконапорных ГЭС (Н < 10 м) имеют большие размеры и веса и дорогую подводную часть здания. Горизонтальные осевые гидротурбины различных конструкций и компоновок (рис. 1, 2) экономичнее вертикальных осевых гидротурбин. Преимуществом этих гидротурбин является также наличие прямоосной отсасывающей трубы, вследствие чего поток при его движении через проточную часть турбины мало искривляется. Вследствие чего вне этого уменьшаются потери энергии, увеличивается пропускная способность. Рис. 1. Схемы проточных частей горизонтальных осевых гидротурбин: а — шахтная; б — трубчатая. Рис. 2. Капсульный гидроагрегат ПЛ15/984-Г-600 Киевской I 1 - капсула; 2 - статор; 3 - направляющий аппарат; 4 - рабочее колесо; 5 – отсасывающая труба. Наиболее широкое применение среди горизонтальных поворотно-лопастных гидротурбин получили капсульные (рис. 2). Генератор капсульного агрегата расположен в капсуле. Габариты блока по высоте и в плане значительно меньше по сравнению с вертикальной осевой гидротурбиной такой же мощности, что приводит к снижению стоимости здания на 25—40%. При тех же напорах и диаметрах рабочих колес мощность капсульных гидротурбин на 10— 25% больше, чем осевых вертикальных их КПД в оптимуме выше на 2—3%, а при режиме номинальной мощности разница в КПД еще больше. Работа вертикальной осевой гидротурбины при форсированных расходах сопровождается вибрацией и большими потерями энергии, особенно в отсасывающей трубе, в то время как в капсульных гидроагрегатах при больших расходах эти явления проявляются значительно меньше. На низкие напоры (Н = 3 ÷ 15 м) применяются в основном капсульные гидроагрегаты, как более совершенные. Осевые двух-перовые вертикальные поворотно-лопастные гидротурбины (для средних и высоких напоров, Н = 40 м - 80 м). Для уменьшения высоты отсасывания и заглубления турбины необходимо улучшить ее кавитационные характеристики. Этого можно достичь, в частности, путем увеличения числа лопастей рабочего колеса. Однако при увеличении числа лопастей возрастают диаметр втулки рабочего колеса и скорости потока в рабочем колесе, что может привести не к улучшению, а к ухудшению кавитационных качеств осевой гидротурбины. Чтобы избежать чрезмерного увеличения втулки при числе лопастей г = 8, была разработана двух-перовая гидротурбина, у которой на каждом фланце лопасти размещены два пера (рис. 3). Модельные и натурные испытания двух-перовой гидротурбины подтвердили ее преимущества по сравнению с обычной осевой гидротурбиной при тех же напорах (Н = 40 ÷ 60 м). На большинстве режимов работы двух-перовая гидротурбина имеет хорошие кавитационные характеристики и малую нестационарность потока в проточной части. Рис. 3. Рабочее колесо двухперовой гидротурбины: 1 — фланец; 2 — перо. Контрроторные гидротурбины. Контрроторная гидротурбина имеет два последовательно расположенных рабочих колеса противоположного вращения (рис. 4). Вначале поток поступает на первое осевое рабочее колесо (ротор), а затем на второе рабочее колесо (контрротор). Таким образом, напор на гидротурбине можно распределить между двумя рабочими колесами, что позволит применить контрроторную гидротурбину на более высокие напоры (Н = 80 ÷ 100 м). Конструкция контрроторного гидроагрегата предусматривает установку ротора гидротурбины с ротором генератора на одном валу, а контрротора гидротурбины со «статором» генератора — на другом. Поскольку ротор и «статор» генератора вращаются в противоположных направлениях, оборотность генератора существенно увеличивается, что приводит к уменьшению его веса и размеров. Однако проблема съема мощности с вращающегося «статора» генератора, значительное усложнение конструкции агрегата и его регулирования не позволяют пока применять на ГЭС контрроторные гидротурбины. Рис. 4. Схема контрроторной гидротурбины: 1 — спиральная камера; 2 — статор; 3 — промежуточная опора; 4 — ротор; 5 — контрротор; 6 — отсасывающая труба; 7 — вал ротора; 8 — вал контрротора. Диагональные поворотно-лопастные вертикальные гидротурбины. Эти гидроагрегаты находят в настоящее время все большее применение при напорах Н = 50 ÷ 200 м. Известно, что поворотно-лопастная гидротурбина имеет высокий КПД на различных режимах ее работы. У диагональной гидротурбины камера и втулка рабочего колеса имеют сферическую форму, что позволяет поворачивать лопасти на нужный угол. Первые диагональные турбины имели конический направляющий аппарат и развернутую спиральную камеру, что приводило к усложнению конструкции блока. Более поздние гидравлические исследования показали, что переход к радиальному направляющему аппарату не приводит к ухудшению характеристик турбины и упрощает ее компоновку. В Советском Союзе опытная диагональная поворотно-лопастная турбина успешно эксплуатируется на Бухтарминской ГЭС; еще более мощные диагональные турбины устанавливаются на Зейской ГЭС. Радиально-осевые гидротурбины специальной конструкции. С целью дальнейшего увеличения быстроходности, уменьшения нестационарности потока в проточной части и вибраций гидроагрегата, а также для обеспечения плавного изменения КПД при изменении напора и нагрузки разработаны новые конструктивные схемы рабочего колеса и направляющего аппарата радиально-осевых гидротурбин и проведены гидравлические испытания их моделей (рис. 5). Быстроходные радиально-осевые гидротурбины (Н = 35 ÷ 170 м). Радиально-осевая гидротурбина с изменяющейся высотой направляющего аппарата и рабочего колеса и поворотными лопатками направляющего аппарата (рис. 5, а). Гидротурбина такой конструкции обеспечивает двойное регулирование расхода при неизменном положении лопастей рабочего колеса. Изменение высоты направляющего аппарата и рабочего колеса происходит при помощи подвижных верхнего кольца направляющего аппарата и втулки рабочего колеса, что возможно при наличии цилиндрического участка лопасти, примыкающего к верхнему ободу (втулка рабочего колеса опускается или поднимается одновременно верхним кольцом направляющего аппарата). Рис. 5. Новые схемы радиально-осевых гидротурбин: а — с изменяемой высотой и регулируемым направляющим аппаратом; б — с промежуточным кольцевым крылом в рабочем колесе; в — высоконапорная радиальная поворотно-лопастная; г — с поворотными входными элементами лопастей рабочего колеса. Проведенные в СССР опытные исследования модели этой гидротурбины (рабочее колесо Р0170 на напор Тмах = 170 м) показали, что при ее работе на различных нагрузках обеспечивается более высокий КПД и его плавное изменение по сравнению с обычной радиально-осевой гидротурбиной. Однако конструкция такой гидротурбины значительно сложнее. Радиально-осевая гидротурбина, рабочее колесо которой имеет промежуточное кольцевое крыло (двухъярусное рабочее колесо, разработанное ЛПИ им. М. И. Калинина). Особенностью данной конструкции является наличие кольцевого крыла, разделяющего полость рабочего колеса на две части, и отсутствие наружного обода (рис. 5, б). Кольцевое крыло предназначено для уменьшения неравномерности и скоростей пульсаций давления в потоке, что повышает КПД гидротурбины на нерасчетных режимах. Это особенно важно для рабочих колес высокой пропускной способности, у которых пульсации давления в потоке представляют большую опасность для механической прочности всего агрегата и, прежде всего сварного рабочего колеса. Результаты энергетических испытаний моделей двухъярусных рабочих колес, предназначенных на напоры Н = 75 ÷ 115 м, которые были проведены на кафедре гидромашин ЛПИ им. М. И. Калинина, показали, что КПД их на оптимальном режиме примерно такой же, как и обычных рабочих колес, а степень нестационарности потока меньше. Рис. 6. Принципиальная схема обратимой гидромашины: а — разрез по обратимому гидроагрегату; б — общий вид рабочего колеса; 1 — затвор; 2 — генератор-двигатель; 3 — обратимая гидромашина. Тихоходные радиально-осевые гидротурбины на высокие напоры (H = 400 м - 700 м). Гидротурбина, рабочее колесо которой имеет поворотные лопасти, предложена профессором B.C. Квятковским. Полость рабочего колеса этой гидротурбины имеет такую форму, при которой лопасти заключены между параллельными ободьями, что дает возможность осуществить одновременный поворот лопастей рабочего колеса и лопаток направляющего аппарата (рис. 5, б). Как показали модельные исследования, двойное регулирование расхода через гидротурбину значительно улучшает ее КПД на нерасчетных режимах. Однако на оптимальном режиме работы КПД и кавитационные качества такой турбины ниже, чем у жестколопастной с обычной формой полости. Гидротурбина с поворотными входными элементами лопастей рабочего колеса. В этом случае лопасти выполняются разрезными. Поворот входной части лопасти, расположенной между параллельными участками верхнего и нижнего ободьев рабочего колеса (рис. 5, г), обеспечивает более высокий КПД при изменении расхода через гидротурбину, поскольку потери на входе в рабочее колесо уменьшаются. Обратимые гидромашины (турбины-насосы). Для обеспечения максимального КПД энергетического оборудования в насосном и турбинном режимах на ГАЭС устанавливают отдельно гидротурбины и насосы, которые рассчитывают на заданные условия независимо друг от друга. Однако трех-машинный агрегат (гидротурбина—генератор — двигатель—насос), являясь оптимальным с гидравлической точки зрения,— громоздкий и дорогой. При применении обратимой гидравлической машины, соединенной с двигателем-генератором, стоимость энергетического оборудования и здания ГАЗС существенно уменьшается. Рис. 7. Сравнение рабочих колес радиально-осевой турбины и обратимой насосной турбины (данные фирмы Эшер — Висе): а — план рабочих колес; 1 — турбинное рабочее колесо; 2 — насосное рабочее колесо; б — меридиональная проекция рабочих колес. Обратимая гидромашина может работать и как насос, и как турбина; для этого надо изменить направление вращения ротора агрегата (рис. 6). Таким образом, один агрегат (гидро-машина — электрическая машина) может аккумулировать гидравлическую энергию, работая в насосном режиме, или вырабатывать электрическую в турбинном режиме. Получение высокого КПД в насосном и турбинном режимах при общей проточной части и одинаковой частоте вращения электрической машины — задача довольно сложная. Конструктивно обратимая гидромашина подобна обычной гидротурбине. При проектировании обратимых гидро-машин основное внимание уделяется созданию эффективной проточной части агрегата, прежде всего в насосном режиме работы. Рабочее колесо обратимого агрегата в основном рассчитывается как насосное колесо. Известно, что поток в рабочем колесе насоса замедленный (диффузорная решетка), а в турбинном ускоренный (конфузорная решетка) (рис. 7, а, б). Замедление потока в обычном турбинном колесе, имеющем короткие лопастные каналы, при его работе в насосном режиме было бы чрезмерным и привело бы к отрывным явлениям, падению КПД и ухудшению кавитационных характеристик гидроагрегата. Поэтому насосное рабочее колесо лучше приспособлено к работе в турбинном режиме, чем турбинное в насосном. Напор, развиваемый в насосном режиме работы, как правило, должен быть больше, чем в турбинном режиме. Вследствие этого при выбранном диаметре рабочего колеса частота вращения агрегата в насосном режиме должна быть больше (примерно на 10 ÷ 15%) по сравнению с турбинным режимом. Если величина КПД в турбинном режиме имеет первостепенное значение, возможно изготовление обратимого агрегата с двухскоростной обратимой электрической машиной. Однако в современных конструкциях обратимых гидро-машин удается обеспечить приемлемые значения КПД в насосном и турбинном режимах при одинаковой частоте вращения. Поэтому двухскоростные обратимые агрегаты, как более дорогие, применяются редко. Эффективность работы ГАЭС возрастает по мере увеличения их напора, поэтому средне- и высоконапорные радиально-осевые одноступенчатые обратимые агрегаты (Н = 100 ÷ 600 м) находят широкое применение. В отдельных случаях целесообразно применение диагональных и осевых обратимых гидромашин, а также многоступенчатых обратимых гидроагрегатов. Капсульные гидроагрегаты приливных электростанций выполняют обратимыми для обеспечения подачи воды в бассейн в часы провала графика нагрузки системы (насосный режим) и последующего использования аккумулированной энергии в часы покрытия пиков графика нагрузки (турбинный режим). Обратимый агрегат ПЭС может работать в турбинном и насосном режимах при любом направлении вращения рабочего колеса, а также в качестве водопропуска. Этого удалось достичь благодаря применению лопастей специальной S-образной формы и механизма поворота, осуществляющего поворот лопастей на большие углы по сравнению с обычными осевыми рабочими колесами поворотно-лопастных гидротурбин. Прямоточная схема капсульного агрегата целесообразна при перемене направления движения потока, связанного с переходом из турбинного режима в насосный (или наоборот). Принципиальная конструкция агрегата аналогична показанной на рис. 2. Капсульные обратимые агрегаты в настоящее время применяютна напоры Н = 2 ч- 15 м. Диагональные поворотно-лопастные обратимые гидроагрегаты используют для установки на ГАЭС при более высоких напорах Н = 25 ÷ 100 м. Поворот лопастей рабочего колеса улучшает рабочие характеристики обратимого гидроагрегата, особенно при работе в насосном режиме. Во-первых, при работе на нерасчетных режимах существенно увеличивается КПД насоса с поворотными лопастями по сравнению с жестколопастными рабочими колесами. Во-вторых, при развороте лопастей рабочего колеса на больший угол увеличиваются диаметры расположения входных и выходных кромок рабочего колеса, что обеспечивает рост расхода и увеличение напора. Это обстоятельство очень важно для работы агрегатов в насосном режиме на станциях, где наблюдается большое колебание уровня воды в верхнем бассейне. На рис. 8 показан вертикальный разрез по обратимому диагональному агрегату одной из действующих ГАЭС. Рис. 8. Диагональная обратимая гидротурбина для ГАЭС: 1 — спиральная камера; 2 — статор; 3 — направляющий аппарат; 4 — рабочее колесо; 5 — отсасывающая труба; 6 — крышка турбины; 7 — подшипник турбины; 8 — вал турбины. Применение обратимых диагональных гидроагрегатов на напоры Н > 100 м ограничено кавитационными и прочностными характеристиками агрегата. Радиально-осевые обратимые гидроагрегаты специальных конструкций. С целью дальнейшего улучшения технико-экономических показателей обратимых радиально-осевых гидро-машин и расширения зоны их применения по напорам был разработан ряд новых конструкций. Чтобы избежать падения КПД гидроагрегата, особенно при работе в турбинном режиме, швейцарскими инженерами разработана оригинальная конструкция обратимой гидромашины с постоянным направлением вращения ротора (рис. 9), получившей название «Изод-жир». Агрегат имеет два рабочие колеса — насосное и турбинное, установленные на общем валу. На входе в рабочее колесо гидротурбины и выходе из насоса имеются независимые цилиндрические затворы. Если, например, агрегат работает в турбинном режиме, то затвор после рабочего колеса насоса закрыт и вода отжата из полости насоса. Для перехода в насосный режим при сохранении направления вращения ротора закрывают затвор перед турбиной, отжимают воду из ее рабочего колеса и открывают затвор после рабочего колеса насоса. Рис. 9. Обратимая гидромашина «Изоджир»: 1 — турбинное рабочее колесо; 2 — спиральная камера; 3 — насосное рабочее колесо; 4 — вал гидроагрегата; 5 —- всасывающий патрубок; 6 — цилиндрический затвор; 7 — отсасывающая труба. Таким образом, переход из одного режима работы в другой существенно упрощается и требует меньшего времени. Экспериментальный агрегат «Изоджир» установлен на ГЭС «Роби» (Швейцария). Другим подходом к решению вопроса об улучшении КПД и характеристик обратимой гидромашины при работе в турбинном и насосном режимах является конструкция агрегата «Хайвар», разработанная английской фирмой «Инглиш Электрик» (рис. 10). Отличительной особенностью рабочего колеса такого агрегата являются поворотные элементы разрезных лопастей. Регулирование положения выходных частей лопастей в зависимости от открытия направляющего аппарата позволяет существенно улучшить характеристики агрегата при переменных напоре и нагрузке. С другой стороны, при работе в насосном режиме поворотные элементы лопастей позволяют обеспечить не только высокий КПД, но и требуемую величину напора, так как при повороте выходной части лопасти изменяется диаметр рабочего колеса. Рис. 10. Рабочее колесо обратимой радиально-осевой гидромашнны «Хайвар» с поворотными элементами лопастей: а — общий вид рабочего колеса; б — схема лопастного канала рабочего колеса: / — поворотная часть лопасти; 2 — поворотное кольцо; 3 — цапфа; 4 — фиксирующий штифт. Заключение Современной тенденцией в развитии обратимых гидромашин является дальнейшее их продвижение в зону более высоких напоров Н = 500 ÷ 1000 м. Работы ведутся в двух направлениях: разработка двухступенчатых или многоступенчатых радиально-осевых обратимых гидромашин; последовательное соединение двух обычных обратимых радиально-осевых машин (сдвоенные обратимые агрегаты). Список литературы: А.М. Антонова, Б.Ф. Калугин, М.А. Вагнер. Общая Энергетика. Томск 2003 г. 387 с. В.В. Парлит. Гидравлические турбины. М. 1987 г. 328 с. www.uhm.chat.ru www.biblus.ru 18
Характеристики
Тип файла документ
Документы такого типа открываются такими программами, как Microsoft Office Word на компьютерах Windows, Apple Pages на компьютерах Mac, Open Office - бесплатная альтернатива на различных платформах, в том числе Linux. Наиболее простым и современным решением будут Google документы, так как открываются онлайн без скачивания прямо в браузере на любой платформе. Существуют российские качественные аналоги, например от Яндекса.
Будьте внимательны на мобильных устройствах, так как там используются упрощённый функционал даже в официальном приложении от Microsoft, поэтому для просмотра скачивайте PDF-версию. А если нужно редактировать файл, то используйте оригинальный файл.
Файлы такого типа обычно разбиты на страницы, а текст может быть форматированным (жирный, курсив, выбор шрифта, таблицы и т.п.), а также в него можно добавлять изображения. Формат идеально подходит для рефератов, докладов и РПЗ курсовых проектов, которые необходимо распечатать. Кстати перед печатью также сохраняйте файл в PDF, так как принтер может начудить со шрифтами.













