144987 (620854), страница 8
Текст из файла (страница 8)
4. Проектирование водоспуска
Водоспуски используют для постоянных полезных попусков из водохранилища в нижний бьеф, диктуемых водохозяйственными и санитарными требованиями; для полного или частичного опорожнения водохранилища в заданный срок в целях ремонта сооружений, расположенных в верхнем бьефе; для частичного промыва наносов, отложившихся перед сооружением. Входное отверстие водоспуска располагают на отметках, обеспечивающих возможность сработки водохранилища до заданного уровня, т.е. на дне русловой части.
,
гдеQ – расход полезных попусков, Q- 0,5 м3/с;
– коэффициент расхода водоспуска,
щ – площадь поперечного сечения трубы;
z – напор,
.
Из этого уравнения определяем площадь поперечного сечения и диаметр трубы:
,
> 800 мм
Прокладываем две нитки труб. При этом в затворной камере в нижнем бьефе обе нитки могут объединяться для возможности, при необходимости, их совместного использования.
5. Расчёт пропуска строительных расходов
Схема пропуска строительных расходов зависит от компоновки гидроузла, типа плотины, гидрологических характеристик водотока, топографии, геологии и других особенностей створа. В практике гидротехнического строительства существуют две основные схемы пропуска расходов в строительных период: по бытовому руслу реки без отвода её в сторону; с отводом реки в обход строящимся сооружениям, по каналам, лоткам, трубам, туннелям. Первая более характерна для широких створов и бетонных плотин. Вторая – предполагает более широкий фронт работ по возведению основных сооружений, но требует дополнительных затрат на устройство строительных водопроводящих сооружений. Выбор схемы пропуска строительного расхода осуществляют обычно на основе технико-экономического сравнения различных вариантов используемых сооружений.
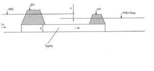
Рис. 13. Схема.
1 – контур проектируемой плотины;
2 – труба, уложенная в траншею, на отметке дна реки;
- дорога, для проезда,
.
.
Порядок строительства:
-
на берегу, на расстоянии l, отрывается траншея, в которую, насухо, укладывается труба (галерея);
-
отрывается подводящий и отводящий каналы: при этом
поступает как в русло реки, так и по искусственному, трубчатому руслу; -
русло перекрывается верхней перемычкой (при минимальном
); -
возводится низовая перемычка;
-
пространство между перемычками – котлован, осушается, при помощи насосов;
-
срезается растительный грунт;
-
начинается строительство плотины.
,
где
– инженерный запас,
=0,8-1,0 м.
Чтобы принять
, надо знать срок строительства плотины. Если срок строительства больше 1 года, то
, если меньше года, то
. В моем курсовом проекте ориентируемся на срок строительства меньше 1 года, значит
, глубина в реке при этом расходе
. Строительство начинается сразу после весеннего паводка.
Тогда, отметка низовой перемычки получается
= 0,7+1,0=1,7 м.
Срок строительства по формуле
,
где V- объем самого крупного объекта строительства, в моем случае это плотина; П – производительность строительной организации. П=200 м3/сут.
Объём плотины
,
где
- площадь поперечного сечения плотины в русловой части, приблизительно определяемая по зависимости:
и
- осредненные значения коэффициентов заложений верхового и низового откосов плотины;
- ширина руслового участка реки,
;
и
- длины, соответственно левобережного и правобережного примыкания плотины,
и
.
Срок строительства равен:
< 365 суток, значит
.
Найдём перепад уровней верхнего и нижнего бьефов, определяемый из формулы:
Список используемой литературы:
1. Учебное пособие «Проектирование сооружений гидроузла с грунтовой плотиной». В.И. Волков, А.Г. Журавлёва, О.Н. Черных. Москва, 2007г.
2. Учебник «Природоохранные сооружения», М.А.Попов, И.С.Румянцев. Москва: Колосс, 2005.
3. «Курсовое и дипломное проектирование по гидротехническим сооружениям». В.С. Лапшенков. Москва: «Агропромиздат», 1989.
















