144949 (620822)
Текст из файла
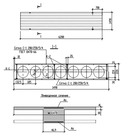
Расчет и конструирование многопустотной панели покрытия ПК63.15-6Ат800
-
Исходные данные
Для изготовления панели принимаем:
Бетон кл. С12/15 (кл.В15); fск=7,7Мпа; fсtк=0,67Мпа;
. Продольную арматуру – из стали класса S400; Rs=365Мпа; и поперечную арматуру из S240; Rs=225Мпа; армирование – сварными сетками в верхней и нижней полках из проволоки класса Вр-I Rs=365Мпа.
2. Нагрузки , Н/м2.
| № п/п | Вид и расчет нагрузки | Постоянная | Коэф. перегрузки | Расчетная |
| 1 | Постоянная | |||
| 2 слоя изопласта | 100 | 1,1 | 110 | |
| Цем.-песчаная стяжка толщ.20мм 0,02х18000= | 360 | 1,3 | 468 | |
| Утеплитель плиты пенополистирольные Y=35кг/м3 толщ. 300мм 350х0,3= | 105 | 1,1 | 116 | |
| Ж..-бет. пустотная плита т.220мм Вес плиты/площадь =41900/1,49х8,98= | 3130 | 1,1 | 3440 | |
| Итого | 3695 | 4140 | ||
| 2 | Временная снег | 800 | 1,5 | 1200 |
| Всего | 4495 | 5340 |
Полная нагрузка при расчете панелей qн=4495 qр=5340
Определение нагрузок и усилий
1п.м. панели шириной 150см нагрузка равна, Н/м:
qн=4495х1,5=6740Н/м; qр=5340х1,5=8010Н/м.
l0=6280-24/2=6160мм;
Расчетный изгибающий момент от полной нагрузки:
Максимальная поперечная сила на опоре от расчетной нагрузки:
Q=
Расчетная схема
-
Расчетные данные для подбора сечений.
Панель рассчитываем, как балку прямоугольного сечения с заданными размерами bхh=15х22см, где b – номинальная ширина и h- высота панели. В расчете поперечное сечение пустотной панели приводим к эквивалентному двутавровому сечению. Заменяем площадь пустот прямоугольниками той же площади и того же момента инерции. Вычисляем:
h1=0.9d=0.9х15,9=14,3см;
hn=
Приведенная толщина ребер b=147-7
14.3=46.9см
Расчетная ширина сжатой полки
4. Расчет по прочности нормальных сечений.
Предварительно проверяем высоту сечения панели перекрытия из условия обеспечения прочности при соблюдении необходимой жесткости:
h=
где qн=qн+рн=3695+800=4495Н/м2
Принятая высота сечения h=22см достаточна.
Отношение h
=3.8/22=0.173
в расчет вводим всю ширину полки
Вычисляем по формуле:
А0=
где h0=h-a=22-3=19cм
по табл. 2.11 находим
=0,1;
Высота сжатой зоны
нейтральная ось проходит в пределах сжатой зоны полки.
Площадь продольной арматуры.
Аs=
Принимаем 6 10S400 с Аs=4,71см,
а также учитываем сетку 200/250/5/4 ГОСТ 8478-66) Аs.прод.=7
0,116=1,37см2, всего Аs=1.37+4,71=6,08см2, стержни 12мм распределяем по 2 в крайних ребрах и по1 в 2х средних ребрах.
5. Расчет по прочности наклонных сечений.
Проверяем условие:
Q≤0.35xfскxγbxbxh0
Q=24600Н<0.35х13.5(100)х0.85х46.9х19=358000Н,
условие удовлетворяется, размеры сечения достаточны.
Проверяем условие необходимости постановки поперечной арматуры для многопустотных панелей по формуле:
Q
Q=24600H
fсtк
y
=0.6
0.67(100)
0.9
46.9
19=32240H,
следовательно количество поперечной арматуры по расчету не требуется.
Поперечную арматуру предусматриваем по конструктивным условиям, располагая ее с шагом не более:
назначаем поперечные стержни диаметром 6мм, класса S240 через 10см у опор на участках длиной ¼ пролета. В конце этих участков, т.е. на расстоянии 5,98/4=1,5м от опоры. В средней части панели для связи продольной арматуры ставим поперечные стержни через 0,5м.
Проверяем прочность наклонного сечения у опоры:
усилие на единицу длины панели, воспринимаемое поперечными стержнями:
где As=
0.283
3=0.849см2 (для 6S240 в трех каркасах).
Поперечная сила, воспринимаемая бетоном и поперечными стержнями:
значит прочность наклонного сечения обеспечена.
6. Определение прогибов.
Момент в середине пролета равен: от полной нормативной нагрузки:
от постоянной нагрузки
от кратковременной нагрузки
Определяем прогиб панели приближенным методом, используя значения
Для этого предварительно определяем
при
и арматуре класса S400
Общая оценка деформативности панели по формуле:
т.к.
условие не удовлетворяется, требуется расчет прогибов.
Прогиб в середине пролета панели по формуле:
где
- кривизна в середине пролета панели по формуле:
здесь коэфф. к1.кр=0,58; к1дл.=0,48; к2дл=0,39; при
и
для двутавровых сечений.
Вычисляем прогиб:
что меньше
для элементов перекрытий с плоским потолком
см. табл.8.2.2 – 3см.
7. Расчет панели по раскрытию трещин.
Панель перекрытия относится к третьей категории трещиностойкойсти, как элемент, эксплуатируемый в закрытом помещении и армированный стержнями класса S400. Предельно допустимая ширина раскрытия трещин ат.кр.=0,4мм и ат.дл.=0,3мм.
Для элементов третьей категории трещиностойкойсти, рассчитываемых по раскрытию трещин, нормальных к продольной оси, при действии кратковременных и длительных нагрузок должно соблюдаться условие:
ат.дл.=ат.1-ат.2+ат.3ат.пред.
где (ат.1-ат.2) – приращение ширины раскрытия трещин в результате кратковременного увеличения нагрузки от постоянной и длительной до полной; ат.3-ширина раскрытия трещин от длительного действия постоянных и длительных нагрузок.
Ширину раскрытия трещин определяем:
где k1=1 – как для изгибающих элементов;
- для стержневой арматуры периодического профиля;
d=1.0 см по расчету
Еа=2,1
105 Мпа – для стали кл.S 400
kc=1.0, т.к. с=3см0,2h=0.2
h=0.2
22=4.4см;
сД=1,0 – при кратковременных нагрузках;
сД=1,5 – при постоянных и длительных нагрузках.
Определяем Z1:
Здесь
1=0,55;
h0=19см;
Находим
Значения L от действия всей нагрузки:
Тоже, от действия постоянной и длительной нагрузки:
Вычисляем
при кратковременном действии всей нагрузки:
Продолжаем расчет как тавровых сечений.
Величина
Упругопластический момент сопротивления ж.-бет. таврового сечения после образования трещин:
Wa=As
Z1=6.08
17.1=104см3
Расчет по длительному раскрытию трещин:
Мдл=26290Н
м.
Напряжение в растянутой арматуре при действии постоянных и длительных нагрузок:
Ширина раскрытия трещин от действия постоянной и длительной нагрузок при сД=1,5
Расчет по кратковременному раскрытию трещин:
Мн=31980 Н
м; Мдл=26290 Н
м;
ат= ат1- ат2+ ат3; где ат3=0,11 мм.
Напряжение в растянутой арматуре при совместном действии всех нагрузок:
Приращение в растянутой арматуре при совместном действии всех нагрузок:
Приращение напряжения от кратковременного увеличения нагрузки от длительно действующей до ее полной величины:
Соответствующее приращение ширины раскрытия трещин при сД=1
Ширина раскрытия трещин при совместном действии всех нагрузок:
аТ=0,11+0,021=0,123мм ат.кр=0,3м, т.е. условие удовлетворяется.
См. табл.8.1 пункт б акр.=0.3мм
8. Проверка плиты на монтажные нагрузки.
Панель имеет четыре монтажные петли из стали класса S240, расположенные на расстоянии 70см от концов панели. С учетом коэффициента динамичности qД=1,5 расчетная нагрузка от собственного веса панели равна
q=qД
2*1.1*2750*1.19=7200н/м
где gn=hпр*γ=0,11*25000=2750н/м2 – собственный вес панели; hпр- приведенная толщина панели; γ – плотность бетона, н/м3
а) Расчетная схема
Отрицательный изгибающий момент консольной части панели:
M=q*l12/2=7200*0.72/2=1770Н*м
Этот момент воспринимается продольной монтажной арматурой каркасов.
Полагая, что Z1=0.9h0; требуемая площадь сечения указанной арматуры составляет
:
Что значительно меньше принятой конструктивно арматуры 3Ø6 S240 c Аа=0,85см2
0>Характеристики
Тип файла документ
Документы такого типа открываются такими программами, как Microsoft Office Word на компьютерах Windows, Apple Pages на компьютерах Mac, Open Office - бесплатная альтернатива на различных платформах, в том числе Linux. Наиболее простым и современным решением будут Google документы, так как открываются онлайн без скачивания прямо в браузере на любой платформе. Существуют российские качественные аналоги, например от Яндекса.
Будьте внимательны на мобильных устройствах, так как там используются упрощённый функционал даже в официальном приложении от Microsoft, поэтому для просмотра скачивайте PDF-версию. А если нужно редактировать файл, то используйте оригинальный файл.
Файлы такого типа обычно разбиты на страницы, а текст может быть форматированным (жирный, курсив, выбор шрифта, таблицы и т.п.), а также в него можно добавлять изображения. Формат идеально подходит для рефератов, докладов и РПЗ курсовых проектов, которые необходимо распечатать. Кстати перед печатью также сохраняйте файл в PDF, так как принтер может начудить со шрифтами.
















