144914 (620796), страница 2
Текст из файла (страница 2)
Вывод: Устойчивость обеспечена.
Проверяем устойчивость арки из плоскости:
где
Таким образом, принятое сечение арки удовлетворяет требованиям прочности и устойчивости.
-
Расчет затяжки
Максимальное усилие в затяжке
Н=113,925+347,288=461,213 кН.
Затяжка выполнена из двух стальных уголков марки ВСт3пс6-1.
Требуемая площадь уголков
а одного уголка
Принимаем уголок 90x90x7 (F=12,28 см2 > 11,3 см2).
4.3 Расчет узлов
Опорный узел.
Расчетные усилия: N=530,829 кН, Q=58,8 кН.
Конструкцию опорного узла принимаем с валиковым шарниром. Материал шарнира- сталь марки 10Г2С1 (Ry=310 МПа).
Рис.4 – схема опорного узла.
Расчет валикового шарнира на изгиб и упорных пластин на смятие производим на равнодействующую усилий N и Q в шарнире:
Принимая расстояние между упорными пластинками в арке
, находим величину изгибающего момента в валике:
Требуемый момент сопротивления валика
;
Принимаем валик диаметром d=75 мм. (W=41,4 см3 > 41,29 см3).
Проверяем валик на срез по формуле
.
Принятый валик удовлетворяет требованиям прочности.
Толщину упорных пластин принимаем из условия смятия. Общая толщина пластин в арке и опорном башмаке должна быть не менее
Принимаем толщину пластин в арке равной 16 мм., а в опорном башмаке- 32 мм.
Торец арки проверяем на смятие. Величина напряжений смятия при действии расчетной продольной силы не должна превышать расчетного сопротивления смятию (RСМ=14 МПа). Усилие от шарнира передается на башмак длиной lб=600 мм. через гнутый швеллерный профиль двумя боковыми ребрами.
Площадь смятия торца арки под швеллером
Условие прочности
Прочность обеспечена.
На болты, присоединяющие оголовок, действуют усилия Nб, вызываемые поперечной силой:
.
Необходимый диаметр болта определяем, исходя из его несущей способности, по изгибу:
.
При n=2 (два болта) имеем
.
Принимаем конструктивно два болта d=16 мм.
Упорную плиту башмака рассчитываем как балку на опорах, загруженную в середине пролета силой N. Максимальный изгибающий момент в такой балке
где l1=120 мм.- расстояние между боковыми пластинами опорного башмака.
Принимая ширину плиты b1=400 мм., находим требуемую толщину по формуле
.
Принимаем толщину плиты равной 34 мм.
Размеры опорной плиты башмака назначаем из условия смятия опорной деревянной подушки под действием максимальной опорной реакции: A=263,55 кН, т.е.
.
Принимая B=240 мм., найдем, что
.
Принимаем L=400 мм. Толщина опорной плиты назначают из условия работы ее на изгиб. Опасными являются консольные участки для которых изгибающий момент
.
Толщина опорной плиты должна быть не менее
.
Принимаем
. Сварные швы, соединяющие детали узла между собой, рассчитываются в соответствии с требованиями СНиП II-23-81*. Нормы проектирования. Стальные конструкции.
Коньковый узел.
Коньковый узел в целях унификации выполняем аналогично опорному, т.е. тоже с применением валикового шарнира. Усилия: в узле N=461,213 кН, Q=49,612 кН.
Расчет валикового шарнира на изгиб и упорных пластин на смятие производим на равнодействующую усилий N и Q в шарнире:
Рис.5 – схема конькового узла.
Принимая расстояние между упорными пластинками в арке
, находим величину изгибающего момента в валике:
Требуемый момент сопротивления валика
;
Принимаем валик диаметром d=75 мм. (W=41,4 см3 > 35,9 см3).
Проверяем валик на срез по формуле
.
Принятый валик удовлетворяет требованиям прочности.
Толщину упорных пластин принимаем из условия смятия. Общая толщина пластин в арке и опорном башмаке должна быть не менее
Принимаем толщину пластин в левой полуарке равной 14 мм., а в правой- 28 мм.
Торец арки проверяем на смятие. Величина напряжений смятия при действии расчетной продольной силы не должна превышать расчетного сопротивления смятию (RСМ=14 МПа). Усилие от шарнира передается на башмак длиной lб=600 мм. через гнутый швеллерный профиль двумя боковыми ребрами.
Площадь смятия торца арки под швеллером
Условие прочности
Прочность обеспечена.
На болты, присоединяющие оголовок, действуют усилия Nб, вызываемые поперечной силой:
.
Необходимый диаметр болта определяем, исходя из его несущей способности, по изгибу:
.
При n=2 (два болта) имеем
.
Принимаем конструктивно два болта d=16 мм.
5. Расчет стойки
В целях унификации принимаем для стойки те же доски что использовались для проектирования арки
=42 мм. и шириной 192 мм. (что соответствует не строганным стандартным доскам 200x50 мм.). Задаемся высотой сечения в пределах
. В соответствии с этими размерами принимаем 24 доски
=42 мм., итого
.
Рис.6 – сечение колонны.
Расчет рамы будем производить по схеме приведенной на рис.7
Рис.7 – расчетная схема рамы.
Для расчета найдем усилия M,N,Q, для этого найдем горизонтальные составляющие ветровой нагрузки W и W/.
Горизонтальные составляющие:
,
.
Вертикальные составляющие:
,
.
Усилие N будет представлять собой сумму усилий от постоянной нагрузки
=198,45 Кн, снеговой нагрузки
=65,1 кН и собственного веса колонны
.
.
Находим значение ветровой нагрузки действующей на колонну:
-
слева
; -
справа
.
Находим усилие, передающееся на стойку
, где
;
.
Находим значения моментов и поперечных сил в правой и левой стойках. Расчет будем производить по схеме показанной на рисунке 9:
Рис.9 – расчетная схема стойки.
–левая стойка
;
.
–правая стойка
;
.
Геометрические характеристики для принятого сечения
Площадь сечения
;
Момент сопротивления
;
Момент инерции
;
Радиус инерции
;
Гибкость
.
Проверка прочности сечений.
Проверяем прочность наиболее нагруженного сечения (с максимальным изгибающим моментом) т.е. сечения на опоре, где M=143,63 кН м, N=280,65 кН.
Находим значение коэффициента
, для чего сначала подсчитываем коэффициент
по формуле
Проверяем прочность сечения по формуле
Вывод: Прочность сечения обеспечена.
Проверяем клеевые швы на скалывание:
Вывод: Прочность клеевых швов на скалывание обеспечена.
Проверяем устойчивость стойки в плоскости рамы
Проверку устойчивости будем производить на момент M=143,63 кН/м и продольную силу N=280,65кН по схеме приведенной на рис.10.
Рис.10 – расчетная схема стойки.
Подсчитываем коэффициенты:
при гибкости
(коэффициент kф принят равным 2,45).
Находим
Проверяем устойчивость арки
Вывод: Устойчивость стойки в плоскости рамы обеспечена.
Проверяем устойчивость арки из плоскости:
Проверку устойчивости будем производить продольную силу N=280,65 кН по схеме приведенной на рис.11.
Рис.11 – расчетная схема стойки
Находим необходимые характеристики:
момент инерции
радиус инерции
гибкость
коэффициент продольного изгиба
Вывод: Прочность стойки из плоскости рамы обеспечена.
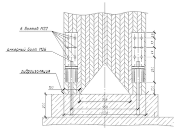
Крепление стойки к фундаменту
Принимаем жесткий узел крепления стойки к фундаменту с помощью анкерных болтов (рис.12 ).
Расчет производим на продольную силу N=280,65 кН. и момент М=143,63 кН*м.
Находим
,
где
Рис.12 – крепление стойки к фундаменту.
Проверяем прочность торца колонны на смятие:
.
Принимаем под фундамент бетон класса В 15 c Rc=11 МПа.
Находим требуемую площадь сечения анкера
.
Принимаем анкерный болт диаметром 26 мм. (
)
Проверяем прочность анкерного соединения
.
Вывод: прочность обеспечена.
Крепление пластины принимаем на болтах.
Минимальная несущая способность одного болта 22 диаметра
,
где
.
Определяем необходимое количество болтов
Принимаем 6 болтов диаметром 22 мм.
Делаем проверку
.
Вывод: прочность обеспечена.
Список используемой литературы
-
Конструкции из дерева и пластмасс. 5-е изд./ Под ред. Г.Г.Карлсена и Ю.В.Слицкоухова. –М.: Стройиздат, 1985.-542 с.
-
Гринь И.М. Проектирование и расчет деревянных конструкций: Справочник. –Киев: Будивельник, 1988.
-
Иванов В.А. и др. Конструкции из дерева и пластмасс. Примеры расчета и конструирования. 3-е изд. –Киев: Вища школа, 1981.
-
Индустриальные деревянные конструкции: Уч.пос. для вузов. Под ред. Слицкоухова Ю.В. –М.: Стройиздат, 1991.-251 с.
-
Светозарова Е.И., Душечкин С.А., Серов Е.Н. Конструкции из клееной древесины и водостойкой фанеры. Примеры проектирования. –Л.: Лененградский инж.- строит. ин-т, 1974.
-
Вдовин В.М. Распределение сосредоточенного давления в клеефанерных конструкциях. –В сб. Облегченные конструкции покрытий зданий. –Ростов-на-Дону: Ростовский инж.-строит. ин-т, 1979, с.16-26.
-
Хрулев В.М. Деревянные конструкции и детали: Справочник строителя. –М.: Стройиздат, 1983. –287 с.
-
СНиП П-25-80. Нормы проектирования. Деревянные конструкции. –М.: Стройиздат, 1982.-65 с.
-
Пособие по проектированию деревянных конструкций (к СНиП П-25-80). –М.: Стройиздат, 1986. –215 с.
-
СНиП 2.01-07-85. Нагрузки и воздействия. –М.: Стройиздат, 1988.
;
.















