144292 (620483), страница 4
Текст из файла (страница 4)
а – ширина нижнего основания;
в – длина нижнего основания;
А – ширина верхнего основания;
В – длина верхнего основания;
Н – глубина заложения котлована
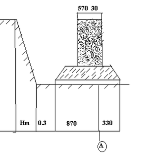
Н = 4500 мм = 4,5 м;
Нм = 4,5 * 0,67 = 3,015
(грунт супесь, уклон = 0,670)
2.2.2 Подсчет объемов СМР
А) монтажные работы
| Наименование | Ед. Изм. | Кол-во | Объем, м3 | Масса, т | ||
| На сд. | На весь | На сд. | На весь | |||
| 1 | 2 | 3 | 4 | 5 | 6 | 7 |
| 1. Плиты ленточных фундаментов ФЛ 1 ФЛ 2 ФЛ 3 ФЛ 4 ФЛ 5 Монолитная плита 2. Блоки бетонные для стен подвала ФБС 24.6.6 – Т ФБС 12.6.6 – Т ФБС 9.6.6 – Т 3. Арматурная сетка СГ 1 СГ 2 СГ 3 СГ 4 СГ 5 ПР 1 ЛС П 1 4. Плиты перекрытия П 1 П 2 П 3 П 4 П 5 П 6 П 7 П 8 П 9 П 10 5. Монолитные участки МУ 1 МУ 2 МУ 3 МУ 4 МУ 5 МУ 6 6. Детали ММ 9 ММ 11 7. Перемычки ПБ 1 ПБ 2 ПБ 3 8. Материалы Цементный раствор М100 | шт. шт. шт. шт. шт. шт. шт. шт. шт. шт. шт. шт. шт. шт. шт. шт. шт. шт. шт. шт. шт. шт. шт. шт. шт. шт. шт. шт. шт. шт. шт. шт. шт. шт. шт. шт. шт. шт. М3 | 70 18 4 8 10 1 36 34 34 48 36 72 24 16 2 30 2 132 26 116 17 40 25 6 7 40 32 2 1 1 4 4 1 171 254 5 5 15 15,7 | 2710 2150 1030 650 550 1960 960 700 3,2 4,7 4,92 36,3 2,2 157 145 1,145 2200 2950 862 1145 1420 1970 1290 970 1900 2525 0,62 0,38 137 285 162 | |||
Б) отделочные работы
| Наименование | Ед. Изм. | Кол-во | Формула |
| 1 | 2 | 3 | 4 |
| 1. Затирка известковая известь | М2 | 351,3 | S = a*b |
| 2. Затирка водоэмульсионная покраска | М2 | 418 | |
| 3. Штукатурка известковая побелка | М2 | 295,2 | |
| 4. Штукатурка, наклейка обоев | М2 | 607,2 | |
| 5. Штукатурка, водоэмульсионная покраска | М2 | 861,6 | |
| 6. Облицовка н = 1,8 м керамической плиткой | М2 | 164 | |
| 7. Покраска пентафталевой эмалью ПФ-115 светлых тонов | М2 | 478,7 |
В) Устройство полов
| Наименование | Ед. Изм. | Кол-во | Формула |
| 1 | 2 | 3 | 4 |
| Уплотнение щебнем грунт | М2 | 598,1 | S = a*b |
| Бетон В 22,5 | М2 | 598,1 | |
| Цемент.-песчан. Раствор М - 150 | М2 | 598,1 | |
| Керамическая плитка | М2 | 302,5 | |
| 2 слоя рубероида | М2 | 115,4 | |
| Лак | М2 | 344 | |
| Бетонные плиты | М2 | 79,7 | |
| Линолеум | М2 | 705 | |
| Прослойка и заполнение швов | М2 | 197,3 |
Г) Устройство кровли и покрытия
| Наименование | Ед. Изм. | Кол-во | Формула |
| 1 | 2 | 3 | 4 |
| 1. Устройство цементно-песчанная стяжка 25 мм | М2 | 847 | S = a*b |
| 2. Укладка одного слоя рубероида | М2 | 847 | |
| 3. Утеплитель | М2 | 847 | |
| 4. Цементно-песчаная стяжка 20 мм | М2 | 847 | |
| 5. Деревянные стропила | Шт. | 88 | |
| 6. Асбоцементные плиты | М2 | 847 |
Д) Разные и специальные работы
1. Устройство основания под отмостку
Sотм = Рзд*а, м2
Sотм = 139,2 * 0,7 = 97,44 м2
Где а – ширина отмоски 1 м
а = 0,7 – 1м
2. Покрытие отмостки асфальтобетоном
V = Sотм * 0,1 = 97,44 * 0,1 = 9,744
3. Строительный объем здания
V = Sзастр * Н (от 0 до конца здания)
V = 765 * 16,4 = 12546
4. Спецификация здания
- отопление, вентиляция
Тр = Vзд *15 /100 = 1882
- водопровод, канализация
Тр = Vзд *14 /100 =1756,4
- электроснабжение
Тр = Vзд *10 /100 =1254,6
- слаботочные сети
Тр = Vзд *4 /100 =502
Каменные работы
| Наименование элементов | Ось | Участок | Длина, м | Высота, м | Площадь до стены | S проемов | S з. проемов | Толщина стены | V кладки |
| 1 | 2 | 3 | 4 | 5 | 6 | 7 | 8 | 9 | 10 |
| 1. Кладка стен наружных | А Б Ж 1 7 | 4-7 1-4 1-7 А-Ж А-Е | 33,5 17,5 58,5 17,6 15,2 | 16,4 16,4 16,4 16,4 16,4 | 549,4 287 959,4 288,64 249,28 | 116,85 45,6 59,85 91,2 11,2 | 432,55 2414 899,55 197,44 238,08 | 0,65 0,65 0,65 0,65 0,65 | 453,87 156,92 584,71 128,34 154,75 |
| Итого | 2009,02 | 1195,5 | |||||||
| 2. Кладка стен внутренних | В Г Д/1 3 | 1-7 1-7 1-2 Б-Д | 52,0 24,78 4,1 6,6 | 3 3 3 3 | 51,97 24,08 24,08 6,6 | 5,93 2,47 | 46,04 21,61 24,08 6,6 | 0,38 0,38 0,38 0,38 | 17,5 8,2 9,2 2,5 |
| Итого | 98,35 | 37,4 | |||||||
| 3. Кладка перегородок | Б-В В-Д Г-Ж | 1-7 4-5 1-7 | 43,2 21 32,5 | 3 3 3 | 129,6 63 97,5 | - 0,23 - | 129,6 62,77 97,5 | 0,12 0,12 0,12 | 15,355 7,53 11,7 |
| Итого | 289,87 | 37,78 | |||||||
| Всего | 2397,24 | 1270,68 |
Подсчет объемов работ по выполнению остекления и окраски проемов
| № п/п | Тип заполнения | Площадь, м2 | Количество блоков | Остекление | Окраска | ||||||
| 1 шт. | Всего | Коэффициент | S, м2 | На ед. изм. | На весь объем | ||||||
| 1 | 2 | 3 | 4 | 5 | 6 | 7 | 8 | 9 | |||
| 1 | Оконные блоки Ок -1 Ок – 2 Ок – 3 Ок – 4 | 75 14 18 10 | 1,3 1,3 1,3 1,3 | 97,5 18,2 23,4 13 | 2,2 2,2 2,2 2,2 | 165 30,8 39,6 22 | |||||
| 2 | Дверные блоки Д -1 Д – 2 Д – 3 Д - 4 | 72 8 32 4 | 2,0 2,24 2,24 2,24 2,24 | 161,28 17,92 71,68 8,96 | |||||||
2.3 Методы производства СМР. Выбор монтажного крана
2.3.1 Монтажная оснастка и приспособление
| Наименование работ | Монтаж оснастки | Технологическая характеристика | Потребность на бригаду | |||
| Q, т | Н, м | Вес, т | ||||
| 1 | 2 | 3 | 4 | 5 | 6 | |
| Плиты покрытия | 1 | |||||
| Подача рубероида в контейнере | 1 | |||||
2.3.2 Расчет параметров и выбор монтажного крана
1. Требуемая грузоподъемность
















