144215 (620443)
Текст из файла
Федеральное агентство по образованию
Южно-Уральский государственный университет
Кафедра «Теплогазоснабжение и вентиляция»
Пояснительная записка к курсовой работе
по курсу: «Теплогазоснабжение и вентиляция» 290300.2006.100.00 ПЗ
ОТОПЛЕНИЕ ГРАЖДАНСКОГО ЗДАНИЯ
Нормоконтроль Лымбина Л. Е.
«______»___________ 2006 г.
Руководитель Лымбина Л. Е.
«______»___________2006 г.
Автор проекта
студент группы АС-305
Тихонов А. Н.
«______»___________2006 г.
Проект защищен
с оценкой ___________________
«______»___________2006 г.
Челябинск 2006
Аннотация
Тихонов А. Н. Отопление гражданского здания. - Челябинск: ЮУрГУ, АС; 2006, 40 с., 1 илл. Библиография литературы – 8 наименований. 3 листа чертежей ф. А4.
В курсовой работе дана климатическая характеристика района строительства; выполнены теплотехнический расчет ограждающих конструкций и теплоэнергетический баланс помещений гражданского здания, для которого выбрана и обоснована система отопления; сделан расчет отопительных приборов.
Содержание
Введение
1 Климатическая характеристика района строительства
2 Теплотехнический расчет ограждающих конструкций
2.1 Наружная стена
2.2 Перекрытие над неотапливаемым подвалом
2.3 Бесчердачное покрытие
2.4 Оконный блок
2.5 Наружная дверь
2.6 Внутренняя стена
2.7 Неутепленный пол лестничной клетки
2.8 Теплотехнические характеристики ограждающих конструкций
3 Теплоэнергетический баланс здания
4 Выбор и обоснование системы отопления
5 Отопительные приборы
5.1 Расчет отопительных приборов
Заключение
Библиографический список
Введение
В последнее время в России, как и во всем мире, существенно возросло и продолжает возрастать потребление энергии. И вместе с тем наблюдается постоянный рост стоимости всех видов топлива. Это связано с усложнением добычи топлива при освоении глубоких месторождений; к тому же запасы некоторых видов топлива подходят к концу. Известно, что на теплоснабжение гражданских и производственных зданий расходуется более одной трети всего добываемого в России органического топлива. И поэтому все более актуальной и значимой задачей является экономное расходование теплоты на всех этапах от ее выработки до потребителя.
В России основными среди теплозатрат на коммунально-бытовые нужды в зданиях являются затраты на отопление. Это объясняется тем, что на большей части территории страны в зимний период устанавливается низкая температура воздуха, и потери теплоты в зданиях через ограждающие конструкции превышают внутренние тепловыделения. Для поддержания необходимой температурной обстановки приходится оборудовать здания отопительными установками или системами.
Отоплением называется искусственное, с помощью специальной установки или системы, обогревание помещений здания для компенсации теплопотерь и поддержания в них температурных параметров на уровне, определяемом условиями теплового комфорта для находящихся в помещении людей или требованиями технологических процессов, протекающих в производственных помещениях.
Отопление является отраслью строительной техники. Монтаж стационарной отопительной системы проводится в процессе возведения здания, ее элементы при проектировании увязываются со строительными конструкциями и сочетаются с планировкой и интерьером помещений.
Вместе с тем, отопление – один из видов технологического оборудования. Параметры работы отопительной системы должны учитывать теплофизические особенности конструктивных элементов здания и быть увязаны с работой других инженерных систем, прежде всего, с рабочими параметрами системы вентиляции и кондиционирования воздуха.
Отопление зданий начинают при устойчивом (в течение 5 суток) понижении среднесуточной температуры наружного воздуха до 8С и ниже, а заканчивают при устойчивом повышении температуры наружного воздуха до 8С. Период отопления здания в течение года называют отопительным сезоном. Длительность отопительного сезона устанавливают на основании многолетних наблюдений как среднее число дней в году с устойчивой среднесуточной температурой воздуха 8С.
Гигиенические исследования микроклимата помещений и комфортное пребывание человека в этих помещениях позволили выработать ряд требований, предъявляемых к системам отопления:
Санитарно-гигиенические. Обеспечение требуемых СНиП температур во всех помещениях и поддержание температур внутренних поверхностей наружных ограждающих конструкций и отопительных приборов на определенном уровне.
Строительные. Обеспечение соответствия архитектурно-планировочным и конструктивным решениям здания; увязка размещения отопительных приборов и их элементов со строительными конструкциями.
Архитектурные (эстетические). Хорошая сочетаемость с внутренней архитектурной отделкой помещения и минимальная площадь, занимаемая системой отопления.
Монтажные. Обеспечение монтажа индустриальными методами с максимальным использованием унифицированных узлов и минимальном количестве типоразмеров.
Эксплуатационные. Простота и удобство обслуживания, управления, ремонта, надежность, безопасность и бесшумность действия.
Экономические. Обеспечение минимальных приведенных затрат по сооружению и эксплуатации на основании технико-экономического сравнения вариантов.
1. Климатическая характеристика района строительства
Район строительства: город Тула
Расчетные параметры наружного воздуха
Таблица 1.1 - Расчетные параметры наружного воздуха [1, табл.1]
| Температура воздуха наиболее холодной пятидневки, °С, обеспеченностью 0,92; text | Период со среднесуточной температурой ≤ 8 °С | Максимальная из средних скоростей ветра по румбам за январь м/с | ||
| Продолжительность, сут. Zht | Средняя температура воздуха, °С tht | |||
| -27 | 207 | -3 | - | |
Зона влажности территории России: 2 – «нормальная» [2, прил. В]
Влажностный режим помещений зданий: «нормальный» [2, табл. 1], т.к. tint = 20...220С и φ= 50...55% [3, табл. 1]
Условия эксплуатации ограждающей конструкции: «Б» [2, табл.2]
2. Теплотехнический расчет ограждающих конструкций
Теплотехнический расчет заключается в определении толщины искомого слоя ограждения, при котором температура на внутренней поверхности ограждения будет выше температуры точки росы внутреннего воздуха и будет удовлетворять теплотехническим требованиям: R0 ≥ Rreg.
Расчет выполняется в соответствии со СНиП 23-02-2003 «Тепловая защита зданий», СП 23-101-2004 «Проектирование тепловой защиты зданий».
Теплотехническому расчету подлежат наружные стены, бесчердачные покрытия, перекрытия над неотапливаемым подвалом, окна и наружные двери, внутренние стены (перегородки), неутепленный пол лестничной клетки.
2.1 Наружная стена
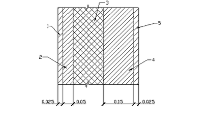
Эскиз элемента ограждающей конструкции (по варианту)
Рисунок 2.1
Теплотехническая характеристика ограждающей конструкции (наружной стены)
Таблица 2.1 - Нормируемые теплотехнические показатели строительных материалов и изделий [4, табл. Е.1]
| Наименование материальных слоев ограждающей конструкции | Обозначение | Толщина слоя, м | Расчетный коэффициент λ, Вт/(м·°С) |
| 1. Цементно-песчаный раствор, ρ0 = 1800 кг/м3 | δ1 | 0,025 | 0,93 |
| 2. Железобетон, ρ0 = 2500 кг/м3 | δ 2 | 0,05 | 2,04 |
| 3. Пенополистирол (ГОСТ 15588), ρ0 = 40 кг/м3 | δ 3 | — | 0,05 |
| 4. Железобетон, ρ0 = 2500 кг/м3 | δ 4 | 0,15 | 2,04 |
| 5. Цементно-песчаный раствор, ρ0 = 1800 кг/м3 | δ 5 | 0,025 | 0,93 |
Примечание: Расчетный коэффициент теплопроводности λ принимается в зависимости от плотности материала и условий эксплуатации ограждающих конструкций.
Градусо – сутки отопительного периода Dd ,°С ·сут [2, формула 2]
, (1)
где:
Dd – градусо-сутки отопительного периода, °С·сут, для конкретного пункта;
tint – расчетная средняя температура внутреннего воздуха здания, °С, принимаемая для расчета ограждающих конструкций группы зданий по поз. 1 [2, табл.4] по минимальным значениям оптимальной температуры соответствующих зданий по ГОСТ 30494 (в интервале 20…22 °С);
tht , zht — средняя температура наружного воздуха, °С и
продолжительность, сут., отопительного периода, принимаемые по СНиП 23-01-99* для периода со средней суточной температурой наружного воздуха не более 10°С – при проектировании лечебно-профилактических, детских учреждений и домов-интернатов для престарелых, и не более 8 °С – в остальных случаях.
Dd = (20 – (-3))·207 =4761 °С ·сут
Нормируемое значение сопротивления теплопередаче Rreg, (м2·°С)/Вт, ограждающей конструкции [2, п. 5.3, табл.4, формула 1]
, (2)
где:
a, b - коэффициенты, значения которых следует принимать по данным таблицы для соответствующих групп зданий и соответствующих видов конструкций, за исключением графы 6 для группы зданий в поз.1, где для интервала до 6000 °С·сут: а = 0,000075; b = 0,15; для интервала 6000-8000 °С·сут: а = 0,00005; b = 0,3; для интервала 8000 °С·сут и более: а = 0,000025; b = 0,5.
Rreg = 0,00035·4761+1,4 = 3,066 (м2·°С)/Вт
Минимальная толщина искомого слоя ограждающей конструкции δmin, м, (для наружной стены - теплоизолирующего слоя) принимается из теплотехнических требований, предъявляемых к ограждающим конструкциям: R0 ≥Rreg.
Толщина будет минимальной при выполнении равенства R0 = Rreg, где: Rreg – нормируемое значение сопротивления теплопередаче ограждающей конструкции, (м2·°С)/Вт; R0 - сопротивление теплопередаче ограждающей конструкции, (м2·°С)/Вт, определяемое по формуле:
, (3)
где:
- термическое сопротивление теплоотдачи, (м2·°С)/Вт;
- термическое сопротивление тепловосприятию, (м2·°С)/Вт;
αint – коэффициент теплоотдачи внутренней поверхности ограждающей конструкции, Вт/(м2 · °С) [2, табл.7];
αext – коэффициент теплоотдачи наружной поверхности ограждающей конструкции для условий холодного периода, Вт/(м2 · °С),
Rk - термическое сопротивление ограждающей конструкции, (м2·°С)/Вт, определяемое для однородной (однослойной) ограждающей конструкции по формуле [4, формула 3]:
, (4)
где:
δ – толщина слоя ограждающей конструкции, м
λ – расчетный коэффициент теплопроводности материала слоя,
Вт/(м · °С), [4, табл. E.1]
Термическое сопротивление ограждающей конструкции Rk с
последовательно расположенными однородными слоями, (м · °С)/Вт, следует определять как сумму термических сопротивлений отдельных слоев [4, формула 4]:
, (5)
Характеристики
Тип файла документ
Документы такого типа открываются такими программами, как Microsoft Office Word на компьютерах Windows, Apple Pages на компьютерах Mac, Open Office - бесплатная альтернатива на различных платформах, в том числе Linux. Наиболее простым и современным решением будут Google документы, так как открываются онлайн без скачивания прямо в браузере на любой платформе. Существуют российские качественные аналоги, например от Яндекса.
Будьте внимательны на мобильных устройствах, так как там используются упрощённый функционал даже в официальном приложении от Microsoft, поэтому для просмотра скачивайте PDF-версию. А если нужно редактировать файл, то используйте оригинальный файл.
Файлы такого типа обычно разбиты на страницы, а текст может быть форматированным (жирный, курсив, выбор шрифта, таблицы и т.п.), а также в него можно добавлять изображения. Формат идеально подходит для рефератов, докладов и РПЗ курсовых проектов, которые необходимо распечатать. Кстати перед печатью также сохраняйте файл в PDF, так как принтер может начудить со шрифтами.
















