198411 (620433), страница 2
Текст из файла (страница 2)
Вблизи здания в местах подъема груза и выполнения кровельных работ необходимо обозначить опасные зоны, границы которых определяются согласно СНиП 12-03.
Во время перерывов в работе технологические приспособления, материалы и инструмент должны быть закреплены или убраны с крыши.
Не допускается выполнение кровельных работ во время гололеда, тумана, исключающего видимость в пределах фронта работ, грозы и ветра со скоростью 15 м/с и более.
Элементы и детали кровель подаются на рабочие места в заготовленном виде.
Заготовка указанных элементов и деталей непосредственно на крыше не допускается.
При выполнении кровельных работ газопламенным способом необходимо выполнять следующие требования безопасности:
- баллоны должны быть установлены вертикально и закреплены в специальных стойках;
- тележки-стойки с газовыми баллонами разрешается устанавливать на поверхностях крыши, имеющие уклон до 25%. При выполнении работ на крышах с большим уклоном для стоек с баллонами необходимо устраивать специальные площадки;
- во время работы расстояние от горелок (по горизонтали) до групп баллонов с газом должно быть не менее 10 м, до газопроводов и резинотканевых рукавов - 3 м, до отдельных баллонов - 5 м.
Запрещается держать в непосредственной близости от места производства работ с применением горелок легковоспламеняющиеся и огнеопасные материалы.
Приложение
СХЕМЫ ДЕТАЛЕЙ КРОВЕЛЬ
(Вариант применения)
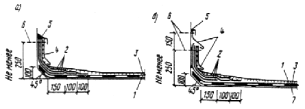
Рис. 1. Примеры примыканий кровель
а - к стенам высотой более 450 мм; б - то же, при выполнении мероприятий по п.5.2;
1 - основной водоизоляционный ковер (по табл.2); 2 - слои дополнительного водоизоляционного ковра с верхним слоем из рубероида (или толя) с крупнозернистой или чешуйчатой посыпкой (по п.2.5); 3 - защитный слой (согласно табл.2); 4 - защитный фартук из оцинкованной кровельной стали; 5 - герметизирующая мастика (согласно п.2.9); 6 - оси крепежных элементов (для закрепления слоев водоизоляционного ковра, защитных фартуков);
7 - диффузионная прослойка (согласно п.5.2), сообщающаяся с наружным воздухом
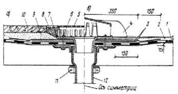
Рис. 2. Пример решения пропуска труб
1 - основной водоизоляционный ковер; 2 - защитный слой (согласно табл.2); 3 - слои дополнительного водоизоляционного ковра; 4 - ось крепежных элементов; 5 - зонт из оцинкованной кровельной стали; 6 - круглый или прямоугольный стальной патрубок с фланцемпросмоленная пакля; 8 - зажимной хомут; 9 - герметизирующая мастика; 10 - пропускаемая труба
Рис. 3. Примеры решения кровель в местах установки водосточных воронок
а - в покрытиях с железобетонными плитами при эксплуатируемой кровле (см. п.2.11);
б - то же, при неэксплуатируемой кровле;
1 - основной водоизоляционный ковер (по табл.2); 2 - защитный слой (согласно табл.2);
3 - слои дополнительного водоизоляционного ковра из мастик, армированных стеклосеткой или стеклотканью; 4 - струевыпрямитель колпака водоприемной воронки; 5 - съемная крышка водоприемного колпака; 6 - накидная гайка с шайбой; 7 - прижимное кольцо; 8 - гравий фракцией не менее 15 мм; 9 - цементно-песчаный раствор или кварцевый песок (по п. 2.11);
10 - бетонные или армоцементные плитки (по п.2.11); 11 - зажимной хомут; 12 - чаша водоприемной воронки
















