144160 (620422), страница 4
Текст из файла (страница 4)
Балка сборная - заводского изготовления. Принимаем бетон тяжелый по прочности на сжатие
подвергнутый тепловой обработке при атмосферном давлении.
Принимаем марку смеси по удобоукладываемости - П1.
Натяжение арматуры осуществляется механическим способом на упоры стенда.
Средняя прочность бетона в момент передачи усилия предварительного обжатия на бетон (передаточная прочность) определяется как
.
Прочность бетона в момент передачи усилия обжатия на бетон контролируется испытаниями контрольных кубов.
В качестве напрягаемой арматуры принимаем арматуру S1200 по ГОСТ 13840. Ненапрягаемая арматура сварных каркасов и сеток принята класса S400 - стержневая и класса S500 - проволочная. Монтажную арматуру принимаем класса S240.
Предельно допустимый прогиб среднего по длине балки сечения при действии постоянных и временных длительных нагрузок (с учетом выгиба от усилия предварительного обжатия) по таблице 19 приложения 10 СНиП 2.01.07-85 “ Нагрузки и воздействия “ составит
.
Предельно допустимое значение ширины раскрытия нормальных и наклонных трещин по таблице 5.1 СНБ 5.03.01-02 составит
.
Расчетные характеристики материалов
Бетон C 30/37:
нормативное сопротивление бетона на осевое сжатие
;
гарантированная прочность бетона на осевое сжатие
;
передаточная прочность
;
;
по таблице 6.1 СНБ 5.03.01-02;
расчетное сопротивление бетона сжатию для первой группы предельных состояний составит
;
расчетное сопротивление бетона на растяжение для первой группы предельных состояний
;
расчетное сопротивление бетона сжатию для второй группы предельных состояний (
) составит
;
расчетное сопротивление бетона на растяжение для второй группы предельных состояний (
) составит
;
Модуль упругости бетона определяем по таблице 6.2 СНБ 5.03.01-02. В зависимости от марки смеси по удобоукладываемости он составит
, но согласно примечанию окончательно модуль упругости бетона составит:
.
Арматура.
Предварительно напряженная арматура S1200: - А-VI - ∅15
Проволока ∅6,7 ВII
∅6 ВрII
нормативное сопротивление напрягаемой арматуры
;
расчетное сопротивление напрягаемой арматуры по пункту 9.1.4 СНБ 5.03.01-02 составит
;
Ненапрягаемая арматура:
S240
;
;
;
S400
;
;
;
S500
;
.
Определение нагрузок.
Постоянные нагрузки включают: вес кровли, теплоизоляционного ковра, вес железобетонных плит покрытия и собственный вес балки покрытия.
К временным нагрузкам относится вес снегового покрова. Согласно пункту 1.7 СНиП 2.01.07-85 “ Нагрузки и воздействия “ к длительно действующим нагрузкам относится снеговая нагрузка с пониженным нормативным значением, определяемым путем умножения полного нормативного значения
на коэффициент 0,7 для II - го снегового района.
гдеso - нормативное значение веса снегового покрова на 1 м2 горизонтальной поверхности земли, принимаемое в зависимости от района строительства. Согласно СНиП 2.01.07-85 карта 1 город Минск расположен во II-м снеговом районе. Нормативное значение снеговой нагрузки для него so 0,7 кПа;
μ - коэффициент перехода от скатной кровли к горизонтальной поверхности. Для расчета балки принимается μ = 1, так как α < 25°;
Таким образом, кратковременная нагрузка составит
Таблица 4
| № | Вид нагрузки | Нагрузка, кПа | |||
| Нормативная | Расчетная при f =1 | Расчетная при f >1 | |||
| 1 | Постоянная | 3.158 | 3.158 | 3.82 | |
| 2 | Временная: | 0,7 | 0,7 | 1,05 | |
| Полная | 3.858 | 3.858 | 4.87 | ||
Нормативная нагрузка от собственного веса балки
. Частный коэффициент безопасности для собственного веса конструкций заводского изготовления
. Тогда расчетная нагрузка составит
.
Расчетные нагрузки на 1м. п. длины балки определяем без учета снеговых мешков (так как здание без зенитного фонаря).
Нагрузку на балку условно считаем равномерно распределенной по длине, так как количество сосредоточенных усилий в местах опирания плит покрытия более пяти.
Расчетные нагрузки на балку определяем с учетом коэффициента надежности по назначению здания
.
Значения расчетных нагрузок на балку при
:
расчетная нагрузка на балку от собственного веса конструкций
;
снеговая временная нагрузка
:
полная нагрузка
.
Значения расчетных нагрузок на балку при
:
расчетная нагрузка на балку от собственного веса конструкций
;
снеговая нагрузка
:
полная нагрузка
.
Назначение геометрических размеров балки.
Геометрические размеры балки принимают исходя из размеров сечений балок по типовым сериям для покрытий одноэтажных зданий.
Определение усилий в сечениях балки
Расчетный пролет балки принимаем между серединами опорных закладных деталей, длина которых равна 150 мм.
Расчетными сечениями при расчете балки являются сечения I-I …V-V со следующими координатами сечений см. таблицу 5.
Таблица 5
| № сечения | Место расположения сечения | Расстояние от торца балки до сечения (мм) | Расстояние от опоры А до сечения (мм) |
| I - I | По грани опоры | 250 | 125 |
| II- II | В месте перехода опорного вута в стенку | 600 | 475 |
| III - III | В месте установки первой монтажной петли | 1475 | 1350 |
| IV - IV | В месте перехода к постоянной толщине стенки | 2750 | 2625 |
| V - V | Опасное сечение при расчете балки на расстоянии 0,37 расчетного пролета при уклоне 1: 12 0,37 24700 = 9139 | 9014 | 9139 |
| VI - VI | В середине пролета | 12225 | 12350 |
Изгибающие моменты и поперечные силы в сечениях балки определены при действии всех расчетных нагрузок. При этом:
,
где
- расстояние от опоры до сечения по расчетной схеме балки.
Изгибающие моменты и поперечные силы в расчетных сечениях балки приведены в таблице 6.
Таблица 6
| № сечения |
|
|
|
| ||
|
|
|
|
| |||
| I - I | 0,125 | 0,0071 | 78,79 | 98,59 | 627,09 | 784,72 |
| II- II | 0,475 | 0,0268 | 295,13 | 369,31 | 609,14 | 762,26 |
| III - III | 1,35 | 0,0763 | 808,49 | 1011,71 | 564,26 | 706,09 |
| IV - IV | 2,625 | 0,148 | 1486,22 | 1859,8 | 498,86 | 624,25 |
| V - V | 9,919 | 0,37 | 3647,45 | 4564,29 | 164,71 | 206,11 |
| V - V | 12,35 | 0,5 | 3911,9 | 4895,21 | 0 | 0 |
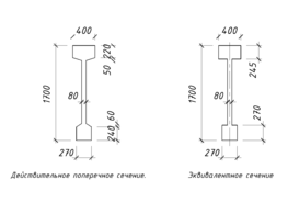
Предварительный подбор предварительно напряженной арматуры.
Продольную предварительно напряженную арматуру в балке с параллельными поясами подбирают по усилиям, действующим в опасном сечении, т.е. на расстоянии
от опоры. При этом действительное сечение заменяется эквивалентным.
Размеры поперечного сечения балки в расчетном сечении при подборе продольной арматуры и расчете прочности нормального сечения при действии изгибающего момента:
;
;
;
;
.
Высота балки в рассматриваемом сечении
,
где
- высота балки на торце.
Предварительно напряженная арматура в нижней полке размещается в четыре ряда.
Предварительно
принято равное расстоянию до центра тяжести арматуры; тогда рабочая высота сечения составит:
.
Назначение величины предварительных напряжений в напрягаемой арматуре.
Предварительные напряжения
назначаем в соответствии с требованиями п.9.2.1 СНБ 5.03.01-02.
;
.
При механическом способе натяжения арматуры
, тогда
;
.
Для определения
(п.7.1.2.4 СНБ 5.03.01-02) и
(п.9.1.4 СНБ 5.03.01-02) при предварительном подборе арматуры следует принимать ориентировочно суммарную величину потерь предварительного напряжения до их расчета в пределах:
, т.е. установившиеся напряжения в предварительно напряженной арматуре.
.
В расчетном случае, при
.















